вконтакте

Контактный телефон: +7 (981) 121-46-93, +7 (800) 200-90-76 , Email: parts-katalog@yandex.ru, где купить

 
 

  Логин:

Пароль:

Регистрация

www.partskatalog.ru Все каталоги Запчасти Mercury Запчасти Suzuki Запчасти Tohatsu Запчасти Honda Контакты



УВАЖАЕМЫЕ КЛИЕНТЫ!
C 19 ДЕКАБРЯ 2025 ПО 02 МАРТА 2026 ГОДА ОТДЕЛ ЗАПЧАСТЕЙ И СЕРВИС РАБОТАТЬ НЕ БУДУТ
ПРОДАЖА ЛОДОЧНЫХ МОТОРОВ В ШТАТНОМ РЕЖИМЕ
ОБ ИЗМЕНЕНИЯХ В ГРАФИКЕ РАБОТЫ ЧИТАЙТЕ НА САЙТА



назад Раздел:   вперёд

Модификация Вашего двигателя:   Honda BF50D EFI; SRYU
Модели с серийным номером двигателя от BEBEJ-1000001 до BEBEJ-
Модели с серийным номером рамы от BBEJ-1000001 до BBEJ-

Вернуться к выбору узлов мотора

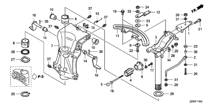
   Поворотный корпус
Swivel Case      


ДЕТАЛИРОВКА ДЛЯ МОДЕЛИ: HONDA BF50D

Подвесной лодочный 4x-тактный двигатель BF50D - Поворотный корпус / Swivel Case
Номер на
рисунке
АртикулНаименованиеКол-во
на складе
Цена
117852-ZW4-H10

Пластина рулевого управления (Plate, steering)

под заказ4770 руб. 
217853-ZV5-000

Рулевая тяга (Rod, steering)

1 шт13720 руб. 
350100-ZW4-H01

Монтажная рама (Frame comp., mounting)

под заказ62450 руб. 
450151-ZV5-000

Резинка, смонтированная сверху (Rubber comp., upper mounting)

под заказ12230 руб. 
550153-ZV5-000

Резинка, смонтированная сверху (b) (Rubber, upper mounting (b))

под заказ730 руб. 
650167-ZZ5-000

Держатель, смонтированный сверху (Holder, upper mounting)

под заказ5250 руб. 
750201-ZZ5-000ZA

Поворотный корпус *nh282mu* (Case, swivel *nh282mu*)

под заказ52690 руб. 
850211-ZZ5-000

Гильза поворотного корпуса (Liner, swivel case)

6 шт1530 руб. 
1050214-ZV5-003

Втулка поворотного корпуса (Bush, swivel case)

3 шт1210 руб. 
1350515-ZV5-000

Пружина рычага наклона (Spring, tilt lever)

под заказ800 руб. 
1450522-ZV5-000

Втулка рукоятки наклона (Bush, tilt arm)

под заказ840 руб. 
1550527-ZV5-000

Кронштейн наклона (Bracket, tilting)

под заказ1280 руб. 
1650529-ZW4-H00

Ограничитель наклона (Stopper, tilt)

под заказ13930 руб. 
1790101-ZV1-000

Болт под шестигранник., 6x18 (Bolt, hex., 6x18)

6 шт420 руб. 
1890101-ZV5-003

Специальный болт, 10x130 (Bolt, special, 10x130)

под заказ6670 руб. 
2090105-ZV5-000

Болт (3 / 8-24 unf) (Bolt (3/8-24 unf))

под заказ980 руб. 
2190106-HW1-671

Фланцевый болт, 10x25 (Bolt, flange, 10x25)

под заказ0 руб. 
2390302-ZV5-000

Гайка, (3 / 8-24 unf) (Nut, (3/8-24 unf))

под заказ2050 руб. 
2590306-ZW4-003

Гайка с фланцем, 10 мм (Nut, flange, 10mm)

под заказ1580 руб. 
2690307-ZV5-003

Гайка с замком (3 / 8-24unf) (Nut, self-lock (3/8-24unf))

под заказ860 руб. 
2790501-ZV5-000

Волнистая шайба, 40 мм (Washer, wave, 40mm)

2 шт1560 руб. 
2890501-ZW4-000

Плоская шайба, 10 мм (Washer, plain, 10mm)

под заказ510 руб. 
2990504-ZV5-000

Упорная шайба, 34 мм (Washer, thrust, 34mm)

1 шт1560 руб. 
3090506-ZV4-000

Плоская шайба, 6 мм (Washer, plain, 6mm)

4 шт380 руб. 
3190514-ZV4-000

Шайба, 10 мм (Washer, 10mm)

под заказ420 руб. 
3490544-ZV5-010

Специальная шайба (Washer, special)

под заказ0 руб. 
3590651-ZW4-000

Внешнее стопорное кольцо, 39 мм (Circlip, external, 39mm)

под заказ920 руб. 
3690752-ZW6-000

Стопор пружины, 2.5x20 (Pin, spring, 2.5x20)

под заказ220 руб. 
3790951-ZV7-010

Ниппель смазки (Nipple, grease)

5 шт460 руб. 
3891256-ZV5-003

Сальник, 39.5x52x6 (arai) (Oil seal, 39.5x52x6 (arai))

4 шт950 руб. 
3991560-ZV5-000

Воротник рулевой тяги (Collar, steering rod)

1 шт490 руб. 
350100-ZW4-H02

Монтажная рама (Frame comp., mounting)

под заказ53410 руб. 

Время выполнения запроса 8.1096510887146 сек.

 
 

данный сайт носит информационный характер и не является публичной офертой

склад запчастей для водомоторной техники