Контактный телефон: +7 (981) 121-46-93, +7 (800) 200-90-76 , Email: parts-katalog@yandex.ru, где купить |
Модификация Вашего двигателя: Honda BF50D EFI; LHTW Вернуться к выбору узлов мотора Водяной насос |
||||||||||||||||||||||||||||||||||||||||||||||||||||||||||||||||||||||||||||||||||||||||||||||||||||||||||||||||||||||||||||||||||||||||||||||||||||||||||||||||||||||||||||||||||||||||||||||||||||||||||||||||||||||||||||||||||||||||||||||||||||||||||||||||||||||||||||||||||||||||||||||||||||
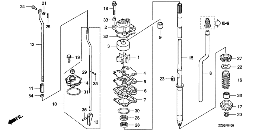
| Номер на рисунке | Артикул | Наименование | Кол-во на складе | Цена | |
| 1 | 19210-ZV5-003 | Крыльчатка водяной помпы (Impeller, pump) | 15 шт | 3870 руб. | |
| 1 | SK19210-ZV5-003 | (не оригинальный аналог) Крыльчатка Skipper для Honda BF35-60 Standard | 0 шт | 643 руб. | |
| 1 | T-500338 | (не оригинальный аналог) Крыльчатка помпы охлаждения двигателя Honda 500338 (CEF) | под заказ | 2380 руб. | |
| 1 | T-19210-ZV5-003 | (не оригинальный аналог) Крыльчатка помпы охлаждения двигателя Honda 19210-ZV5-003 (MIZASHI) | под заказ | по запросу | |
| 1 | T-18-3282 | (не оригинальный аналог) Ремкомплект насоса охлаждения Honda 18-3282 (Sierra) | под заказ | 4100 руб. | |
| 1 | T-SC-WT141 | (не оригинальный аналог) Крыльчатка помпы охлаждения двигателя Honda SC-WT141 (MIZASHI) | под заказ | 1020 руб. | |
| 2 | 19221-ZV5-000 | Корпус крыльчатки (Housing, impeller) | 2 шт | 4490 руб. | |
| 3 | 19223-ZV5-000 | Гильза помпы (Liner, pump) | 1 шт | 3180 руб. | |
| 4 | 19231-ZV5-000 | Колпак крыльчатки (Cover, impeller) | 4 шт | 2440 руб. | |
| 5 | 19233-ZV5-000 | Прокладка B крыльчатки (Gasket b, impeller) | 2 шт | 1170 руб. | |
| 6 | 19241-ZV5-000 | Корпус водяной помпы (Housing, water pump) | 4 шт | 5800 руб. | |
| 7 | 19242-ZV5-000 | Прокладка водяной помпы (Gasket, water pump) | 3 шт | 1170 руб. | |
| 8 | 19251-ZV5-701 | Водяная трубка (l) (Tube, water (l)) | под заказ | 9760 руб. | |
| 9 | 19253-ZV5-000 | Кольцо сальника водяной трубки (Ring, water tube seal) | 2 шт | 740 руб. | |
| 10 | 24310-ZV5-702 | Переключающая тяга (l) (Rod comp., shift (l)) | под заказ | 26330 руб. | |
| 11 | 24312-ZV5-000 | Соеденитель переключающей тяги (Joint, shift rod) | под заказ | 2900 руб. | |
| 12 | 24320-ZV5-000 | Переключающая тяга A (Rod a, shift) | под заказ | 7120 руб. | |
| 13 | 24341-ZV5-701 | Тяга толкателя (Rod, push) | под заказ | 12210 руб. | |
| 14 | 24343-ZW4-000 | Держатель сальника (Holder, seal) | под заказ | 11630 руб. | |
| 15 | 41112-ZV5-701 | Вертикальный вал (l) (Shaft, vertical (l)) | 1 шт | 95050 руб. | |
| 16 | 41116-ZV5-000 | Маслоотражатель (Slinger, oil) | под заказ | 2710 руб. | |
| 17 | 41131-ZV5-000 | Шестерня (Gear, pinion) | 4 шт | 19310 руб. | |
| 18 | 90103-ZY1-000 | Болт с шайбой, 6x40 (Bolt-washer, 6x40) | 20 шт | 1180 руб. | |
| 19 | 90105-ZW9-000 | Фланцевый болт, 6x20 (Bolt, flange, 6x20) | 2 шт | 640 руб. | |
| 20 | 90303-ZV5-000 | Специальная гайка (12 мм) (Nut, special (12mm)) | 8 шт | 1680 руб. | |
| 21 | 90452-GK4-600 | Плоская шайба, 5 мм (Washer, plain, 5mm) | под заказ | 250 руб. | |
| 22 | 90518-ZV5-000 | Регулировочная шайба шестерни (a) (40x46x0.10) (Shim, gear (a) (40x46x0.10)) | 4 шт | 1170 руб. | |
| 22 | 90519-ZV5-000 | Регулировочная шайба шестерни (b) (40x46x0.15) (Shim, gear (b) (40x46x0.15)) | 1 шт | 1170 руб. | |
| 22 | 90520-ZV5-000 | Регулировочная шайба шестерни (c) (40x46x0.30) (Shim, gear (c) (40x46x0.30)) | под заказ | 1170 руб. | |
| 22 | 90521-ZV5-000 | Регулировочная шайба шестерни (d) (40x46x0.50) (Shim, gear (d) (40x46x0.50)) | 4 шт | 1100 руб. | |
| 23 | 90752-ZV5-003 | Ключ, woodruff (Key, woodruff) | 7 шт | 1520 руб. | |
| 24 | 90754-921-010 | Штифт, 5x17 (Pin, 5x17) | под заказ | 790 руб. | |
| 25 | 90756-921-000 | Стопорный шплинт, 1.6 мм (Pin, split, 1.6mm) | под заказ | 130 руб. | |
| 26 | 91052-ZV5-003 | Подшипник, игольчатый (7 / 8x11 / 8x1) (Bearing, needle (7/8x11/8x1)) | под заказ | 5620 руб. | |
| 26 | B1416NSK | (подбор по маркировке) Подшипник NSK B-1416(22,225*28,575*25.4 мм) | под заказ | 0 | |
| 27 | 91054-ZV5-003 | Подшипник, 25x47x15 (Bearing, 25x47x15) | 2 шт | 3320 руб. | |
| 27 | 4T32005XNTN | (подбор по маркировке) Подшипник NTN 4T 32005X(25*47*15 мм) | под заказ | 0 | |
| 28 | 91251-ZV5-003 | Сальник, 17x30x7 (Seal, water, 17x30x7) | 24 шт | 670 руб. | |
| 29 | 91253-ZW4-003 | Сальник, 7 мм (Seal, water, 7mm) | 9 шт | 1580 руб. | |
| 30 | 91351-740-003 | Уплотнительное кольцо, 41.7x3.5 (O-ring, 41.7x3.5) | 3 шт | 610 руб. | |
| 31 | 91353-ZV5-003 | Уплотнительное кольцо, 47x3.1 (O-ring, 47x3.1) | под заказ | 550 руб. | |
| 32 | 91356-ZV5-000 | Уплотнительное кольцо водяной помпы (O-ring, water pump) | 3 шт | 710 руб. | |
| 33 | 91555-ZV5-000 | Воротник корпуса крыльчатки (Collar, impeller housing) | 17 шт | 620 руб. | |
| 34 | 94002-084-900-S | Шестигранная гайка, 8 мм (Nut, hex., 8mm) | под заказ | 230 руб. | |
| 35 | 94305-20122 | Стопор пружины, 2x12 (Pin, spring, 2x12) | под заказ | 210 руб. | |
| 36 | 96220-30148 | Ролик, 3x14.8 (Roller, 3x14.8) | под заказ | 50 руб. | |
Время выполнения запроса 0.63540506362915 сек.
склад запчастей для водомоторной техники