вконтакте

Контактный телефон: +7 (981) 121-46-93, +7 (800) 200-90-76 , Email: parts-katalog@yandex.ru, где купить

 
 

  Логин:

Пароль:

Регистрация

www.partskatalog.ru Все каталоги Запчасти Mercury Запчасти Suzuki Запчасти Tohatsu Запчасти Honda Контакты



УВАЖАЕМЫЕ КЛИЕНТЫ!
C 19 ДЕКАБРЯ 2025 ПО 02 МАРТА 2026 ГОДА ОТДЕЛ ЗАПЧАСТЕЙ И СЕРВИС РАБОТАТЬ НЕ БУДУТ
ПРОДАЖА ЛОДОЧНЫХ МОТОРОВ В ШТАТНОМ РЕЖИМЕ
ОБ ИЗМЕНЕНИЯХ В ГРАФИКЕ РАБОТЫ ЧИТАЙТЕ НА САЙТА



назад Раздел:   вперёд

Модификация Вашего двигателя:   Honda BF50D EFI; SRTW
Модели с серийным номером двигателя от BEBEJ-1000001 до BEBEJ-
Модели с серийным номером рамы от BBEJ-1000001 до BBEJ-

Вернуться к выбору узлов мотора

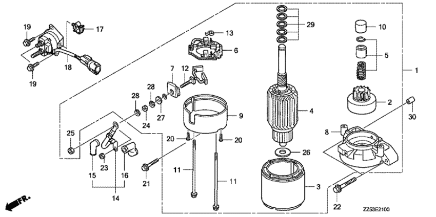
   Двигатель стартера
Starter Motor      


ДЕТАЛИРОВКА ДЛЯ МОДЕЛИ: HONDA BF50D

Двигатель BF50D - Двигатель стартера / Starter Motor
Номер на
рисунке
АртикулНаименованиеКол-во
на складе
Цена
131200-ZZ5-003

Электростартер, в сборе (Motor assy., starter)

под заказ173050 руб. 
231207-ZV5-013

Сцепление перепробега (Clutch comp., overrunning)

под заказ54250 руб. 
331216-ZV5-013

Обойма (Yoke comp.)

под заказ62430 руб. 
431217-ZV5-013

Якорь (Armature comp.)

под заказ72680 руб. 
531225-ZV5-013

Стопор set, Шестерня (Stopper set, pinion)

под заказ3780 руб. 
631231-ZV5-013

Держатель щётки, комплект (Holder comp., brush)

под заказ13680 руб. 
731233-ZV5-003

Втулка (m) (Bush (m))

под заказ2220 руб. 
831235-ZZ5-003

Кронштейн, передний (Bracket comp., fr.)

под заказ0 руб. 
931236-ZV5-013

Кронштейн comp., rr. (Bracket comp., rr.)

под заказ28770 руб. 
1031239-ZV5-003

Колпачок, Стопор (Cap, stopper)

под заказ1750 руб. 
1131261-ZV5-003

Сквозной болт (Bolt, through)

под заказ980 руб. 
1231295-ZV5-013

Комплект щёток (Brush comp.)

под заказ6400 руб. 
1331298-ZV5-013

Пружина щётки (Spring, brush)

под заказ460 руб. 
1432402-ZZ5-000

Провод магнитного переключателя (Cord, magnet switch)

под заказ0 руб. 
1532411-402-000

Крышка клеммы электростартера (Cover, starting motor terminal)

под заказ180 руб. 
1632412-ZV5-003

Крышка магнитного переключателя (Cover, magnetic switch)

под заказ0 руб. 
1732660-MJ6-710

Фиксатор провода (Clamper, cord)

под заказ600 руб. 
1835850-ZZ5-003

Выключатель магнитного переключателя, в сборе (Switch assy., starter magnetic)

под заказ13170 руб. 
1990011-ZW9-000

Фланцевый болт, 6x14 (ct200) (Bolt, flange, 6x14 (ct200))

под заказ370 руб. 
2090015-ZV5-003

Винт, 4 мм (Screw, 4mm)

под заказ220 руб. 
2190016-ZY3-000

Фланцевый болт, 6x28 (Bolt, flange, 6x28)

2 шт250 руб. 
2290126-ZW4-000

Фланцевый болт, 8x45 (Bolt, flange, 8x45)

под заказ350 руб. 
2390203-ZV5-000

Шестигранная гайка, 6 мм (Nut, hex., 6mm)

под заказ0 руб. 
2490204-ZV5-003

Гайка (1) (Nut (1))

под заказ0 руб. 
2590205-ZV5-003

Гайка (2) (Nut (2))

под заказ0 руб. 
2690404-ZV5-003

Шайба, rr. (Washer, rr.)

под заказ590 руб. 
2790407-ZV5-003

Шайба (1) (Washer (1))

под заказ0 руб. 
2890408-ZV5-003

Шайба (2) (Washer (2))

под заказ0 руб. 
2990409-ZV5-013

Шайба set, thrust (Washer set, thrust)

под заказ2180 руб. 
3094301-10160

Шпонка (Dowel pin)

10 шт210 руб. 

Время выполнения запроса 3.0482430458069 сек.

 
 

данный сайт носит информационный характер и не является публичной офертой

склад запчастей для водомоторной техники