вконтакте

Контактный телефон: +7 (981) 121-46-93, +7 (800) 200-90-76 , Email: parts-katalog@yandex.ru, где купить

 
 

  Логин:

Пароль:

Регистрация

www.partskatalog.ru Все каталоги Запчасти Mercury Запчасти Suzuki Запчасти Tohatsu Запчасти Honda Контакты



УВАЖАЕМЫЕ КЛИЕНТЫ!
C 19 ДЕКАБРЯ 2025 ПО 02 МАРТА 2026 ГОДА ОТДЕЛ ЗАПЧАСТЕЙ И СЕРВИС РАБОТАТЬ НЕ БУДУТ
ПРОДАЖА ЛОДОЧНЫХ МОТОРОВ В ШТАТНОМ РЕЖИМЕ
ОБ ИЗМЕНЕНИЯХ В ГРАФИКЕ РАБОТЫ ЧИТАЙТЕ НА САЙТА



назад Раздел:   вперёд

Модификация Вашего двигателя:   Honda BF50A4 LRTW
Модели с серийным номером двигателя от BAZE-3000001 до BAZE-
Модели с серийным номером рамы от BAZS-3400001 до BAZS-3499999

Вернуться к выбору узлов мотора

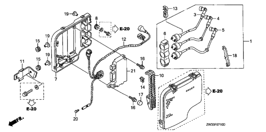
   Катушка зажигания
Ignition Coil      


ДЕТАЛИРОВКА ДЛЯ МОДЕЛИ: HONDA BF50A4

Подвесной fourstroke лодочный мотор BF50A4 - Ignition Coil / Катушка зажигания
Номер на
рисунке
АртикулНаименованиеКол-во
на складе
Цена
130500-ZW4-H01

Катушка зажигания, в сборе (Coil assy., ignition)

под заказ18550 руб. 
330511-ZV5-003

Катушка зажигания, комплект (1) (Coil comp., ignition (1))

под заказ4670 руб. 
430512-ZV5-003

Катушка зажигания, комплект (2) (Coil comp., ignition (2))

под заказ4670 руб. 
530513-ZV5-003

Катушка зажигания, комплект (3) (Coil comp., ignition (3))

под заказ4670 руб. 
630516-ZV5-003

Подвес катушки зажигания (Suspension, ignition coil)

1 шт1600 руб. 
730587-ZV5-003

Корпус модуля C.D.I. (Case, c.d.i. unit)

под заказ7560 руб. 
830598-ZV5-000

Пыльник корпуса модуля C.D.I. (b) (Grommet, c.d.i. unit case (b))

под заказ910 руб. 
1032106-ZV5-010

Кронштейн коннектора (a) (Bracket, connector (a))

под заказ1880 руб. 
1132113-ZW4-H00

Кронштейн предохранителя (Bracket, fuse)

под заказпо запросу 
1232160-ZW4-H11

Электропроводка модуля C.D.I. (Cable assy., c.d.i. unit)

под заказ10390 руб. 
1432805-413-000

Зажим кабеля мигающего светового сигнала (Clip, winker cord)

под заказ110 руб. 
1540102-ZV5-000

Пыльник под корпусом (Grommet, under case)

под заказ430 руб. 
1690018-ZW5-000

Фланцевый болт, 6x20 (Bolt, flange, 6x20)

под заказ290 руб. 
1790082-ZW4-H01

Колпчок болта, 6 мм (Cap, bolt, 6mm)

под заказ720 руб. 
1890601-ZV5-000

Зажим высоковольтного провода (Clip, high tension cord)

под заказпо запросу 
1991553-ZV5-010

Воротниковая втулка корпуса модуля C.D.I. (Collar, c.d.i. unit case)

под заказ580 руб. 
2130400-ZW4-H02

Блок управления C.D.I. (C.d.i. unit)

под заказ103060 руб. 
2130400-ZW4-H03

(последний код) C.D.I. UNIT

под заказ99450 руб. 

Время выполнения запроса 0.69303798675537 сек.

 
 

данный сайт носит информационный характер и не является публичной офертой

склад запчастей для водомоторной техники