Контактный телефон: +7 (981) 121-46-93, +7 (800) 200-90-76 , Email: parts-katalog@yandex.ru, где купить |
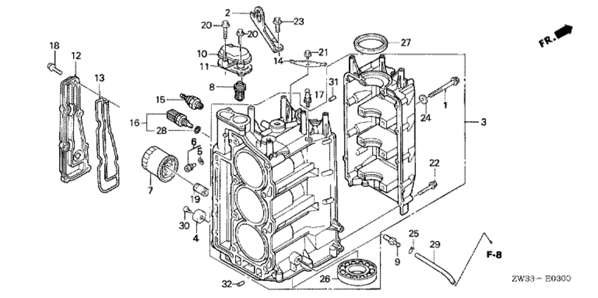
Модификация Вашего двигателя: Honda BF50A4 SRTW Вернуться к выбору узлов мотора Блок цилиндра |
||||||||||||||||||||||||||||||||||||||||||||||||||||||||||||||||||||||||||||||||||||||||||||||||||||||||||||||||||||||||||||||||||||||||||||||||||||||||||||||||||||||||||||||||||||||||||||||||||||||||||||||||||||||||||||||||||||||||||||||||||||||||||||||||||||||||||||||||||||||||||||||||||||||||||||||||||||||||
| Номер на рисунке | Артикул | Наименование | Кол-во на складе | Цена | |
| 1 | 11115-ZV5-014 | Фланцевый болт, 8x95 (Bolt, flange, 8x95) | под заказ | 510 руб. | |
| 1 | 11115-ZZ5-M01 | (последний код) БОЛТ, ФЛАНЕЦ, 8X94 0 | под заказ | 630 руб. | |
| 2 | 11911-ZV5-010 | Подвес двигателя (Hanger, engine) | под заказ | 0 руб. | |
| 3 | 12000-ZW4-405ZA | Блок цилиндров в сборе (частично) *nh8 * (Block assy., cylinder *nh8 *) | под заказ | 253000 руб. | |
| 4 | 12155-ZV5-000 | Металлический анод (Metal, anode) | 1 шт | 1370 руб. | |
| 5 | 15142-PE0-000 | Уплотнительное кольцо (O-ring) | под заказ | 320 руб. | |
| 6 | 15150-ZV5-000 | Сопло масляного пути (Orifice assy., oil path) | под заказ | 1900 руб. | |
| 7 | 15400-PFB-014 | Картридж масляного фильтра (toyo roki) (Cartridge, oil filter (toyo roki)) | 1 шт | 2530 руб. | |
| 7 | 15400-ZZ3-003 | (последний код) CARTRIDGE, OIL FILTER (TO | 145 шт | 2530 руб. | |
| 7 | W67/1 | (не оригинальный аналог) Масляный фильтр W67/1 | 21 шт | 500 руб. | |
| 7 | T-AT-07067 | (не оригинальный аналог) Масляный фильтр Arctic Cat / Kawasaki / Yamaha AT-07067 (Bronco) | под заказ | 990 руб. | |
| 7 | T-615-110 | (не оригинальный аналог) Масляный фильтр Mercury / Honda 615-110 (WSM) | под заказ | 1590 руб. | |
| 7 | T-15400-PFB-014 | (не оригинальный аналог) Масляный фильтр Honda 15400-PFB-014 (MIZASHI) | под заказ | по запросу | |
| 7 | T-10-82230 | (не оригинальный аналог) Фильтр масляный 10-82230 (EMGO) | под заказ | 620 руб. | |
| 7 | T-10-82240 | (не оригинальный аналог) Фильтр масляный 10-82240 (EMGO) | под заказ | 620 руб. | |
| 7 | T-18-7913 | (не оригинальный аналог) Масляный фильтр Mercury / / Mariner / Honda 18-7913 (Sierra) | под заказ | 940 руб. | |
| 7 | T-55-1321 | (не оригинальный аналог) Масляный фильтр 55-1321 (WSM) | под заказ | 1230 руб. | |
| 7 | T-AT-MZ1439 | (не оригинальный аналог) Масляный фильтр Arctic Cat / Kawasaki / Yamaha AT-MZ1439 (MIZASHI) | под заказ | 530 руб. | |
| 7 | T-AT-MZ1424 | (не оригинальный аналог) Масляный фильтр Arctic Cat / Kawasaki / Yamaha AT-MZ1424 (MIZASHI) | под заказ | 600 руб. | |
| 7 | T-SC-OT227 | (не оригинальный аналог) Масляный фильтр Honda / Kawasaki / Polaris / Yamaha SC-OT227 | под заказ | по запросу | |
| 7 | T-SC-CN036 | (не оригинальный аналог) Масляный фильтр Honda SC-CN036 | под заказ | по запросу | |
| 8 | 19300-ZW9-003 | Термостат в сборе. (Thermostat assy.) | под заказ | 7770 руб. | |
| 9 | 19312-ZW4-H00 | Соеденитель водяной трубки (Joint, water tube) | под заказ | 1600 руб. | |
| 10 | 19315-ZV5-010ZA | Крышка термостата *nh8 * (Cover, thermostat *nh8 *) | под заказ | 6200 руб. | |
| 10 | 19315-ZV5-010 | Крышка термостата (Cover, thermostat) | под заказ | 6200 руб. | |
| 11 | 19351-ZV5-000 | Прокладка крышки термостата (Gasket, thermostat cover) | 6 шт | 350 руб. | |
| 12 | 19361-ZV5-000ZA | Крышка водяной рубашки *nh8 * (Cover, water jacket *nh8 *) | под заказ | по запросу | |
| 12 | 19361-ZV5-000 | Крышка водяной рубашки (Cover, water jacket) | под заказ | 12390 руб. | |
| 13 | 19371-ZV5-000 | Прокладка крышки водяной рубашки (Packing, water jacket cover) | 1 шт | 1930 руб. | |
| 14 | 32116-ZV5-010 | Держатель корда (a) (Holder, cord (a)) | под заказ | по запросу | |
| 15 | 35490-ZW5-003 | Выключатель при низком давлении масла (Switch assy., oil pressure) | 2 шт | 5820 руб. | |
| 16 | 35673-ZW5-003 | Датчик температуры воды, в сборе (Sensor assy., water temperature) | 2 шт | 2580 руб. | |
| 17 | 90012-ZV5-013 | Болт регулировочной пружины ремня распредвала (Bolt, timing belt adjusting spring) | под заказ | 670 руб. | |
| 18 | 90012-ZW9-000 | Фланцевый болт, 6x22 (ct200) (Bolt, flange, 6x22 (ct200)) | под заказ | 420 руб. | |
| 18 | 90012-ZW9-020 | (последний код) BOLT, FLANGE, 6X22 (CT200 | под заказ | 520 руб. | |
| 19 | 90018-PN3-000 | Крепление масляного фильтра (Holder, oil filter) | под заказ | 980 руб. | |
| 20 | 90018-ZW5-000 | Фланцевый болт, 6x20 (Bolt, flange, 6x20) | под заказ | 290 руб. | |
| 21 | 90122-ZV1-010 | Фланцевый болт, 6x12 (Bolt, flange, 6x12) | под заказ | 280 руб. | |
| 22 | 90145-ZW4-000 | Фланцевый болт, 6x40 (Bolt, flange, 6x40) | под заказ | 290 руб. | |
| 23 | 90150-ZW4-000 | Фланцевый болт, 8x18 (Bolt, flange, 8x18) | под заказ | 0 руб. | |
| 24 | 90405-ZV5-010 | Плоская шайба, 8 мм (Washer, plain, 8mm) | 5 шт | 420 руб. | |
| 25 | 90603-ZV4-000 | Зажим трубки (b10) (Clip, tube (b10)) | под заказ | 270 руб. | |
| 26 | 91003-ZV5-003 | Подшипник, радиальный шариковый, 6005 (Bearing, radial ball, 6005) | 1 шт | 2980 руб. | |
| 27 | 91202-ZV5-005 | Сальник, 56x70x8 (Oil seal, 56x70x8) | 5 шт | 1330 руб. | |
| 28 | 91307-PK2-005 | Уплотнительное кольцо (O-ring) | 1 шт | 430 руб. | |
| 29 | 91402-ZW4-H00 | Трубка контроля воды (Tube, water check) | под заказ | по запросу | |
| 30 | 93500-060184J | Винт с чашечкой, 6x18 (Screw, pan, 6x18) | под заказ | 240 руб. | |
| 31 | 94301-10120 | Шпонка (Dowel pin) | под заказ | 270 руб. | |
| 32 | 94301-12160 | Штифт a (Pin a) | под заказ | 270 руб. | |
Время выполнения запроса 2.6571469306946 сек.
склад запчастей для водомоторной техники