вконтакте

Контактный телефон: +7 (981) 121-46-93, +7 (800) 200-90-76 , Email: parts-katalog@yandex.ru, где купить

 
 

  Логин:

Пароль:

Регистрация

www.partskatalog.ru Все каталоги Запчасти Mercury Запчасти Suzuki Запчасти Tohatsu Запчасти Honda Контакты



УВАЖАЕМЫЕ КЛИЕНТЫ!
C 19 ДЕКАБРЯ 2025 ПО 02 МАРТА 2026 ГОДА ОТДЕЛ ЗАПЧАСТЕЙ И СЕРВИС РАБОТАТЬ НЕ БУДУТ
ПРОДАЖА ЛОДОЧНЫХ МОТОРОВ В ШТАТНОМ РЕЖИМЕ
ОБ ИЗМЕНЕНИЯХ В ГРАФИКЕ РАБОТЫ ЧИТАЙТЕ НА САЙТА



назад Раздел:   вперёд

Модификация Вашего двигателя:   Honda BF50A4 LBTD
Модели с серийным номером двигателя от BAZE-3000001 до BAZE-9999999
Модели с серийным номером рамы от BAZL-3400001 до BAZL-3999999

Вернуться к выбору узлов мотора

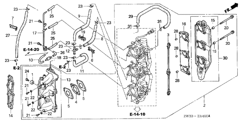
   Карбюратор в сборе.
Carburetor Assy.      


ДЕТАЛИРОВКА ДЛЯ МОДЕЛИ: HONDA BF50A4

Лодочный  мотор HONDA BF50A4 - Карбюратор в сборе. - Carburetor Assy.
Номер на
рисунке
АртикулНаименованиеКол-во
на складе
Цена
112155-ZV5-000

Металлический анод (Metal, anode)

1 шт1370 руб. 
216100-ZW4-H02ZA

Карбюратор в сборе. (bg31d b) *nh8 * (Carburetor assy. (bg31d b) *nh8 *)

под заказ187550 руб. 
216100-ZW4-H03ZA

Карбюратор в сборе. (bg31d c) *nh8 * (Carburetor assy. (bg31d c) *nh8 *)

под заказпо запросу 
216100-ZW4-H04ZA

Карбюратор в сборе. (bg31d d) *nh8 * (Carburetor assy. (bg31d d) *nh8 *)

под заказ121190 руб. 
316142-ZW4-H01

Рычаг тяги (Lever comp., link)

под заказ7070 руб. 
416211-ZW4-000

Изолятор карбюратора (Insulator, carburetor)

6 шт1120 руб. 
516221-ZW4-000

Прокладка карбюратора (Packing, carburetor)

3 шт690 руб. 
616223-ZV5-000

Струбцина топливной трубки (a) (Clamp, fuel tube (a))

под заказ670 руб. 
716815-ZV5-010

Струбцина топливной трубки (Clamp, fuel tube)

под заказ740 руб. 
716815-ZV5-020

(последний код) Clamp, fuel tube

под заказ0 руб. 
816870-ZW4-H00

Трубка comp. c, fuel (Tube comp. c, fuel)

под заказ480 руб. 
916880-ZW4-H00

Трубка comp. f, fuel (Tube comp. f, fuel)

под заказпо запросу 
1016881-ZV5-000

Топливная трубка D (Tube d, fuel)

под заказ730 руб. 
1116896-ZW4-H00

Топливная трубка E (Tube e, fuel)

под заказ860 руб. 
1216960-ME9-000

Трубка соеденительного тройника (Pipe, three way joint)

под заказ2720 руб. 
1317100-ZW4-H00ZA

Впускной коллектор *nh8 * (Manifold assy., intake *nh8 *)

под заказпо запросу 
1417151-ZV5-000

Прокладка впускного коллектора (Packing, intake manifold)

4 шт1130 руб. 
1517202-ZV5-310

Промежуточный воротник, 6.5x11x7.5 (Collar, distance, 6.5x11x7.5)

под заказ740 руб. 
1617384-ZV5-000

Прокладка пластины глушителя (Packing, silencer plate)

2 шт3860 руб. 
1717881-ZV5-010

Установочная трубка (Pipe, install)

под заказ7130 руб. 
1836135-ZV5-004

Клапан контроля амортизатора (Valve, dashpot check)

под заказ2360 руб. 
1947585-SJ6-003

Зажим (Clip)

под заказ450 руб. 
2090021-ZV5-010

Фланцевый болт, 6x97 (Bolt, flange, 6x97)

под заказ670 руб. 
2190181-ZW4-000

Винт с чашечкой, 5x10 (Screw, pan, 5x10)

под заказ150 руб. 
2290452-323-000

Шайба уплотнения, 5 мм (Washer, sealing, 5mm)

под заказ120 руб. 
2390603-ZV4-000

Зажим трубки (b10) (Clip, tube (b10))

под заказ270 руб. 
2493500-060184J

Винт с чашечкой, 6x18 (Screw, pan, 6x18)

под заказ240 руб. 
2595001-350-454-0

Топливный шланг, 3.5x45 (95001-35001-60m) (Tube, fuel, 3.5x45 (95001-35001-60m))

под заказ640 руб. 
2695001-350-604-0

Топливный шланг, 3.5x60 (95001-35001-60m) (Tube, fuel, 3.5x60 (95001-35001-60m))

под заказпо запросу 
2795001-552-404-0

Топливный шланг, 5.3x240 (95001-55001-60m) (Tube, fuel, 5.3x240 (95001-55001-60m))

под заказпо запросу 
2896220-60150

Ролик, 6x15 (Roller, 6x15)

под заказ50 руб. 
2916891-ZW4-H00

Трубка, byСтартер (Tube, bystarter)

под заказ840 руб. 
3017380-ZW4-H00

Пластина глушителя (Plate comp., silencer)

под заказ11690 руб. 

Время выполнения запроса 2.1704041957855 сек.

 
 

данный сайт носит информационный характер и не является публичной офертой

склад запчастей для водомоторной техники