вконтакте

Контактный телефон: +7 (981) 121-46-93, +7 (800) 200-90-76 , Email: parts-katalog@yandex.ru, где купить

 
 

  Логин:

Пароль:

Регистрация

www.partskatalog.ru Все каталоги Запчасти Mercury Запчасти Suzuki Запчасти Tohatsu Запчасти Honda Контакты

назад Раздел:   вперёд

Модификация Вашего двигателя:   Honda BF45AM LRTB
Модели с серийным номером двигателя от BAFE-1000001 до BAFE-1099999
Модели с серийным номером рамы от BLAF-1000001 до BLAF-1099999

Вернуться к выбору узлов мотора

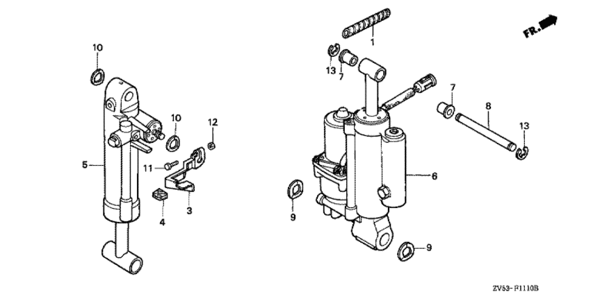
   Управление наклоном / Демпфер
Power Tilt / Damper      


ДЕТАЛИРОВКА ДЛЯ МОДЕЛИ: HONDA BF45AM

Подвесной четырёхтактный лодочный мотор BF45AM - Управление наклоном / Демпфер - Power Tilt / Damper
Номер на
рисунке
АртикулНаименованиеКол-во
на складе
Цена
136104-ZV5-821

Спиральная трубка (Tube, spiral)

под заказ1280 руб. 
656000-ZV5-821ZA

Система дифферента и наклона двигателя *nh283 * (Trim-tilt assy., power *nh283 *)

под заказ234370 руб. 
756512-ZV5-000

Втулка верхнего цилиндра (Bush, upper cylinder)

5 шт650 руб. 
856532-ZV5-000

Штифт верхнего цилиндра (Pin, upper cylinder)

под заказ2260 руб. 
856532-ZZ5-C00

(последний код) PIN, UPPER CYLINDER

под заказ2260 руб. 
990502-ZV5-000

Волнистая шайба, 26 мм (Washer, wave, 26mm)

под заказ1780 руб. 
1394540-10029

Уплотнительное кольцо, 10 мм (E-ring, 10mm)

под заказ880 руб. 

Время выполнения запроса 1.8677608966827 сек.

 
 

данный сайт носит информационный характер и не является публичной офертой

склад запчастей для водомоторной техники