Контактный телефон: +7 (981) 121-46-93, +7 (800) 200-90-76 , Email: parts-katalog@yandex.ru, где купить |
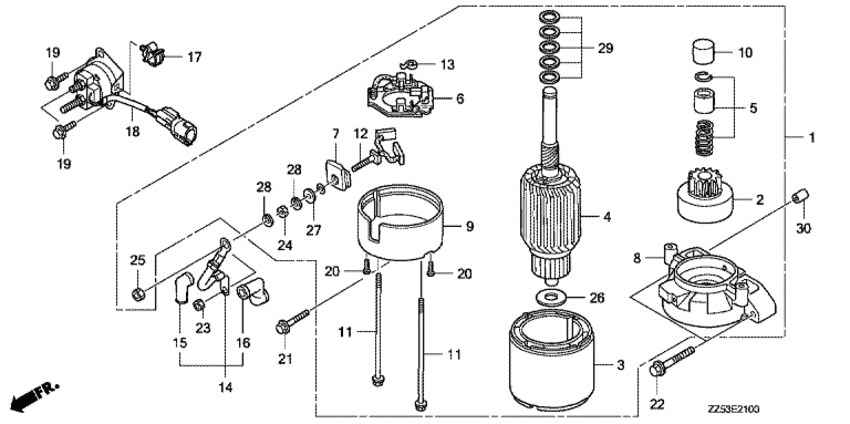
Модификация Вашего двигателя: Honda BF40D EFI; SRTW Вернуться к выбору узлов мотора Двигатель стартера |
|||||||||||||||||||||||||||||||||||||||||||||||||||||||||||||||||||||||||||||||||||||||||||||||||||||||||||||||||||||||||||||||||||||||||||||||||||||||||||||||||||||||||||||||||||||||||||||||||||||||
| Номер на рисунке | Артикул | Наименование | Кол-во на складе | Цена | |
| 1 | 31200-ZZ5-003 | Электростартер, в сборе (Motor assy., starter) | под заказ | 173050 руб. | |
| 2 | 31207-ZV5-013 | Сцепление перепробега (Clutch comp., overrunning) | под заказ | 54250 руб. | |
| 3 | 31216-ZV5-013 | Обойма (Yoke comp.) | под заказ | 62430 руб. | |
| 4 | 31217-ZV5-013 | Якорь (Armature comp.) | под заказ | 72680 руб. | |
| 5 | 31225-ZV5-013 | Стопор set, Шестерня (Stopper set, pinion) | под заказ | 3780 руб. | |
| 6 | 31231-ZV5-013 | Держатель щётки, комплект (Holder comp., brush) | под заказ | 13680 руб. | |
| 7 | 31233-ZV5-003 | Втулка (m) (Bush (m)) | под заказ | 2220 руб. | |
| 8 | 31235-ZZ5-003 | Кронштейн, передний (Bracket comp., fr.) | под заказ | 0 руб. | |
| 9 | 31236-ZV5-013 | Кронштейн comp., rr. (Bracket comp., rr.) | под заказ | 28770 руб. | |
| 10 | 31239-ZV5-003 | Колпачок, Стопор (Cap, stopper) | под заказ | 1750 руб. | |
| 11 | 31261-ZV5-003 | Сквозной болт (Bolt, through) | под заказ | 980 руб. | |
| 12 | 31295-ZV5-013 | Комплект щёток (Brush comp.) | под заказ | 6400 руб. | |
| 13 | 31298-ZV5-013 | Пружина щётки (Spring, brush) | под заказ | 460 руб. | |
| 14 | 32402-ZZ5-000 | Провод магнитного переключателя (Cord, magnet switch) | под заказ | 0 руб. | |
| 15 | 32411-402-000 | Крышка клеммы электростартера (Cover, starting motor terminal) | под заказ | 180 руб. | |
| 16 | 32412-ZV5-003 | Крышка магнитного переключателя (Cover, magnetic switch) | под заказ | 0 руб. | |
| 17 | 32660-MJ6-710 | Фиксатор провода (Clamper, cord) | под заказ | 600 руб. | |
| 18 | 35850-ZZ5-003 | Выключатель магнитного переключателя, в сборе (Switch assy., starter magnetic) | под заказ | 13170 руб. | |
| 19 | 90011-ZW9-000 | Фланцевый болт, 6x14 (ct200) (Bolt, flange, 6x14 (ct200)) | под заказ | 370 руб. | |
| 20 | 90015-ZV5-003 | Винт, 4 мм (Screw, 4mm) | под заказ | 220 руб. | |
| 21 | 90016-ZY3-000 | Фланцевый болт, 6x28 (Bolt, flange, 6x28) | 2 шт | 250 руб. | |
| 22 | 90126-ZW4-000 | Фланцевый болт, 8x45 (Bolt, flange, 8x45) | под заказ | 350 руб. | |
| 23 | 90203-ZV5-000 | Шестигранная гайка, 6 мм (Nut, hex., 6mm) | под заказ | 0 руб. | |
| 24 | 90204-ZV5-003 | Гайка (1) (Nut (1)) | под заказ | 0 руб. | |
| 25 | 90205-ZV5-003 | Гайка (2) (Nut (2)) | под заказ | 0 руб. | |
| 26 | 90404-ZV5-003 | Шайба, rr. (Washer, rr.) | под заказ | 590 руб. | |
| 27 | 90407-ZV5-003 | Шайба (1) (Washer (1)) | под заказ | 0 руб. | |
| 28 | 90408-ZV5-003 | Шайба (2) (Washer (2)) | под заказ | 0 руб. | |
| 29 | 90409-ZV5-013 | Шайба set, thrust (Washer set, thrust) | под заказ | 2180 руб. | |
| 30 | 94301-10160 | Шпонка (Dowel pin) | 10 шт | 210 руб. | |
Время выполнения запроса 0.80784010887146 сек.
склад запчастей для водомоторной техники