вконтакте

Контактный телефон: +7 (981) 121-46-93, +7 (800) 200-90-76 , Email: parts-katalog@yandex.ru, где купить

 
 

  Логин:

Пароль:

Регистрация

www.partskatalog.ru Все каталоги Запчасти Mercury Запчасти Suzuki Запчасти Tohatsu Запчасти Honda Контакты

назад Раздел:   вперёд

Модификация Вашего двигателя:   Honda BF40A4 LHD
Модели с серийным номером двигателя от BAYE-3000001 до BAYE-
Модели с серийным номером рамы от BAYL-3400001 до BAYL-3999999

Вернуться к выбору узлов мотора

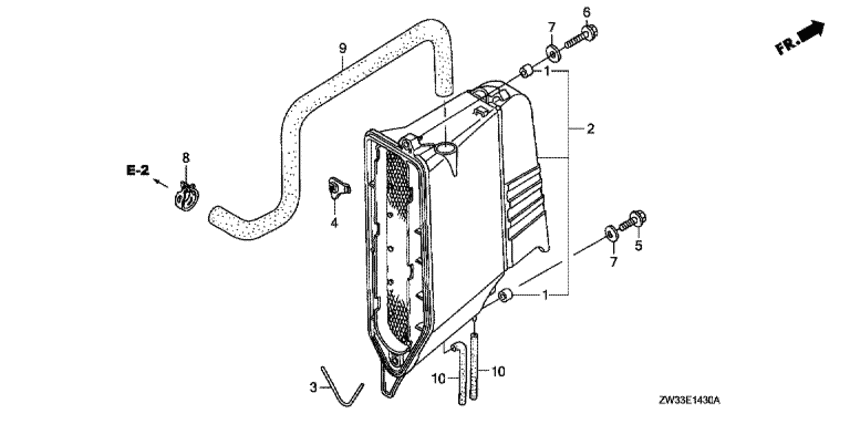
   Корпус глушителя
Silencer Cover      


ДЕТАЛИРОВКА ДЛЯ МОДЕЛИ: HONDA BF40A4

Подвесной  лодочный двигатель Хонда BF40A4 - Корпус глушителя / Silencer Cover
Номер на
рисунке
АртикулНаименованиеКол-во
на складе
Цена
117202-ZV4-300

Промежуточный воротник (Collar, distance)

под заказ610 руб. 
217390-ZW4-H00

Кожух глушителя (Cover comp., silencer)

под заказ28790 руб. 
317394-ZV5-000

Прокладка крышки глушителя (Packing, silencer cover)

под заказ550 руб. 
417398-ZV5-010

Гайка корпуса глушителя (Nut, silencer cover)

под заказ1500 руб. 
417398-ZV5-020

(последний код) Nut, silencer cover

под заказ2110 руб. 
590019-ZW5-000

Фланцевый болт, 6x25 (Bolt, flange, 6x25)

под заказпо запросу 
590016-ZW9-000

Фланцевый болт, 6x25 (Bolt, flange, 6x25)

под заказ420 руб. 
690145-ZW4-000

Фланцевый болт, 6x40 (Bolt, flange, 6x40)

под заказ290 руб. 
790403-ZW6-000

Шайба, 6.5x18 (Washer, 6.5x18)

под заказ490 руб. 
890601-ZV3-010

Струбцина трубки (d17) (Clamp, tube (d17))

под заказпо запросу 
890601-ZV3-020

Струбцина трубки (d17) (Clamp, tube (d17))

под заказпо запросу 
890601-ZV3-030

Струбцина трубки (d17) (Clamp, tube (d17))

под заказ440 руб. 
991401-ZW4-H00

Трубка сапуна (Tube, breather)

под заказпо запросу 
1095003-090-103-1

Виниловая трубка, 4.5x8x100 (95003-09001-60m) (Tube, vinyl, 4.5x8x100 (95003-09001-60m))

под заказпо запросу 

Время выполнения запроса 0.66389989852905 сек.

 
 

данный сайт носит информационный характер и не является публичной офертой

склад запчастей для водомоторной техники