вконтакте

Контактный телефон: +7 (981) 121-46-93, +7 (800) 200-90-76 , Email: parts-katalog@yandex.ru, где купить

 
 

  Логин:

Пароль:

Регистрация

www.partskatalog.ru Все каталоги Запчасти Mercury Запчасти Suzuki Запчасти Tohatsu Запчасти Honda Контакты



УВАЖАЕМЫЕ КЛИЕНТЫ!
C 19 ДЕКАБРЯ 2025 ПО 02 МАРТА 2026 ГОДА ОТДЕЛ ЗАПЧАСТЕЙ И СЕРВИС РАБОТАТЬ НЕ БУДУТ
ПРОДАЖА ЛОДОЧНЫХ МОТОРОВ В ШТАТНОМ РЕЖИМЕ
ОБ ИЗМЕНЕНИЯХ В ГРАФИКЕ РАБОТЫ ЧИТАЙТЕ НА САЙТА



назад Раздел:   вперёд

Модификация Вашего двигателя:   Honda BF40A4 LRD
Модели с серийным номером двигателя от BAYE-3000001 до BAYE-
Модели с серийным номером рамы от BAYL-3400001 до BAYL-3999999

Вернуться к выбору узлов мотора

   Наклейки
Label      


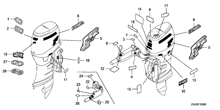
ДЕТАЛИРОВКА ДЛЯ МОДЕЛИ: HONDA BF40A4

Подвесной 4x-тактный двигатель BF40A4 - Наклейки
Номер на
рисунке
АртикулНаименованиеКол-во
на складе
Цена
187121-ZW3-G00

Маркировка - мощность двигателя. (40) (Mark, rr. (40))

под заказ3270 руб. 
587131-ZW1-N00

Маркировка сбоку (Mark, side)

4 шт9030 руб. 
687132-ZW4-H00

Маркировка - полоса сбоку (Mark, side stripe)

под заказ4960 руб. 
787135-ZW5-000

Маркировка (e-spec) (Mark (e-spec))

2 шт400 руб. 
987516-VA9-B50

Маркировка - пользоваться осторожно (Mark, operator caution)

под заказ840 руб. 
1087516-ZV4-A10

Маркировка - пользоваться осторожно (Mark, operator caution)

под заказ580 руб. 
1187531-ZW4-611

Наклейка, осторожно масло (english / french) (Label, oil caution (english/french))

под заказ580 руб. 
1387535-ZV5-610

Этикетка - хранить осторожно (english / french) (Label, storing caution (english/french))

под заказ740 руб. 
1387535-ZV5-620

Этикетка - хранить осторожно (english) (Label, storing caution (english))

под заказпо запросу 
1487538-ZW1-720

Этикетка - предупреждение пользователя (ec) (Label, warning operator (ec))

под заказ1980 руб. 
1487538-ZW1-721

(последний код) LABEL, WARNING OPERATOR (

под заказ1980 руб. 
1587541-ZV5-611

Наклейки, assist tilt caution (english / french) (Label, assist tilt caution (english/french))

под заказ890 руб. 
1687543-ZV5-611

Маркировка, assist Рычаг (english / french) (Mark, assist lever (english/french))

под заказпо запросу 
1787546-ZV5-621

Маркировка - аварийный запуск (english) (Mark, emergency start (english))

под заказ1510 руб. 
1987634-ZW4-H10

Маркировка - окружающая среда (2006 epa стандарт) (Mark, environment (2006 epa standard))

под заказ1870 руб. 
2787634-ZW1-N01

Маркировка - окружающая среда (ультра низкая эмиссия) (3-star) (Mark, environment (ultra low emission) (3-star))

под заказ3800 руб. 

Время выполнения запроса 1.0487859249115 сек.

 
 

данный сайт носит информационный характер и не является публичной офертой

склад запчастей для водомоторной техники