Контактный телефон: +7 (981) 121-46-93, +7 (800) 200-90-76 , Email: parts-katalog@yandex.ru, где купить |
Модификация Вашего двигателя: Honda BF40B LRTG Вернуться к выбору узлов мотора Масляный насос / Выхлопная труба |
|||||||||||||||||||||||||||||||||||||||||||||||||||||||||||||||||||||||||||||||||||||||||||||||||||||||||||||||||||||||||||||||||||||||||||||||||||||||||||||||||||||||||||||||||||||||||||||||||||||||
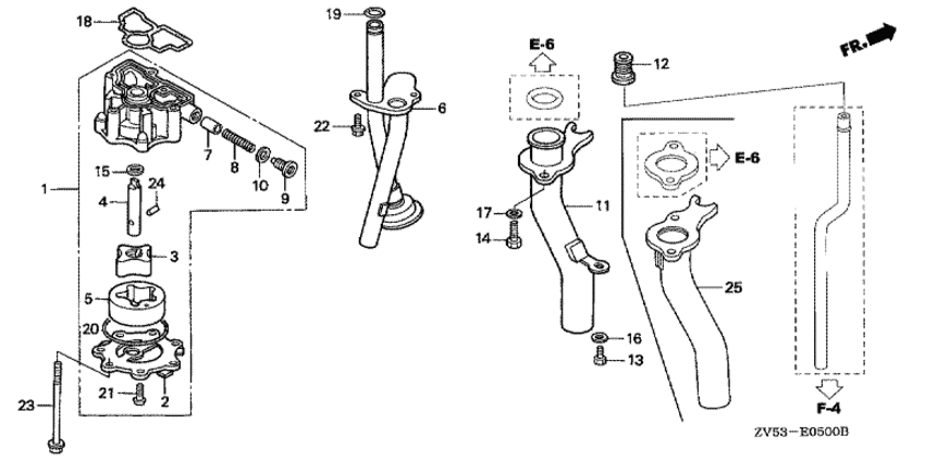
| Номер на рисунке | Артикул | Наименование | Кол-во на складе | Цена | |
| 1 | 15100-ZV5-000 | Масляный насос, в сборе (Pump assy., oil) | 2 шт | 50050 руб. | |
| 2 | 15116-ZV5-000 | Корпус масляного насоса (Cover, oil pump) | под заказ | 4880 руб. | |
| 3 | 15122-ME5-000 | Ротор внутри (Rotor, inner) | под заказ | 2800 руб. | |
| 4 | 15132-ZV5-000 | Вал масляного насоса (Shaft, oil pump) | под заказ | 0 руб. | |
| 5 | 15162-393-000 | Rotor a, outer (Rotor a, outer) | под заказ | 4310 руб. | |
| 6 | 15220-ZV5-000 | Фильтр масла (Strainer comp., oil) | под заказ | 9480 руб. | |
| 7 | 15231-413-020 | Клапан (Valve) | под заказ | 2300 руб. | |
| 8 | 15232-KT8-000 | Пружина освобождения клапана (Spring, relief valve) | под заказ | 550 руб. | |
| 9 | 15236-ZV5-000 | Болт уплотнения, 14 мм (Bolt, sealing, 14mm) | под заказ | по запросу | |
| 10 | 15302-PE0-300 | Шайба (Washer) | под заказ | 610 руб. | |
| 11 | 18330-ZV5-000 | Выхлопная труба (Pipe comp., ex) | под заказ | 33690 руб. | |
| 12 | 19252-ZV5-000 | Пыльник водяной трубки (Grommet, water tube) | 4 шт | 1220 руб. | |
| 13 | 90105-881-000 | Болт под шестигранник., 6x12 (Bolt, hex., 6x12) | под заказ | 350 руб. | |
| 14 | 90126-ZV5-000 | Болт под шестигранник., 8x20 (Bolt, hex., 8x20) | под заказ | 450 руб. | |
| 14 | 90115-ZV5-000 | Болт под шестигранник., 8x25 (Bolt, hex., 8x25) | под заказ | 530 руб. | |
| 15 | 90456-MC7-000 | Упорная шайба, 13 мм (Washer, thrust, 13mm) | под заказ | 500 руб. | |
| 16 | 90506-ZV4-000 | Плоская шайба, 6 мм (Washer, plain, 6mm) | 4 шт | 380 руб. | |
| 17 | 90507-ZV4-000 | Плоская шайба, 8 мм (Washer, plain, 8mm) | под заказ | 360 руб. | |
| 18 | 91301-ZV5-000 | Уплотнительное кольцо корпуса помпы (O-ring, pump cover) | под заказ | 1220 руб. | |
| 18 | 91301-ZV5-010 | (последний код) O-RING, PUMP COVER | 3 шт | 1220 руб. | |
| 19 | 91303-377-000 | Уплотнительное кольцо, 13.8x2.5 (O-ring, 13.8x2.5) | под заказ | 510 руб. | |
| 19 | 91303-MG7-003 | (последний код) O-RING,13.8X2.5 | 3 шт | 510 руб. | |
| 20 | 91306-MJ0-005 | Уплотнительное кольцо, 54x2.5 (nok) (O-ring, 54x2.5 (nok)) | под заказ | 170 руб. | |
| 20 | 91302-KF0-003 | (последний код) O-RING, 54X2.4 (ARAI) | 2 шт | 190 руб. | |
| 21 | 93500-060-160-B | Винт с чашечкой, 6x16 (Screw, pan, 6x16) | под заказ | по запросу | |
| 22 | 95701-060-160-9 | Болт (Bolt) | под заказ | 110 руб. | |
| 22 | 95701-060-160-0 | Болт (Bolt) | 6 шт | 110 руб. | |
| 23 | 95701-060-550-2 | Фланцевый болт, 6x55 (Bolt, flange, 6x55) | под заказ | по запросу | |
| 24 | 96220-50178 | Ролик (Roller) | под заказ | 50 руб. | |
| 25 | 18330-ZV5-020 | Выхлопная труба (Pipe comp., ex) | под заказ | 21730 руб. | |
Время выполнения запроса 0.53319096565247 сек.
склад запчастей для водомоторной техники