вконтакте

Контактный телефон: +7 (981) 121-46-93, +7 (800) 200-90-76 , Email: parts-katalog@yandex.ru, где купить

 
 

  Логин:

Пароль:

Регистрация

www.partskatalog.ru Все каталоги Запчасти Mercury Запчасти Suzuki Запчасти Tohatsu Запчасти Honda Контакты



УВАЖАЕМЫЕ КЛИЕНТЫ!
C 19 ДЕКАБРЯ 2025 ПО 02 МАРТА 2026 ГОДА ОТДЕЛ ЗАПЧАСТЕЙ И СЕРВИС РАБОТАТЬ НЕ БУДУТ
ПРОДАЖА ЛОДОЧНЫХ МОТОРОВ В ШТАТНОМ РЕЖИМЕ
ОБ ИЗМЕНЕНИЯХ В ГРАФИКЕ РАБОТЫ ЧИТАЙТЕ НА САЙТА



назад Раздел:   вперёд

Модификация Вашего двигателя:   Honda BF35AM LHC
Модели с серийным номером двигателя от BAGE-1000001 до BAGE-1099999
Модели с серийным номером рамы от BLAG-1000001 до BLAG-1003639

Вернуться к выбору узлов мотора

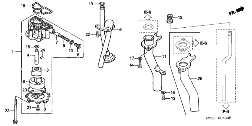
   Масляный насос / Выхлопная труба
Oil Pump / Exhaust Pipe      


ДЕТАЛИРОВКА ДЛЯ МОДЕЛИ: HONDA BF35AM

Подвесной четырёх тактный лодочный двигатель BF35AM - Oil Pump / Exhaust Pipe / Масляный насос / Выхлопная труба
Номер на
рисунке
АртикулНаименованиеКол-во
на складе
Цена
115100-ZV5-000

Масляный насос, в сборе (Pump assy., oil)

2 шт50050 руб. 
215116-ZV5-000

Корпус масляного насоса (Cover, oil pump)

под заказ4880 руб. 
315122-ME5-000

Ротор внутри (Rotor, inner)

под заказ2800 руб. 
415132-ZV5-000

Вал масляного насоса (Shaft, oil pump)

под заказ0 руб. 
515162-393-000

Rotor a, outer (Rotor a, outer)

под заказ4310 руб. 
615220-ZV5-000

Фильтр масла (Strainer comp., oil)

под заказ9480 руб. 
715231-413-020

Клапан (Valve)

под заказ2300 руб. 
815232-KT8-000

Пружина освобождения клапана (Spring, relief valve)

под заказ550 руб. 
915236-ZV5-000

Болт уплотнения, 14 мм (Bolt, sealing, 14mm)

под заказпо запросу 
1015302-PE0-300

Шайба (Washer)

под заказ610 руб. 
1118330-ZV5-000

Выхлопная труба (Pipe comp., ex)

под заказ33690 руб. 
1219252-ZV5-000

Пыльник водяной трубки (Grommet, water tube)

4 шт1220 руб. 
1390105-881-000

Болт под шестигранник., 6x12 (Bolt, hex., 6x12)

под заказ350 руб. 
1490126-ZV5-000

Болт под шестигранник., 8x20 (Bolt, hex., 8x20)

под заказ450 руб. 
1490115-ZV5-000

Болт под шестигранник., 8x25 (Bolt, hex., 8x25)

под заказ530 руб. 
1590456-MC7-000

Упорная шайба, 13 мм (Washer, thrust, 13mm)

под заказ500 руб. 
1690506-ZV4-000

Плоская шайба, 6 мм (Washer, plain, 6mm)

4 шт380 руб. 
1790507-ZV4-000

Плоская шайба, 8 мм (Washer, plain, 8mm)

под заказ360 руб. 
1891301-ZV5-000

Уплотнительное кольцо корпуса помпы (O-ring, pump cover)

под заказ1220 руб. 
1891301-ZV5-010

(последний код) O-RING, PUMP COVER

3 шт1220 руб. 
1991303-377-000

Уплотнительное кольцо, 13.8x2.5 (O-ring, 13.8x2.5)

под заказ510 руб. 
1991303-MG7-003

(последний код) O-RING,13.8X2.5

3 шт510 руб. 
2091306-MJ0-005

Уплотнительное кольцо, 54x2.5 (nok) (O-ring, 54x2.5 (nok))

под заказ170 руб. 
2091302-KF0-003

(последний код) O-RING, 54X2.4 (ARAI)

2 шт190 руб. 
2193500-060-160-B

Винт с чашечкой, 6x16 (Screw, pan, 6x16)

под заказпо запросу 
2295701-060-160-9

Болт (Bolt)

под заказ110 руб. 
2295701-060-160-0

Болт (Bolt)

6 шт110 руб. 
2395701-060-550-2

Фланцевый болт, 6x55 (Bolt, flange, 6x55)

под заказпо запросу 
2496220-50178

Ролик (Roller)

под заказ50 руб. 
2518330-ZV5-020

Выхлопная труба (Pipe comp., ex)

под заказ21730 руб. 

Время выполнения запроса 1.5843939781189 сек.

 
 

данный сайт носит информационный характер и не является публичной офертой

склад запчастей для водомоторной техники