вконтакте

Контактный телефон: +7 (981) 121-46-93, +7 (800) 200-90-76 , Email: parts-katalog@yandex.ru, где купить

 
 

  Логин:

Пароль:

Регистрация

www.partskatalog.ru Все каталоги Запчасти Mercury Запчасти Suzuki Запчасти Tohatsu Запчасти Honda Контакты



УВАЖАЕМЫЕ КЛИЕНТЫ!
C 19 ДЕКАБРЯ 2025 ПО 02 МАРТА 2026 ГОДА ОТДЕЛ ЗАПЧАСТЕЙ И СЕРВИС РАБОТАТЬ НЕ БУДУТ
ПРОДАЖА ЛОДОЧНЫХ МОТОРОВ В ШТАТНОМ РЕЖИМЕ
ОБ ИЗМЕНЕНИЯХ В ГРАФИКЕ РАБОТЫ ЧИТАЙТЕ НА САЙТА



назад Раздел:   вперёд

Модификация Вашего двигателя:   Honda BF30A2 SRSD
Модели с серийным номером двигателя от BAWE-1000001 до BAWE-1999999
Модели с серийным номером рамы от BAWS-3220001 до BAWS-3299999

Вернуться к выбору узлов мотора

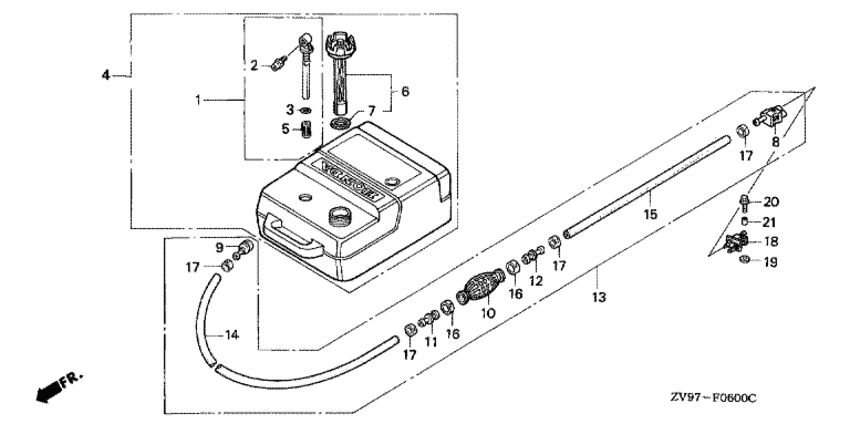
   Топливный бак
Fuel Tank      


ДЕТАЛИРОВКА ДЛЯ МОДЕЛИ: HONDA BF30A2

Лодочный четырёх-тактный мотор Хонда BF30A2 - Fuel Tank / Топливный бак
Номер на
рисунке
АртикулНаименованиеКол-во
на складе
Цена
116900-ZV5-901

Соеденитель топливного бака, в сборе (Joint assy., fuel)

под заказ11420 руб. 
116900-ZV5-902

(последний код) JOINT ASSY., FUEL

под заказ11420 руб. 
216977-ZV5-A00

Фитинг для быстрого отключения (Fitting, quick disconnect)

2 шт5520 руб. 
316979-ZV5-900

Уплотнительное кольцо (O-ring)

под заказ370 руб. 
316979-ZV5-901

(последний код) O-RING

под заказ380 руб. 
417500-ZV5-901

Топливный бак, в сборе (Tank assy., fuel)

под заказ21050 руб. 
417500-ZV5-906

(последний код) TANK ASSY., FUEL

под заказ33860 руб. 
517583-ZV5-900

Топливный фильтр (Filter, fuel)

под заказ1820 руб. 
517583-ZV5-901

(последний код) FILTER, FUEL

1 шт1570 руб. 
617620-ZV5-900

Крышка топливного фильтра (Cap comp., fuel filler)

под заказ8470 руб. 
617620-ZV5-903

(последний код) CAP COMP., FUEL FILLER

под заказ10560 руб. 
717624-ZV5-900

Прокладка крышки бака (Packing, fuel cap)

под заказпо запросу 
817650-ZW9-013

Топливный коннектор, в сборе (a) (Connector assy., fuel (a))

под заказ5330 руб. 
817650-ZW9-023

(последний код) CONNECTOR ASSY., FUEL (A)

4 шт5330 руб. 
8RTT-17650-ZW9-013

   (не оригинальный аналог) Топливный коннектор RTT-17650-ZW9-013

под заказ950 руб.
917660-ZW9-003

Коннектор топливного бака (Connector comp., fuel)

под заказ6730 руб. 
1017661-921-000

Груша для подкачки топлива (Bulb, primer)

под заказ2990 руб. 
1017661-921-010

(последний код) BULB, PRIMER

под заказ2990 руб. 
1117665-ZV5-000

Внутренний клапан (Valve comp., in.)

под заказ3190 руб. 
1217680-ZV4-000

Наружный клапан (Valve comp., outlet)

под заказ2800 руб. 
1317700-ZW9-020

Трубка для подключения топливного бака, в сборе (Tube assy., fuel)

под заказ14840 руб. 
1317700-ZW9-030

(последний код) TUBE ASSY., FUEL

под заказ14840 руб. 
1417701-ZV5-000

Длинная топливная трубка (7.3x2000) (Tube, fuel long (7.3x2000))

под заказ4740 руб. 
1517702-ZV4-000

Короткая топливная трубка (6.3x500) (Tube, fuel short (6.3x500))

под заказ870 руб. 
1617703-921-010

Зажимной ремешек трубки, 20 мм (Band, tube clip, 20mm)

под заказ580 руб. 
1717704-ZV4-010

Зажимной ремешек трубки, 12.5 мм (Band, tube clip, 12.5mm)

под заказ320 руб. 
1817710-ZW9-033

Топливный коннектор, в сборе (b) (Connector assy., fuel (b))

под заказ6760 руб. 
1917936-921-000

Опорная шайба (Washer, pivot)

3 шт260 руб. 
2090013-ZV4-010

Фланцевый болт, 6x20 (Bolt, flange, 6x20)

под заказ0 руб. 
2191551-ZV4-000

Промежуточный воротник (6 мм) (Collar, distance (6mm))

под заказ440 руб. 

Время выполнения запроса 1.5137889385223 сек.

 
 

данный сайт носит информационный характер и не является публичной офертой

склад запчастей для водомоторной техники