Контактный телефон: +7 (981) 121-46-93, +7 (800) 200-90-76 , Email: parts-katalog@yandex.ru, где купить |
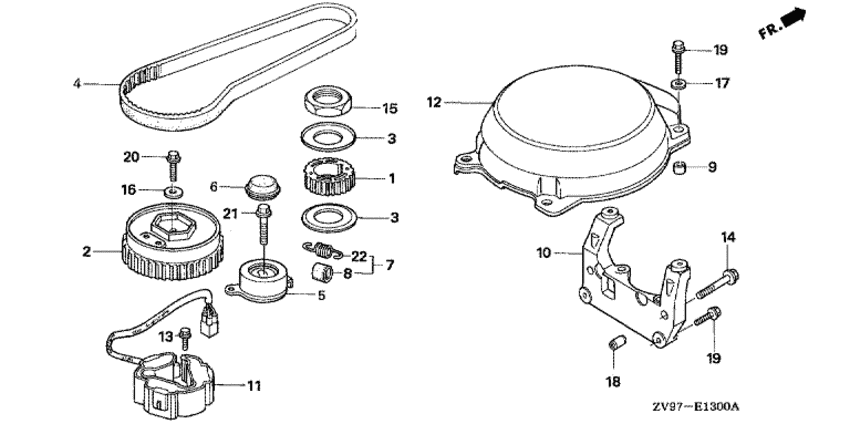
Модификация Вашего двигателя: Honda BF30A2 LHSD Вернуться к выбору узлов мотора Ремень распредвала |
|||||||||||||||||||||||||||||||||||||||||||||||||||||||||||||||||||||||||||||||||||||||||||||||||||||||||||||||||||||||||||||||||||||||||||||||||||||||||||||||||||||||||||||||||||||||||||||||||||||||||||||
| Номер на рисунке | Артикул | Наименование | Кол-во на складе | Цена | |
| 1 | 14315-ZV7-000 | Шкив ремня (Pulley, timing) | под заказ | 10010 руб. | |
| 2 | 14320-ZV7-000 | Шкив распредвала (Pulley comp., camshaft) | под заказ | 34700 руб. | |
| 3 | 14323-ZV7-000 | Пластина направляющей ремня распредвала (Plate, timing belt guide) | под заказ | 1960 руб. | |
| 4 | 14400-ZV7-004 | Ремень ГРМ (Belt, timing) | под заказ | 17220 руб. | |
| 4 | 14400-ZV7-014 | (последний код) BELT, TIMING | 1 шт | 12750 руб. | |
| 5 | 14510-ZV5-003 | Натяжитель ремня распредвала (Tensioner comp., timing belt) | под заказ | 20060 руб. | |
| 5 | 14510-ZV5-013 | (последний код) TENSIONER COMP., TIMING B | под заказ | 27770 руб. | |
| 6 | 14515-ZV5-000 | Крышка натяжителя ремня распредвала (Cap, timing belt tensioner) | под заказ | 1070 руб. | |
| 7 | 14520-ZV7-010 | Пружина регулировки ремня распредвала, комплект (Spring comp., timing belt adjusting) | под заказ | 760 руб. | |
| 8 | 14522-ZV5-000 | Сапог пружины (Boot, spring) | под заказ | 510 руб. | |
| 9 | 17202-ZV5-300 | Промежуточный воротник, 6.5x11x7.5 (Collar, distance, 6.5x11x7.5) | под заказ | по запросу | |
| 9 | 17202-ZV5-310 | Промежуточный воротник, 6.5x11x7.5 (Collar, distance, 6.5x11x7.5) | под заказ | 740 руб. | |
| 10 | 28491-ZV7-750 | Возвратный кронштейн (Bracket, recoil) | под заказ | 12930 руб. | |
| 11 | 30310-ZV7-003 | Импульсная катушка (Coil assy., pulser) | 1 шт | 42740 руб. | |
| 12 | 31145-ZV7-750 | Крышка маховика (Cover, flywheel) | под заказ | 9750 руб. | |
| 13 | 90013-ZV0-010 | Фланцевый болт, 6x12 (Bolt, flange, 6x12) | под заказ | 350 руб. | |
| 13 | 90013-ZW4-000 | Фланцевый болт, 6x12 (ct200) (Bolt, flange, 6x12 (ct200)) | под заказ | 490 руб. | |
| 14 | 90126-881-000 | Фланцевый болт, 8x45 (Bolt, flange, 8x45) | под заказ | 350 руб. | |
| 14 | 90126-ZW4-000 | (последний код) BOLT, FLANGE, 8X45 | под заказ | 350 руб. | |
| 14 | 90126-881-010 | Фланцевый болт, 8x45 (Bolt, flange, 8x45) | под заказ | 350 руб. | |
| 15 | 90202-ZV7-000 | Блокирующая гайка, 34 мм (Nut, lock, 34mm) | под заказ | 4560 руб. | |
| 16 | 90405-ZV5-000 | Плоская шайба, 8 мм (Washer, plain, 8mm) | под заказ | 420 руб. | |
| 16 | 90405-ZV5-010 | (последний код) WASHER, PLAIN, 8MM | 5 шт | 420 руб. | |
| 17 | 90545-323-700 | Шайба, 6.5x18 (Washer, 6.5x18) | под заказ | 600 руб. | |
| 18 | 94301-10160 | Шпонка (Dowel pin) | 10 шт | 210 руб. | |
| 19 | 95701-060-220-2 | Фланцевый болт, 6x22 (Bolt, flange, 6x22) | под заказ | по запросу | |
| 19 | 90025-ZY3-000 | Фланцевый болт, 6x22 (Bolt, flange, 6x22) | под заказ | по запросу | |
| 20 | 95701-0802502 | Фланцевый болт, 8x25 (Bolt, flange, 8x25) | под заказ | 240 руб. | |
| 20 | 90151-ZW4-000 | Фланцевый болт, 8x25 (Bolt, flange, 8x25) | 6 шт | 250 руб. | |
| 21 | 95701-100-380-8 | Болт (Bolt) | под заказ | 230 руб. | |
| 22 | 14521-ZV7-000 | Пружина регулировки ремня распредвала (Spring, timing belt adjusting) | под заказ | по запросу | |
Время выполнения запроса 0.56435585021973 сек.
склад запчастей для водомоторной техники