вконтакте

Контактный телефон: +7 (981) 121-46-93, +7 (800) 200-90-76 , Email: parts-katalog@yandex.ru, где купить

 
 

  Логин:

Пароль:

Регистрация

www.partskatalog.ru Все каталоги Запчасти Mercury Запчасти Suzuki Запчасти Tohatsu Запчасти Honda Контакты

назад Раздел:   вперёд

Модификация Вашего двигателя:   Honda BF30A3 SHC
Модели с серийным номером двигателя от BAWE-2000001 до BAWE-9999999
Модели с серийным номером рамы от BAWS-3300001 до BAWS-3399999

Вернуться к выбору узлов мотора

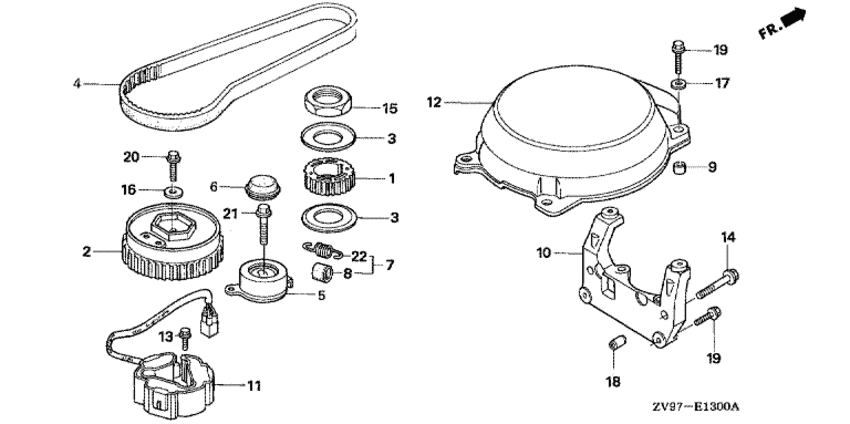
   Ремень распредвала
Timing Belt      


ДЕТАЛИРОВКА ДЛЯ МОДЕЛИ: HONDA BF30A3

Подвесной лодочный  двигатель BF30A3 - Timing Belt / Ремень распредвала
Номер на
рисунке
АртикулНаименованиеКол-во
на складе
Цена
114315-ZV7-000

Шкив ремня (Pulley, timing)

под заказ10010 руб. 
214320-ZV7-000

Шкив распредвала (Pulley comp., camshaft)

под заказ34700 руб. 
314323-ZV7-000

Пластина направляющей ремня распредвала (Plate, timing belt guide)

под заказ1960 руб. 
414400-ZV7-014

Ремень ГРМ (Belt, timing)

2 шт12750 руб. 
514510-ZV5-003

Натяжитель ремня распредвала (Tensioner comp., timing belt)

под заказ20060 руб. 
514510-ZV5-013

(последний код) TENSIONER COMP., TIMING B

под заказ27770 руб. 
614515-ZV5-000

Крышка натяжителя ремня распредвала (Cap, timing belt tensioner)

под заказ1070 руб. 
714520-ZV7-010

Пружина регулировки ремня распредвала, комплект (Spring comp., timing belt adjusting)

под заказ760 руб. 
814522-ZV5-000

Сапог пружины (Boot, spring)

под заказ510 руб. 
1028491-ZV7-000

Возвратный кронштейн (Bracket, recoil)

под заказпо запросу 
1130310-ZV7-003

Импульсная катушка (Coil assy., pulser)

1 шт42740 руб. 
1390013-ZV0-010

Фланцевый болт, 6x12 (Bolt, flange, 6x12)

под заказ350 руб. 
1490126-881-010

Фланцевый болт, 8x45 (Bolt, flange, 8x45)

под заказ350 руб. 
1490126-ZW4-000

(последний код) BOLT, FLANGE, 8X45

под заказ350 руб. 
1590202-ZV7-000

Блокирующая гайка, 34 мм (Nut, lock, 34mm)

под заказ4560 руб. 
1690405-ZV5-010

Плоская шайба, 8 мм (Washer, plain, 8mm)

5 шт420 руб. 
1894301-10160

Шпонка (Dowel pin)

10 шт210 руб. 
1990025-ZY3-000

Фланцевый болт, 6x22 (Bolt, flange, 6x22)

под заказпо запросу 
2090151-ZW4-000

Фланцевый болт, 8x25 (Bolt, flange, 8x25)

6 шт250 руб. 
2195701-100-380-8

Болт (Bolt)

под заказ230 руб. 
2214521-ZV7-010

Пружина регулировки ремня распредвала (Spring, timing belt adjusting)

под заказ980 руб. 

Время выполнения запроса 1.3184261322021 сек.

 
 

данный сайт носит информационный характер и не является публичной офертой

склад запчастей для водомоторной техники