вконтакте

Контактный телефон: +7 (981) 121-46-93, +7 (800) 200-90-76 , Email: parts-katalog@yandex.ru, где купить

 
 

  Логин:

Пароль:

Регистрация

www.partskatalog.ru Все каталоги Запчасти Mercury Запчасти Suzuki Запчасти Tohatsu Запчасти Honda Контакты

назад Раздел:   вперёд

Модификация Вашего двигателя:   Honda BF30AX SHSD
Модели с серийным номером двигателя от BAWE-1000001 до BAWE-1999999
Модели с серийным номером рамы от BAWS-3000001 до BAWS-3099999

Вернуться к выбору узлов мотора

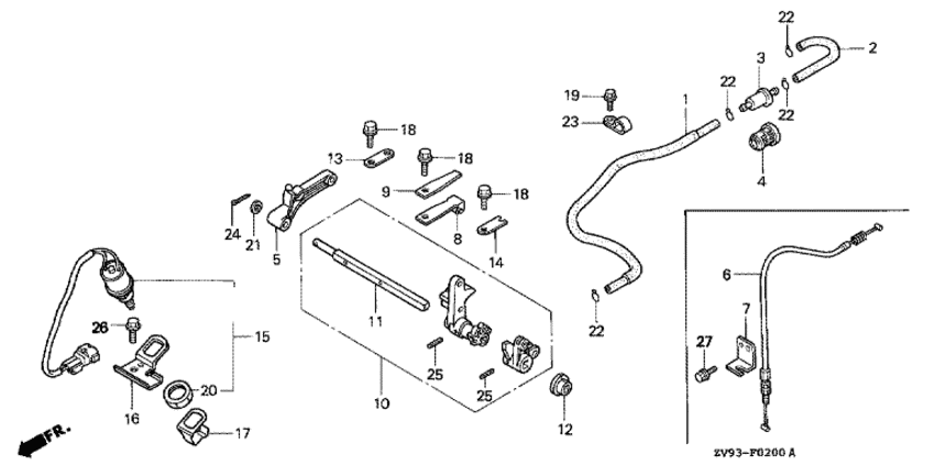
   Переключающий вал
Shift Shaft      


ДЕТАЛИРОВКА ДЛЯ МОДЕЛИ: HONDA BF30AX

Подвесной  лодочный мотор BF30AX - Переключающий вал
Номер на
рисунке
АртикулНаименованиеКол-во
на складе
Цена
116850-ZV7-000

Топливная трубка (Tube comp., fuel)

под заказ2360 руб. 
216861-ZV7-000

Топливная трубка B (Tube b, fuel)

под заказ1020 руб. 
316910-ZV4-015

Топливный фильтр (сетчатый) (Strainer comp., fuel)

3 шт1900 руб. 
416915-ZV4-000

Подвес для топливного фильтра (Suspension, strainer)

под заказ780 руб. 
824210-ZV1-010

Нажимная пружина, комплект (Spring comp., click)

под заказ2010 руб. 
924221-ZV4-000

Пружина с помощью при нажатии (Spring, click assist)

под заказпо запросу 
1024610-ZV7-010

Переключающий вал (Shaft comp., shift)

1 шт12220 руб. 
1124611-ZV7-300

Переключающий вал (Shaft, shift)

под заказ4770 руб. 
1224621-ZV4-010

Втулка вала (Bush, shaft)

под заказ610 руб. 
1324625-ZV5-000

Пластина переключателя (Plate, shift)

под заказпо запросу 
1424626-ZV5-000

Пластина переключающего вала (Plate, shift shaft)

под заказ500 руб. 
1535600-ZV7-781

Переключатель нейтрали, в сборе (Switch assy., neutral)

под заказ14090 руб. 
1504302-ZV7-010

(последний код) SWITCH SET, NEUTRAL

под заказ14090 руб. 
1635616-ZV5-000

Кронштейн переключателя нейтрали (Bracket, neutral switch)

под заказпо запросу 
1735618-ZV5-000

Пластина переключателя нейтрали (Plate, neutral switch)

под заказ1200 руб. 
1890013-ZV0-000

Фланцевый болт, 6x12 (Bolt, flange, 6x12)

под заказ350 руб. 
1990019-ZV1-000

Фланцевый болт, 5x10 (Bolt, flange, 5x10)

под заказ280 руб. 
2090302-ZV5-003

Шестигранная гайка, 20 мм (Nut, hex., 20mm)

под заказ750 руб. 
2290603-ZV4-000

Зажим трубки (b10) (Clip, tube (b10))

под заказ270 руб. 
2390628-750-000

Зажим (14 мм) (Clip (14mm))

под заказ560 руб. 
2594305-30203

Стопор пружины, 3x20 (Pin, spring, 3x20)

под заказ150 руб. 

Время выполнения запроса 0.86135601997375 сек.

 
 

данный сайт носит информационный характер и не является публичной офертой

склад запчастей для водомоторной техники