вконтакте

Контактный телефон: +7 (981) 121-46-93, +7 (800) 200-90-76 , Email: parts-katalog@yandex.ru, где купить

 
 

  Логин:

Пароль:

Регистрация

www.partskatalog.ru Все каталоги Запчасти Mercury Запчасти Suzuki Запчасти Tohatsu Запчасти Honda Контакты



УВАЖАЕМЫЕ КЛИЕНТЫ!
C 19 ДЕКАБРЯ 2025 ПО 02 МАРТА 2026 ГОДА ОТДЕЛ ЗАПЧАСТЕЙ И СЕРВИС РАБОТАТЬ НЕ БУДУТ
ПРОДАЖА ЛОДОЧНЫХ МОТОРОВ В ШТАТНОМ РЕЖИМЕ
ОБ ИЗМЕНЕНИЯХ В ГРАФИКЕ РАБОТЫ ЧИТАЙТЕ НА САЙТА



назад Раздел:   вперёд

Модификация Вашего двигателя:   Honda BF30A LHD
Модели с серийным номером двигателя от BAWE-1000001 до BAWE-1999999
Модели с серийным номером рамы от BAWL-1000001 до BAWL-2999999

Вернуться к выбору узлов мотора

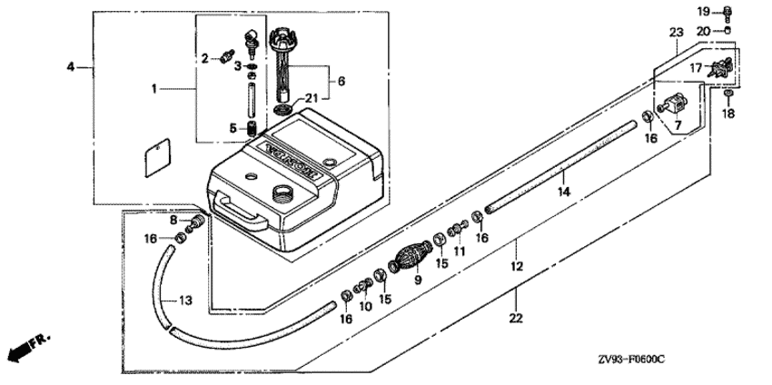
   Топливный бак
Fuel Tank      


ДЕТАЛИРОВКА ДЛЯ МОДЕЛИ: HONDA BF30A

Подвесной 4-тактный мотор BF30A - Топливный бак
Номер на
рисунке
АртикулНаименованиеКол-во
на складе
Цена
116900-ZV5-901

Соеденитель топливного бака, в сборе (Joint assy., fuel)

под заказ11420 руб. 
116900-ZV5-902

(последний код) JOINT ASSY., FUEL

под заказ11420 руб. 
216977-ZV5-A00

Фитинг для быстрого отключения (Fitting, quick disconnect)

2 шт5520 руб. 
316979-ZV5-900

Уплотнительное кольцо (O-ring)

под заказ370 руб. 
316979-ZV5-901

(последний код) O-RING

под заказ380 руб. 
417500-ZV5-901

Топливный бак, в сборе (Tank assy., fuel)

под заказ21050 руб. 
417500-ZV5-906

(последний код) TANK ASSY., FUEL

под заказ33860 руб. 
517583-ZV5-900

Топливный фильтр (Filter, fuel)

под заказ1820 руб. 
517583-ZV5-901

(последний код) FILTER, FUEL

1 шт1570 руб. 
617620-ZV5-900

Крышка топливного фильтра (Cap comp., fuel filler)

под заказ8470 руб. 
617620-ZV5-903

(последний код) CAP COMP., FUEL FILLER

под заказ10560 руб. 
717650-ZV4-005

Топливный коннектор, в сборе (a) (Connector assy., fuel (a))

под заказ6730 руб. 
704104-ZW9-010

(последний код) CONNECTOR ASSY AS

под заказ8420 руб. 
817660-ZV5-A00

Коннектор топливного бака (Connector comp., fuel)

под заказ8280 руб. 
817660-ZW9-003

(последний код) CONNECTOR COMP., FUEL

под заказ6730 руб. 
917661-921-000

Груша для подкачки топлива (Bulb, primer)

под заказ2990 руб. 
917661-921-010

(последний код) BULB, PRIMER

под заказ2990 руб. 
1017665-ZV5-000

Внутренний клапан (Valve comp., in.)

под заказ3190 руб. 
1117680-ZV4-000

Наружный клапан (Valve comp., outlet)

под заказ2800 руб. 
1217700-ZV5-010

Трубка для подключения топливного бака, в сборе (Tube assy., fuel)

под заказ17970 руб. 
1204101-ZW9-010

(последний код) CONNECTOR SET,FUE

под заказ14780 руб. 
1317701-ZV5-000

Длинная топливная трубка (7.3x2000) (Tube, fuel long (7.3x2000))

под заказ4740 руб. 
1417702-ZV4-000

Короткая топливная трубка (6.3x500) (Tube, fuel short (6.3x500))

под заказ870 руб. 
1517703-921-000

Зажимной ремешек трубки, 20 мм (Band, tube clip, 20mm)

под заказ580 руб. 
1517703-921-010

(последний код) BAND, TUBE CLIP, 20MM

под заказ580 руб. 
1617704-ZV4-000

Зажимной ремешек трубки, 12.5 мм (Band, tube clip, 12.5mm)

5 шт320 руб. 
1617704-ZV4-010

(последний код) BAND, TUBE CLIP, 12.5MM

под заказ320 руб. 
1717710-ZV4-005

Топливный коннектор, в сборе (b) (Connector assy., fuel (b))

под заказ6730 руб. 
1817936-921-000

Опорная шайба (Washer, pivot)

3 шт260 руб. 
1990013-ZV4-000

Фланцевый болт, 6x20 (Bolt, flange, 6x20)

под заказпо запросу 
2091551-ZV4-000

Промежуточный воротник (6 мм) (Collar, distance (6mm))

под заказ440 руб. 
2117624-ZV5-900

Прокладка крышки бака (Packing, fuel cap)

под заказпо запросу 

Время выполнения запроса 0.52307987213135 сек.

 
 

данный сайт носит информационный характер и не является публичной офертой

склад запчастей для водомоторной техники