вконтакте

Контактный телефон: +7 (981) 121-46-93, +7 (800) 200-90-76 , Email: parts-katalog@yandex.ru, где купить

 
 

  Логин:

Пароль:

Регистрация

www.partskatalog.ru Все каталоги Запчасти Mercury Запчасти Suzuki Запчасти Tohatsu Запчасти Honda Контакты



УВАЖАЕМЫЕ КЛИЕНТЫ!
C 19 ДЕКАБРЯ 2025 ПО 02 МАРТА 2026 ГОДА ОТДЕЛ ЗАПЧАСТЕЙ И СЕРВИС РАБОТАТЬ НЕ БУДУТ
ПРОДАЖА ЛОДОЧНЫХ МОТОРОВ В ШТАТНОМ РЕЖИМЕ
ОБ ИЗМЕНЕНИЯХ В ГРАФИКЕ РАБОТЫ ЧИТАЙТЕ НА САЙТА



назад Раздел:   вперёд

Модификация Вашего двигателя:   Honda BF30D4 LHTU
Модели с серийным номером двигателя от BEAUJ-1000001 до BEAUJ-
Модели с серийным номером рамы от BAUJ-1000001 до BAUJ-

Вернуться к выбору узлов мотора

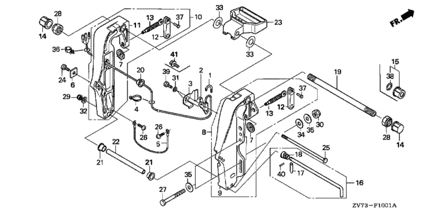
   Кронштейн транца (2)
Stern Bracket (2)      


ДЕТАЛИРОВКА ДЛЯ МОДЕЛИ: HONDA BF30D4

Подвесной лодочный  двигатель Хонда BF30D4 - Stern Bracket (2)
Номер на
рисунке
АртикулНаименованиеКол-во
на складе
Цена
117735-ZW2-F10

Гофрированная трубка, 7 мм (Tube, corrugate, 7mm)

под заказ360 руб. 
235660-ZW2-F11

Датчик угла дифферента (Sensor assy., trim angle)

под заказ21810 руб. 
335661-ZW2-F10

Кронштейн датчика угла дифферента (Bracket, trim angle sensor)

под заказ1300 руб. 
435701-MG9-950

Ремешок (чёрный 3.5x140) (Band (black 3.5x140))

под заказ380 руб. 
540219-ZY1-013

Подводящий провод (1.5x170 мм) (Wire, lead (1.5x170mm))

под заказ2070 руб. 
641106-ZW9-000

Металлический анод (Metal, anode)

2 шт1790 руб. 
750122-935-010

Нажимная пластина (Plate, push)

1 шт840 руб. 
850300-ZW2-F10

Правый кормовой кронштейн (Bracket comp., r. stern)

под заказпо запросу 
950301-ZW2-F10

Кормовой кронштейн, правый (Bracket, r. stern)

под заказ72250 руб. 
950301-ZW2-F10ZA

(последний код) BRACKET, R. STERN

под заказ0 руб. 
1050310-ZW2-F11

Левый кормовой кронштейн (Bracket comp., l. stern)

под заказпо запросу 
1150311-ZW2-F11

Кормовой кронштейн, левый (Bracket, l. stern)

под заказпо запросу 
1250323-ZW9-300

Рукоятка зажима (Grip, clamp)

2 шт1820 руб. 
1350325-ZW9-830

Винт зажима (Screw, clamp)

под заказ3210 руб. 
1450331-ZV5-000

Колпачок болта опрокидывания (Cap, tilting bolt)

под заказ1010 руб. 
1650340-ZY1-871

Регулировочная штанга, комплект (Rod comp., adjusting)

4 шт5340 руб. 
1750342-ZV5-300

Стопор тяги (Stopper, rod)

под заказ1100 руб. 
1850343-921-300

Пружина регулировки тяги (Spring, adjusting rod)

под заказ420 руб. 
2056118-ZV5-820

Втулка кода двигателя (Bush, motor code)

под заказ1320 руб. 
2156513-ZV5-000

Втулка нижнего цилиндра (Bush, lower cylinder)

2 шт610 руб. 
2256539-ZY1-870

Воротник нижнего цилиндра (Collar, lower cylinder)

под заказ11600 руб. 
2368111-ZW2-F00

Ручка для переноски (Handle, carrying)

1 шт4700 руб. 
2490102-ZW9-000

Фланцевый болт, 6x12 (Bolt, flange, 6x12)

5 шт460 руб. 
2590108-ZY1-870

Болт под шестигранник., 8x203 (Bolt, hex., 8x203)

под заказ2200 руб. 
2690119-ZV5-000

Винт с чашечкой, 6x8 (Screw, pan, 6x8)

под заказ200 руб. 
2890304-ZV5-013

Гайка с замком (7 / 8-14unf) (Nut, self-lock (7/8-14unf))

под заказ2950 руб. 
2990305-ZV4-000

Гайка с замком, 8 мм (Nut, self-lock, 8mm)

под заказ550 руб. 
3290507-ZV4-000

Плоская шайба, 8 мм (Washer, plain, 8mm)

под заказ360 руб. 
3390517-ZV5-000

Волнистая шайба, 22 мм (Washer, wave, 22mm)

под заказ1070 руб. 
3690681-763-A01

Зажим под жгут проводов (Clip, wire harness)

под заказ1590 руб. 
3790855-ZW9-300

Заклёпка, 4x22.6 (Rivet, 4x22.6)

под заказ370 руб. 
4094305-25083

Стопор пружины, 2.5x8 (Pin, spring, 2.5x8)

под заказ70 руб. 
4190105-ZW9-000

Фланцевый болт, 6x20 (Bolt, flange, 6x20)

2 шт640 руб. 
1950381-ZZ5-000

Вал наклона (Shaft, tilting)

под заказ19840 руб. 

Время выполнения запроса 1.8496978282928 сек.

 
 

данный сайт носит информационный характер и не является публичной офертой

склад запчастей для водомоторной техники