вконтакте

Контактный телефон: +7 (981) 121-46-93, +7 (800) 200-90-76 , Email: parts-katalog@yandex.ru, где купить

 
 

  Логин:

Пароль:

Регистрация

www.partskatalog.ru Все каталоги Запчасти Mercury Запчасти Suzuki Запчасти Tohatsu Запчасти Honda Контакты



УВАЖАЕМЫЕ КЛИЕНТЫ!
C 19 ДЕКАБРЯ 2025 ПО 02 МАРТА 2026 ГОДА ОТДЕЛ ЗАПЧАСТЕЙ И СЕРВИС РАБОТАТЬ НЕ БУДУТ
ПРОДАЖА ЛОДОЧНЫХ МОТОРОВ В ШТАТНОМ РЕЖИМЕ
ОБ ИЗМЕНЕНИЯХ В ГРАФИКЕ РАБОТЫ ЧИТАЙТЕ НА САЙТА



назад Раздел:   вперёд

Модификация Вашего двигателя:   Honda BF30D4 SHW
Модели с серийным номером двигателя от BEAUJ-1000001 до BEAUJ-9999999
Модели с серийным номером рамы от BAUJ-1000001 до BAUJ-1099999

Вернуться к выбору узлов мотора

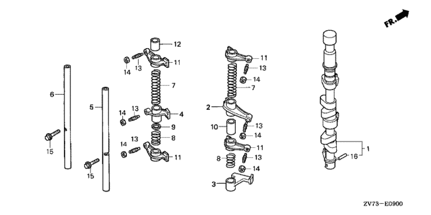
   Распределительный вал (1)
Camshaft (1)      


ДЕТАЛИРОВКА ДЛЯ МОДЕЛИ: HONDA BF30D4

Подвесной 4-тактный лодочный двигатель BF30D4 - Распределительный вал (1)
Номер на
рисунке
АртикулНаименованиеКол-во
на складе
Цена
114110-ZW2-F30

Распределительный вал, комплект (Camshaft comp.)

под заказпо запросу 
214431-ZW2-F00

Arm, in. Клапан rocker (Arm, in. valve rocker)

под заказпо запросу 
314436-ZW2-F00

Рычаг коромысла топливного насоса (Arm, fuel pump rocker)

под заказпо запросу 
414441-ZW2-F00

Arm, ex. Клапан rocker (Arm, ex. valve rocker)

под заказпо запросу 
514461-ZW2-F30

Вал входного коромысла (Shaft, in. rocker arm)

под заказпо запросу 
614471-ZW2-F30

Вал выходного коромысла (Shaft, ex. rocker arm)

под заказпо запросу 
714481-ZW2-F30

Пружина коромысла (c) (Spring, rocker arm (c))

под заказпо запросу 
814482-ZV7-000

Пружина коромысла (b) (Spring, rocker arm (b))

под заказ280 руб. 
914482-ZW2-F30

Воротник коромысла arm (a) (Collar, rocker arm (a))

под заказпо запросу 
1014483-ZW2-F30

Воротник коромысла arm (b) (Collar, rocker arm (b))

под заказпо запросу 
1114621-ZV7-000

Плечо коромысла клапана (Arm, valve rocker)

под заказ7680 руб. 
1214636-ZV7-000

Воротник коромысла (Collar, rocker)

под заказ650 руб. 
1390012-333-000

Винт регулировки толкателя клапана (Screw, tappet adjusting)

1 шт360 руб. 
1490206-001-000

Гайка регулировки толкателя клапана (Nut, tappet adjusting)

1 шт110 руб. 
1595801-060-280-9

Фланцевый болт, 6x28 (Bolt, flange, 6x28)

под заказ130 руб. 
1696220-30168

Ролик, 3x16.8 (Roller, 3x16.8)

под заказ50 руб. 

Время выполнения запроса 2.6895821094513 сек.

 
 

данный сайт носит информационный характер и не является публичной офертой

склад запчастей для водомоторной техники