вконтакте

Контактный телефон: +7 (981) 121-46-93, +7 (800) 200-90-76 , Email: parts-katalog@yandex.ru, где купить

 
 

  Логин:

Пароль:

Регистрация

www.partskatalog.ru Все каталоги Запчасти Mercury Запчасти Suzuki Запчасти Tohatsu Запчасти Honda Контакты

назад Раздел:   вперёд

Модификация Вашего двигателя:   Honda BF30D4 LBSE
Модели с серийным номером двигателя от BEAUJ-1000001 до BEAUJ-9999999
Модели с серийным номером рамы от BAUJ-1000001 до BAUJ-1099999

Вернуться к выбору узлов мотора

   Комплект для установки мотора на лодку
Outboard Installation Kit      


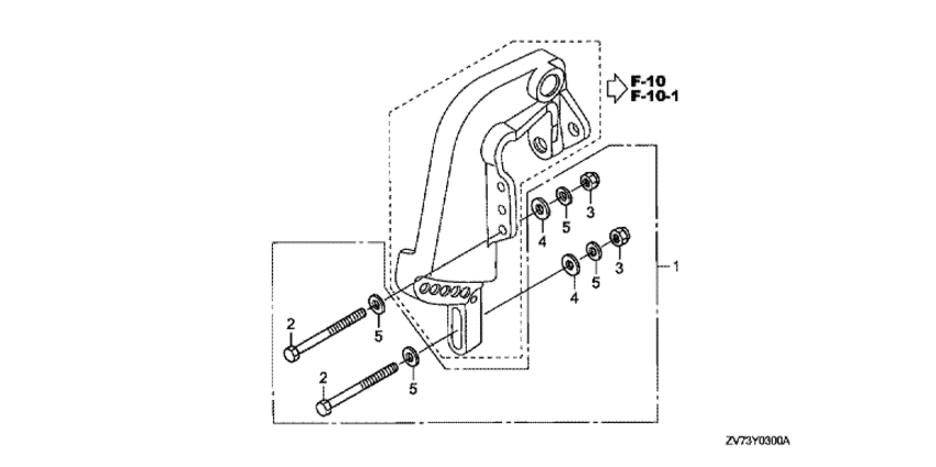
ДЕТАЛИРОВКА ДЛЯ МОДЕЛИ: HONDA BF30D4

Подвесной четырёх-тактный лодочный двигатель BF30D4 - Комплект для установки мотора на лодку / Outboard Installation Kit
Номер на
рисунке
АртикулНаименованиеКол-во
на складе
Цена
106413-ZV7-000

Установочный комплект для лодочного мотора (Installation kit, outboard)

под заказ9640 руб. 
290129-ZV7-000

Болт под шестигранник., 10x100 (Bolt, hex., 10x100)

под заказ1860 руб. 
390306-ZV5-003

Гайка с замком, 10 мм (Nut, self-lock, 10mm)

под заказ650 руб. 
490552-ZV7-000

Плоская шайба, 10 мм (Washer, plain, 10mm)

под заказ1480 руб. 
590563-ZV5-000

Плоская шайба, 10 мм (Washer, plain, 10mm)

под заказ500 руб. 

Время выполнения запроса 0.28120994567871 сек.

 
 

данный сайт носит информационный характер и не является публичной офертой

склад запчастей для водомоторной техники