вконтакте

Контактный телефон: +7 (981) 121-46-93, +7 (800) 200-90-76 , Email: parts-katalog@yandex.ru, где купить

 
 

  Логин:

Пароль:

Регистрация

www.partskatalog.ru Все каталоги Запчасти Mercury Запчасти Suzuki Запчасти Tohatsu Запчасти Honda Контакты

назад Раздел:   вперёд

Модификация Вашего двигателя:   Honda BF30D4 LHE
Модели с серийным номером двигателя от BEAUJ-1000001 до BEAUJ-9999999
Модели с серийным номером рамы от BAUJ-1000001 до BAUJ-1099999

Вернуться к выбору узлов мотора

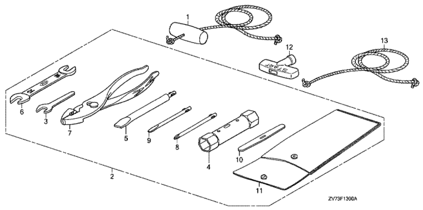
   Инструмент
Tool      


ДЕТАЛИРОВКА ДЛЯ МОДЕЛИ: HONDA BF30D4

Подвесной лодочный 4x-тактный двигатель BF30D4 - Tool
Номер на
рисунке
АртикулНаименованиеКол-во
на складе
Цена
128470-816-000

Шнур стартера (Rope, starter)

под заказ1630 руб. 
289000-ZV5-000

Набор инструмента (Tool kit)

под заказ7350 руб. 
289000-ZV5-010

(последний код) TOOL KIT

под заказ7350 руб. 
389203-836-000

Гаечный ключ, 8 мм (Spanner, 8mm)

под заказ1480 руб. 
489211-881-000

Трубчатый ключ (p18x19) (Wrench, box (p18x19))

под заказ1520 руб. 
589301-921-010

Отвёртка для контрольного болта (Driver, check bolt)

под заказ810 руб. 
699001-10120

Гаечный ключ (Spanner)

под заказ600 руб. 
799002-13500

Плоскогубцы (Pliers)

под заказ1590 руб. 
899003-10000

Отвёртка 1 (Driver 1)

под заказ250 руб. 
999003-30000

Отвёртка 3 (Driver 3)

под заказ250 руб. 
10 9900340000

Рычаг (Lever)

под заказ240 руб. 
11 9900802000

Сумка для инструмента, 200 мм (Bag, tool, 200mm)

под заказ620 руб. 
1189101-ME5-670

Сумка для инструмента (Bag, tool)

под заказ710 руб. 

Время выполнения запроса 0.36228179931641 сек.

 
 

данный сайт носит информационный характер и не является публичной офертой

склад запчастей для водомоторной техники