вконтакте

Контактный телефон: +7 (981) 121-46-93, +7 (800) 200-90-76 , Email: parts-katalog@yandex.ru, где купить

 
 

  Логин:

Пароль:

Регистрация

www.partskatalog.ru Все каталоги Запчасти Mercury Запчасти Suzuki Запчасти Tohatsu Запчасти Honda Контакты



УВАЖАЕМЫЕ КЛИЕНТЫ!
C 19 ДЕКАБРЯ 2025 ПО 02 МАРТА 2026 ГОДА ОТДЕЛ ЗАПЧАСТЕЙ И СЕРВИС РАБОТАТЬ НЕ БУДУТ
ПРОДАЖА ЛОДОЧНЫХ МОТОРОВ В ШТАТНОМ РЕЖИМЕ
ОБ ИЗМЕНЕНИЯХ В ГРАФИКЕ РАБОТЫ ЧИТАЙТЕ НА САЙТА



назад Раздел:   вперёд

Модификация Вашего двигателя:   Honda BF25A2 LHC
Модели с серийным номером двигателя от BAJE-2000001 до BAJE-9999999
Модели с серийным номером рамы от BAJS-3220001 до BAJS-3299991

Вернуться к выбору узлов мотора

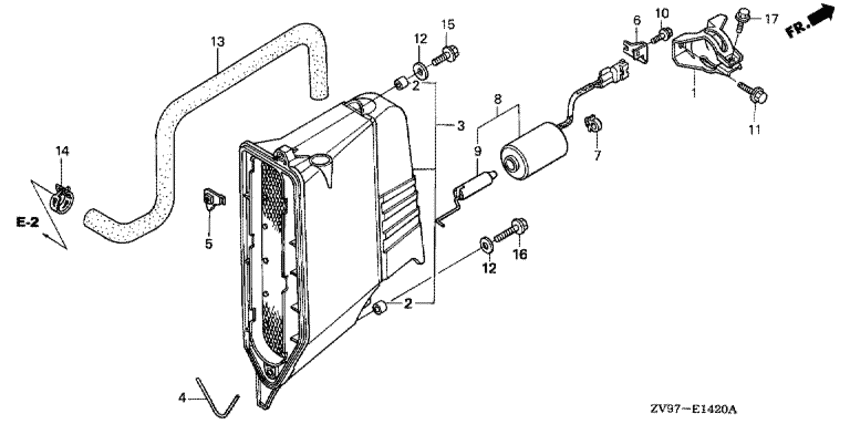
   Корпус глушителя
Silencer Cover      


ДЕТАЛИРОВКА ДЛЯ МОДЕЛИ: HONDA BF25A2

Подвесной  двигатель Honda BF25A2 - Silencer Cover
Номер на
рисунке
АртикулНаименованиеКол-во
на складе
Цена
217202-ZV4-300

Промежуточный воротник (Collar, distance)

под заказ610 руб. 
317390-ZV5-010

Кожух глушителя (Cover comp., silencer)

под заказ30640 руб. 
417394-ZV5-000

Прокладка крышки глушителя (Packing, silencer cover)

под заказ550 руб. 
517398-ZV5-000

Гайка корпуса глушителя (Nut, silencer cover)

под заказ1410 руб. 
517398-ZV5-010

Гайка корпуса глушителя (Nut, silencer cover)

под заказ1500 руб. 
517398-ZV5-020

(последний код) Nut, silencer cover

под заказ2110 руб. 
1290545-323-700

Шайба, 6.5x18 (Washer, 6.5x18)

под заказ600 руб. 
1391401-ZV7-000

Трубка сапуна (Tube, breather)

под заказпо запросу 
1490601-ZV3-000

Струбцина трубки (d17) (Clamp, tube (d17))

под заказпо запросу 
1595701-0602502

Фланцевый болт, 6x25 (Bolt, flange, 6x25)

под заказ150 руб. 
1590019-ZW5-000

Фланцевый болт, 6x25 (Bolt, flange, 6x25)

под заказпо запросу 
1695701-060-400-2

Фланцевый болт, 6x40 (Bolt, flange, 6x40)

под заказ150 руб. 
1690145-ZW4-000

Фланцевый болт, 6x40 (Bolt, flange, 6x40)

под заказ290 руб. 

Время выполнения запроса 0.32641005516052 сек.

 
 

данный сайт носит информационный характер и не является публичной офертой

склад запчастей для водомоторной техники