вконтакте

Контактный телефон: +7 (981) 121-46-93, +7 (800) 200-90-76 , Email: parts-katalog@yandex.ru, где купить

 
 

  Логин:

Пароль:

Регистрация

www.partskatalog.ru Все каталоги Запчасти Mercury Запчасти Suzuki Запчасти Tohatsu Запчасти Honda Контакты

назад Раздел:   вперёд

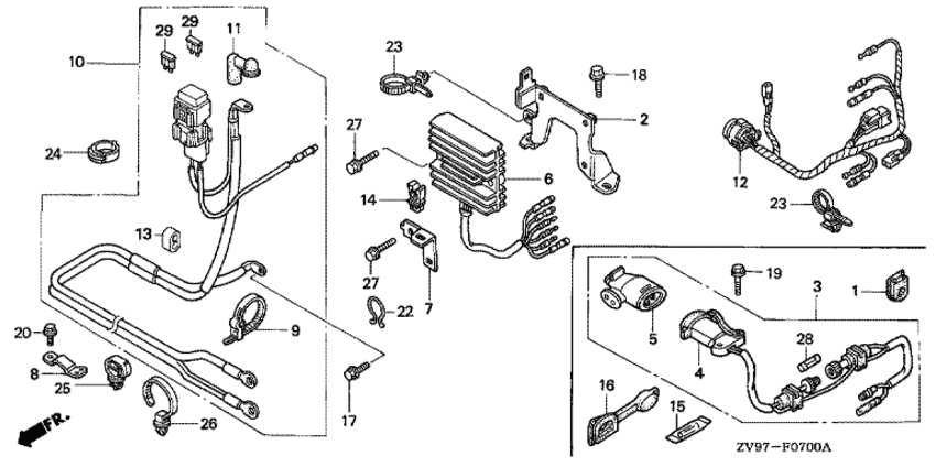
Модификация Вашего двигателя:   Honda BF25A3 LRSC
Модели с серийным номером двигателя от BAJE-2000001 до BAJE-9999999
Модели с серийным номером рамы от BAJS-3300001 до BAJS-3399999

Вернуться к выбору узлов мотора

   Регулятор
Regulator      


ДЕТАЛИРОВКА ДЛЯ МОДЕЛИ: HONDA BF25A3

Подвесной  мотор BF25A3 - Regulator
Номер на
рисунке
АртикулНаименованиеКол-во
на складе
Цена
231604-ZV7-781

Кронштейн регулятора (Bracket, regulator)

под заказ3880 руб. 
231604-ZV7-782

(последний код) Bracket, regulator

под заказ0 руб. 
631750-ZV7-781

Выпрямитель-регулятор, в сборе (12v) (Rectifier assy., regulator (12v))

под заказ31620 руб. 
732108-ZV7-010

Кронштейн коннектора (Bracket, connector)

под заказ1530 руб. 
832112-ZV7-751

Кронштейн зажима кабеля (s) (Bracket, cable clip (s))

под заказ1980 руб. 
832112-ZV7-752

(последний код) BRACKET, CABLE CLIP (S)

под заказ1730 руб. 
932121-HA0-003

Ремешок шнура (Band, cord)

под заказ840 руб. 
1032410-ZV7-750

Кабель стартера, в сборе (Cable assy., starter)

под заказ38630 руб. 
1132411-ZV7-751

Колпачок свечи зажигания (Cover, terminal)

под заказ1340 руб. 
1232520-ZV7-780

Кабель для дистанционного управления (Cable assy., remote control)

под заказ17510 руб. 
1332903-701-000

Фиксатор высоковольтного провода (Clamper, high tension cord)

под заказ140 руб. 
1437304-PE1-661

Зажим b (Clip b)

под заказ630 руб. 
1790013-ZW4-000

Фланцевый болт, 6x12 (ct200) (Bolt, flange, 6x12 (ct200))

под заказ490 руб. 
1890013-ZV0-010

Фланцевый болт, 6x12 (Bolt, flange, 6x12)

под заказ350 руб. 
2090019-ZV1-010

Фланцевый болт, 5x10 (Bolt, flange, 5x10)

под заказ280 руб. 
2390672-SA0-003

Хомут (Strap)

под заказ870 руб. 
2490683-KJ2-003

Зажим под жгут проводов (Clip, wire harness)

под заказ610 руб. 
2691547-SF4-003

Ремешок (Band)

под заказ960 руб. 
2790018-ZW5-000

Фланцевый болт, 6x20 (Bolt, flange, 6x20)

под заказ290 руб. 
2998200-31500

Предохранитель (Fuse)

под заказ70 руб. 

Время выполнения запроса 0.37481093406677 сек.

 
 

данный сайт носит информационный характер и не является публичной офертой

склад запчастей для водомоторной техники