вконтакте

Контактный телефон: +7 (981) 121-46-93, +7 (800) 200-90-76 , Email: parts-katalog@yandex.ru, где купить

 
 

  Логин:

Пароль:

Регистрация

www.partskatalog.ru Все каталоги Запчасти Mercury Запчасти Suzuki Запчасти Tohatsu Запчасти Honda Контакты

назад Раздел:   вперёд

Модификация Вашего двигателя:   Honda BF25A3 LHC
Модели с серийным номером двигателя от BAJE-2000001 до BAJE-9999999
Модели с серийным номером рамы от BAJS-3300001 до BAJS-3399999

Вернуться к выбору узлов мотора

   Наборы для ремонта водяного насоса
Impeller Pump Kit      


ДЕТАЛИРОВКА ДЛЯ МОДЕЛИ: HONDA BF25A3

Подвесной  лодочный двигатель HONDA BF25A3 - Наборы для ремонта водяного насоса - Impeller Pump Kit
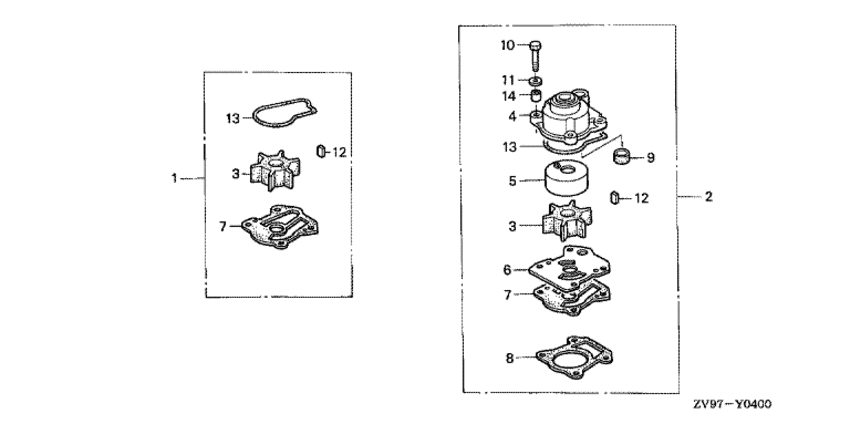
Номер на
рисунке
АртикулНаименованиеКол-во
на складе
Цена
106192-ZV7-000

Ремкомплект водяной помпы (Pump kit, impeller)

2 шт4440 руб. 
1SK06192-ZV7-000

   (не оригинальный аналог) Ремкомплект помпы Standard Skipper для Honda 20-30

0 шт1075 руб.
206193-ZV7-010

Ремкомплект водяной помпы (Pump kit, impeller)

под заказ16920 руб. 
206193-ZV7-020

(последний код) PUMP KIT, IMPELLER

1 шт13920 руб. 
319210-ZV7-003

Крыльчатка водяной помпы (Impeller, pump)

1 шт3870 руб. 
3SK19210-ZV7-003

   (не оригинальный аналог) Крыльчатка Standard Skipper для Honda BF20-30

0 шт656 руб.
3T-500339

   (не оригинальный аналог) Крыльчатка помпы охлаждения двигателя Honda 500339 (CEF)

под заказ2460 руб.
3T-19210-ZV7-003

   (не оригинальный аналог) Крыльчатка помпы охлаждения двигателя Honda 19210-ZV7-003 (MIZASHI)

под заказ1080 руб.
3T-SC-WT143

   (не оригинальный аналог) Крыльчатка помпы охлаждения двигателя Honda SC-WT143 (MIZASHI)

под заказ1030 руб.
419221-ZV5-000

Корпус крыльчатки (Housing, impeller)

2 шт4490 руб. 
519223-ZV5-000

Гильза помпы (Liner, pump)

1 шт3180 руб. 
619231-ZV7-000

Колпак крыльчатки (Cover, impeller)

2 шт2900 руб. 
719233-ZV5-000

Прокладка B крыльчатки (Gasket b, impeller)

2 шт1170 руб. 
819242-ZV5-000

Прокладка водяной помпы (Gasket, water pump)

3 шт1170 руб. 
919253-ZV5-000

Кольцо сальника водяной трубки (Ring, water tube seal)

2 шт740 руб. 
1090114-881-000

Болт под шестигранник., 6x40 (Bolt, hex., 6x40)

под заказ370 руб. 
1190512-921-010

Шайба, 6 мм (Washer, 6mm)

6 шт380 руб. 
1290752-ZV7-000

Ключ, woodruff, 5 мм (Key, woodruff, 5mm)

12 шт530 руб. 
1391356-ZV5-000

Уплотнительное кольцо водяной помпы (O-ring, water pump)

3 шт710 руб. 
1491555-ZV5-000

Воротник корпуса крыльчатки (Collar, impeller housing)

17 шт620 руб. 

Время выполнения запроса 0.35531401634216 сек.

 
 

данный сайт носит информационный характер и не является публичной офертой

склад запчастей для водомоторной техники