Контактный телефон: +7 (981) 121-46-93, +7 (800) 200-90-76 , Email: parts-katalog@yandex.ru, где купить |
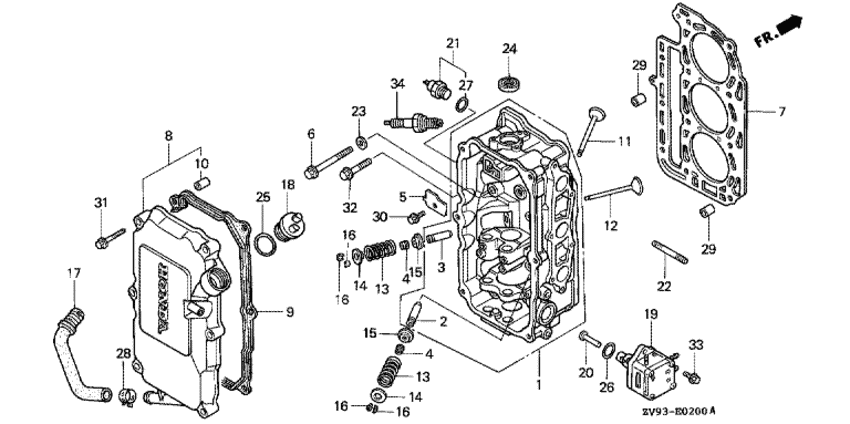
Модификация Вашего двигателя: Honda BF25A XRSD Вернуться к выбору узлов мотора Головка блока цилиндра |
|||||||||||||||||||||||||||||||||||||||||||||||||||||||||||||||||||||||||||||||||||||||||||||||||||||||||||||||||||||||||||||||||||||||||||||||||||||||||||||||||||||||||||||||||||||||||||||||||||||||||||||||||||||||||||||||||||||||||||||||||||||||||||||||||||||||||||||||
| Номер на рисунке | Артикул | Наименование | Кол-во на складе | Цена | |
| 1 | 12210-ZV7-010ZA | Головка цилиндра, комплект *nh8 * (Head comp., cylinder *nh8 *) | под заказ | 141910 руб. | |
| 1 | 04101-ZV7-505ZA | (последний код) HEAD KIT,CYL*NH8* | под заказ | 141910 руб. | |
| 2 | 12204-ZV4-315 | Направляющая впускного клапана (os) (Guide, in. valve (os)) | под заказ | 1840 руб. | |
| 3 | 12205-ZV4-315 | Направляющая выпускного клапана (os) (Guide, ex. valve (os)) | под заказ | 1840 руб. | |
| 4 | 12209-KL4-005 | Сальник штока клапана (nok) (Seal, valve stem (nok)) | под заказ | 1280 руб. | |
| 4 | 12208-413-003 | (последний код) SEAL, VALVE STEM (ARAI) | 6 шт | 1280 руб. | |
| 5 | 12212-ZV7-000 | Пластина масляной камеры (Plate, oil chamber) | под заказ | 1090 руб. | |
| 6 | 12228-ZV7-000 | Фланцевый болт, 8x80 (Bolt, flange, 8x80) | под заказ | 460 руб. | |
| 7 | 12251-ZV7-004 | Прокладка головки блока цилиндра (Gasket, cylinder head) | 2 шт | 8990 руб. | |
| 8 | 12310-ZV7-000 | Крышка головки цилиндра (Cover comp., cylinder head) | под заказ | 29310 руб. | |
| 9 | 12312-ZV7-000 | Прокладка крышки головки цилиндра (Packing, head cover) | под заказ | 5110 руб. | |
| 9 | 12312-ZV7-010 | (последний код) PACKING, HEAD COVER | 1 шт | 3650 руб. | |
| 10 | 12314-ZV5-300 | Воротник крышки головки цилиндра (Collar, head cover) | под заказ | 840 руб. | |
| 11 | 14711-ZV4-000 | Клапан, впускной (Valve, in) | под заказ | 3820 руб. | |
| 12 | 14721-ZV7-000 | Клапан, выпускной (Valve, ex) | под заказ | 3830 руб. | |
| 13 | 14751-ZV4-000 | Пружина клапана (Spring, valve) | под заказ | по запросу | |
| 14 | 14771-ZV1-000 | Держатель пружину клапана (Retainer, valve spring) | под заказ | 1500 руб. | |
| 15 | 14775-028-010 | Седло пружины клапана (Seat, valve spring) | под заказ | 410 руб. | |
| 16 | 14781-107-003 | Шпонка клапана (sanko) (Cotter, valve (sanko)) | 4 шт | 320 руб. | |
| 17 | 15422-ZV7-000 | Масляная трубка (Tube, oil) | под заказ | 5920 руб. | |
| 18 | 15611-ZV4-000 | Крышка заливной горловины масла (Cap, oil) | 2 шт | 960 руб. | |
| 19 | 16700-ZV5-003 | Топливный насос, в сборе (Pump assy., fuel) | под заказ | 22730 руб. | |
| 19 | 16700-ZW1-004 | (последний код) PUMP ASSY., FUEL | 1 шт | 20900 руб. | |
| 20 | 16716-ZV5-000 | Лифтер топливного насоса (Lifter, fuel pump) | под заказ | 1170 руб. | |
| 21 | 37760-ZV7-013 | Переключатель в сборе., Термостат (Switch assy., thermostat) | под заказ | 10420 руб. | |
| 22 | 90006-ZV5-000 | Болт под шпильку, 6x28 (Bolt, stud, 6x28) | под заказ | по запросу | |
| 23 | 90405-ZV5-000 | Плоская шайба, 8 мм (Washer, plain, 8mm) | под заказ | 420 руб. | |
| 23 | 90405-ZV5-010 | (последний код) WASHER, PLAIN, 8MM | 5 шт | 420 руб. | |
| 24 | 91202-KJ9-003 | Сальник, 20x32x6 (Oil seal, 20x32x6) | 2 шт | 950 руб. | |
| 25 | 91301-805-000 | Уплотнительное кольцо, 26x2.7 (O-ring, 26x2.7) | под заказ | 380 руб. | |
| 26 | 91306-921-000 | Уплотнительное кольцо, 20.8x2.4 (O-ring, 20.8x2.4) | под заказ | 440 руб. | |
| 26 | 91351-MG7-003 | (последний код) O-RING 20.6X2.4 | 4 шт | 440 руб. | |
| 27 | 91307-611-000 | Уплотнительное кольцо (O-ring) | под заказ | 440 руб. | |
| 27 | 91307-PH7-660 | (последний код) O-RING, 13.5X1.4 | 1 шт | 360 руб. | |
| 28 | 90601-ZV3-000 | Струбцина трубки (d17) (Clamp, tube (d17)) | под заказ | по запросу | |
| 29 | 94301-10120 | Шпонка (Dowel pin) | под заказ | 270 руб. | |
| 30 | 95701-060-120-9 | Фланцевый болт, 6x12 (Bolt, flange, 6x12) | под заказ | 90 руб. | |
| 31 | 95701-0603502 | Фланцевый болт, 6x35 (Bolt, flange, 6x35) | под заказ | 120 руб. | |
| 32 | 95701-0804002 | Фланцевый болт, 8x40 (Bolt, flange, 8x40) | под заказ | 150 руб. | |
| 33 | 96001-0602002 | Фланцевый болт, 6x20 (Bolt, flange, 6x20) | под заказ | 150 руб. | |
| 34 | 98069-5771P | Свеча зажигания (dr7ea) (ngk) (Plug, spark (dr7ea) (ngk)) | под заказ | 650 руб. | |
| 34 | 9806957726 | Свеча зажигания (x22esr-u) (denso) (Plug, spark (x22esr-u) (denso)) | 1 шт | 650 руб. | |
Время выполнения запроса 0.80955696105957 сек.
склад запчастей для водомоторной техники