Контактный телефон: +7 (981) 121-46-93, +7 (800) 200-90-76 , Email: parts-katalog@yandex.ru, где купить |
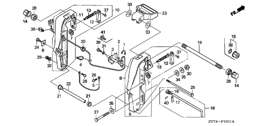
Модификация Вашего двигателя: Honda BF25D4 LRTU Вернуться к выбору узлов мотора Кронштейн транца (2) |
|||||||||||||||||||||||||||||||||||||||||||||||||||||||||||||||||||||||||||||||||||||||||||||||||||||||||||||||||||||||||||||||||||||||||||||||||||||||||||||||||||||||||||||||||||||||||||||||||||||||||||||||||||||||||||||||||||||||||||
| Номер на рисунке | Артикул | Наименование | Кол-во на складе | Цена | |
| 1 | 17735-ZW2-F10 | Гофрированная трубка, 7 мм (Tube, corrugate, 7mm) | под заказ | 360 руб. | |
| 2 | 35660-ZW2-F11 | Датчик угла дифферента (Sensor assy., trim angle) | под заказ | 21810 руб. | |
| 3 | 35661-ZW2-F10 | Кронштейн датчика угла дифферента (Bracket, trim angle sensor) | под заказ | 1300 руб. | |
| 4 | 35701-MG9-950 | Ремешок (чёрный 3.5x140) (Band (black 3.5x140)) | под заказ | 380 руб. | |
| 5 | 40219-ZY1-003 | Подводящий провод (1.5x170 мм) (Wire, lead (1.5x170mm)) | под заказ | 2070 руб. | |
| 5 | 40219-ZY1-013 | Подводящий провод (1.5x170 мм) (Wire, lead (1.5x170mm)) | под заказ | 2070 руб. | |
| 6 | 41106-ZW9-000 | Металлический анод (Metal, anode) | 2 шт | 1790 руб. | |
| 9 | 50301-ZW2-F10 | Кормовой кронштейн, правый (Bracket, r. stern) | под заказ | 72250 руб. | |
| 9 | 50301-ZW2-F10ZA | (последний код) BRACKET, R. STERN | под заказ | 0 руб. | |
| 11 | 50311-ZW2-F10 | Кормовой кронштейн, левый (Bracket, l. stern) | под заказ | по запросу | |
| 11 | 50311-ZW2-F11 | Кормовой кронштейн, левый (Bracket, l. stern) | под заказ | по запросу | |
| 14 | 50331-ZV5-000 | Колпачок болта опрокидывания (Cap, tilting bolt) | под заказ | 1010 руб. | |
| 15 | 50335-ZV5-000 | Колпачок в сборе (Cap assy.) | под заказ | 1760 руб. | |
| 16 | 50340-ZY1-871 | Регулировочная штанга, комплект (Rod comp., adjusting) | 4 шт | 5340 руб. | |
| 17 | 50342-ZV5-300 | Стопор тяги (Stopper, rod) | под заказ | 1100 руб. | |
| 18 | 50343-921-300 | Пружина регулировки тяги (Spring, adjusting rod) | под заказ | 420 руб. | |
| 19 | 50381-ZV5-010 | Вал наклона (Shaft, tilting) | под заказ | 19840 руб. | |
| 19 | 50381-ZZ5-000 | (последний код) SHAFT, TILTING | под заказ | 19840 руб. | |
| 20 | 56118-ZV5-820 | Втулка кода двигателя (Bush, motor code) | под заказ | 1320 руб. | |
| 21 | 56513-ZV5-000 | Втулка нижнего цилиндра (Bush, lower cylinder) | 2 шт | 610 руб. | |
| 22 | 56539-ZY1-870 | Воротник нижнего цилиндра (Collar, lower cylinder) | под заказ | 11600 руб. | |
| 24 | 90102-ZW9-000 | Фланцевый болт, 6x12 (Bolt, flange, 6x12) | 5 шт | 460 руб. | |
| 25 | 90108-ZY1-870 | Болт под шестигранник., 8x203 (Bolt, hex., 8x203) | под заказ | 2200 руб. | |
| 26 | 90119-ZV5-000 | Винт с чашечкой, 6x8 (Screw, pan, 6x8) | под заказ | 200 руб. | |
| 27 | 90129-ZV7-000 | Болт под шестигранник., 10x100 (Bolt, hex., 10x100) | под заказ | 1860 руб. | |
| 28 | 90304-ZV5-013 | Гайка с замком (7 / 8-14unf) (Nut, self-lock (7/8-14unf)) | под заказ | 2950 руб. | |
| 29 | 90305-ZV4-000 | Гайка с замком, 8 мм (Nut, self-lock, 8mm) | под заказ | 550 руб. | |
| 30 | 90306-ZV5-003 | Гайка с замком, 10 мм (Nut, self-lock, 10mm) | под заказ | 650 руб. | |
| 32 | 90507-ZV4-000 | Плоская шайба, 8 мм (Washer, plain, 8mm) | под заказ | 360 руб. | |
| 33 | 90517-ZV5-000 | Волнистая шайба, 22 мм (Washer, wave, 22mm) | под заказ | 1070 руб. | |
| 34 | 90552-ZV7-000 | Плоская шайба, 10 мм (Washer, plain, 10mm) | под заказ | 1480 руб. | |
| 35 | 90563-ZV5-000 | Плоская шайба, 10 мм (Washer, plain, 10mm) | под заказ | 500 руб. | |
| 36 | 90681-763-A01 | Зажим под жгут проводов (Clip, wire harness) | под заказ | 1590 руб. | |
| 38 | 91352-ZV5-000 | Уплотнительное кольцо, 15.54x2.26 (O-ring, 15.54x2.26) | 3 шт | 290 руб. | |
| 40 | 94305-25083 | Стопор пружины, 2.5x8 (Pin, spring, 2.5x8) | под заказ | 70 руб. | |
| 41 | 90105-ZW9-000 | Фланцевый болт, 6x20 (Bolt, flange, 6x20) | 2 шт | 640 руб. | |
Время выполнения запроса 0.80011296272278 сек.
склад запчастей для водомоторной техники