вконтакте

Контактный телефон: +7 (981) 121-46-93, +7 (800) 200-90-76 , Email: parts-katalog@yandex.ru, где купить

 
 

  Логин:

Пароль:

Регистрация

www.partskatalog.ru Все каталоги Запчасти Mercury Запчасти Suzuki Запчасти Tohatsu Запчасти Honda Контакты



УВАЖАЕМЫЕ КЛИЕНТЫ!
C 19 ДЕКАБРЯ 2025 ПО 02 МАРТА 2026 ГОДА ОТДЕЛ ЗАПЧАСТЕЙ И СЕРВИС РАБОТАТЬ НЕ БУДУТ
ПРОДАЖА ЛОДОЧНЫХ МОТОРОВ В ШТАТНОМ РЕЖИМЕ
ОБ ИЗМЕНЕНИЯХ В ГРАФИКЕ РАБОТЫ ЧИТАЙТЕ НА САЙТА



назад Раздел:   вперёд

Модификация Вашего двигателя:   Honda BF25D4 LHK
Модели с серийным номером двигателя от BEATJ-1000001 до BEATJ-9999999
Модели с серийным номером рамы от BATJ-1000001 до BATJ-1099999

Вернуться к выбору узлов мотора

   Катушка зажигания / Блок управления C.D.I.
Ignition Coil / C.d.i. Unit      


ДЕТАЛИРОВКА ДЛЯ МОДЕЛИ: HONDA BF25D4

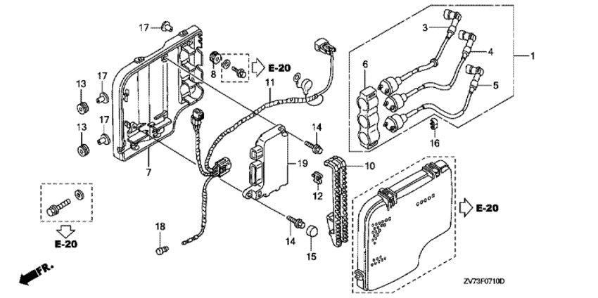
Подвесной лодочный  двигатель Honda BF25D4 - Катушка зажигания / Блок управления C.D.I.
Номер на
рисунке
АртикулНаименованиеКол-во
на складе
Цена
130500-ZW2-F01

Катушка зажигания, в сборе (Coil assy., ignition)

под заказ12910 руб. 
330511-ZV7-003

Катушка зажигания, комплект (1) (Coil comp., ignition (1))

под заказ4670 руб. 
430512-ZV7-003

Катушка зажигания, комплект (2) (Coil comp., ignition (2))

под заказ4670 руб. 
530513-ZW2-F01

Катушка зажигания, комплект (3) (Coil comp., ignition (3))

под заказ4670 руб. 
630516-ZV5-003

Подвес катушки зажигания (Suspension, ignition coil)

1 шт1600 руб. 
730587-ZW2-F01

Корпус модуля C.D.I. (Case, c.d.i. unit)

под заказ7340 руб. 
830598-ZV5-000

Пыльник корпуса модуля C.D.I. (b) (Grommet, c.d.i. unit case (b))

под заказ910 руб. 
1032106-ZV5-010

Кронштейн коннектора (a) (Bracket, connector (a))

под заказ1880 руб. 
1132160-ZW2-F00

Электропроводка модуля C.D.I. (2) (Cable assy., c.d.i. unit (2))

под заказ10390 руб. 
1232805-413-000

Зажим кабеля мигающего светового сигнала (Clip, winker cord)

под заказ110 руб. 
1340102-ZV5-000

Пыльник под корпусом (Grommet, under case)

под заказ430 руб. 
1490018-ZW5-000

Фланцевый болт, 6x20 (Bolt, flange, 6x20)

под заказ290 руб. 
1590082-ZW4-H01

Колпчок болта, 6 мм (Cap, bolt, 6mm)

под заказ720 руб. 
1690658-ZA0-930

Зажим высоковольтного провода (Clip, high tension cord)

под заказ210 руб. 
1791553-ZV5-010

Воротниковая втулка корпуса модуля C.D.I. (Collar, c.d.i. unit case)

под заказ580 руб. 
1832823-ZV5-003

Заглушка внутреннего разъёма (Plug, inner connector)

под заказ960 руб. 
1930400-ZV7-F02

Блок управления C.D.I. (C.d.i. unit)

под заказпо запросу 
1930400-ZV7-F03

Блок управления C.D.I. (C.d.i. unit)

под заказпо запросу 

Время выполнения запроса 1.0176060199738 сек.

 
 

данный сайт носит информационный характер и не является публичной офертой

склад запчастей для водомоторной техники