Контактный телефон: +7 (981) 121-46-93, +7 (800) 200-90-76 , Email: parts-katalog@yandex.ru, где купить |
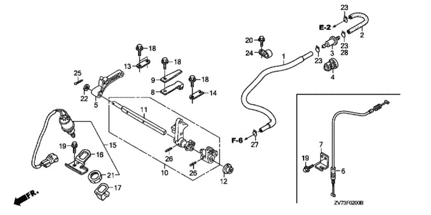
Модификация Вашего двигателя: Honda BF25D4 LRTW Вернуться к выбору узлов мотора Переключающий вал |
|||||||||||||||||||||||||||||||||||||||||||||||||||||||||||||||||||||||||||||||||||||||||||||||||||||||||||||||||||||||||||||||||||||||||||||||||||||||||||||||||||||||||||||||
| Номер на рисунке | Артикул | Наименование | Кол-во на складе | Цена | |
| 1 | 16850-ZV7-000 | Топливная трубка (Tube comp., fuel) | под заказ | 2360 руб. | |
| 2 | 16861-ZV7-000 | Топливная трубка B (Tube b, fuel) | под заказ | 1020 руб. | |
| 3 | 16910-ZV4-015 | Топливный фильтр (сетчатый) (Strainer comp., fuel) | 3 шт | 1900 руб. | |
| 4 | 16915-ZV4-000 | Подвес для топливного фильтра (Suspension, strainer) | под заказ | 780 руб. | |
| 5 | 17930-ZV5-000 | Рукоятка дросселя (Arm comp., throttle) | под заказ | 3370 руб. | |
| 8 | 24210-ZV1-010 | Нажимная пружина, комплект (Spring comp., click) | под заказ | 2010 руб. | |
| 9 | 24221-ZV4-010 | Пружина с помощью при нажатии (Spring, click assist) | под заказ | 1270 руб. | |
| 10 | 24610-ZV7-010 | Переключающий вал (Shaft comp., shift) | 1 шт | 12220 руб. | |
| 11 | 24611-ZV7-300 | Переключающий вал (Shaft, shift) | под заказ | 4770 руб. | |
| 12 | 24621-ZV4-010 | Втулка вала (Bush, shaft) | под заказ | 610 руб. | |
| 13 | 24625-ZV5-010 | Пластина переключателя (Plate, shift) | под заказ | 500 руб. | |
| 14 | 24626-ZV5-010 | Пластина переключающего вала (Plate, shift shaft) | под заказ | 500 руб. | |
| 15 | 35600-ZV7-781 | Переключатель нейтрали, в сборе (Switch assy., neutral) | под заказ | 14090 руб. | |
| 15 | 04302-ZV7-010 | (последний код) SWITCH SET, NEUTRAL | под заказ | 14090 руб. | |
| 16 | 35616-ZV5-010 | Кронштейн переключателя нейтрали (Bracket, neutral switch) | под заказ | 1940 руб. | |
| 17 | 35618-ZV5-000 | Пластина переключателя нейтрали (Plate, neutral switch) | под заказ | 1200 руб. | |
| 18 | 90013-ZV0-010 | Фланцевый болт, 6x12 (Bolt, flange, 6x12) | под заказ | 350 руб. | |
| 20 | 90019-ZV1-010 | Фланцевый болт, 5x10 (Bolt, flange, 5x10) | под заказ | 280 руб. | |
| 21 | 90302-ZV5-003 | Шестигранная гайка, 20 мм (Nut, hex., 20mm) | под заказ | 750 руб. | |
| 22 | 90508-ZV1-000 | Шайба, 7.5 мм (Washer, 7.5mm) | под заказ | 650 руб. | |
| 23 | 90603-ZV4-000 | Зажим трубки (b10) (Clip, tube (b10)) | под заказ | 270 руб. | |
| 24 | 90628-750-000 | Зажим (14 мм) (Clip (14mm)) | под заказ | 560 руб. | |
| 25 | 90756-881-000 | Стопорный шплинт (Pin, split) | под заказ | 230 руб. | |
| 25 | 90759-ZV1-000 | Стопорный шплинт, 2.0 (Pin, split, 2.0) | 2 шт | 230 руб. | |
| 26 | 94305-30203 | Стопор пружины, 3x20 (Pin, spring, 3x20) | под заказ | 150 руб. | |
| 27 | 90604-ZV0-000 | Зажим трубки (b12) (Clip, tube (b12)) | под заказ | 150 руб. | |
Время выполнения запроса 0.56795597076416 сек.
склад запчастей для водомоторной техники