вконтакте

Контактный телефон: +7 (981) 121-46-93, +7 (800) 200-90-76 , Email: parts-katalog@yandex.ru, где купить

 
 

  Логин:

Пароль:

Регистрация

www.partskatalog.ru Все каталоги Запчасти Mercury Запчасти Suzuki Запчасти Tohatsu Запчасти Honda Контакты



УВАЖАЕМЫЕ КЛИЕНТЫ!
C 19 ДЕКАБРЯ 2025 ПО 02 МАРТА 2026 ГОДА ОТДЕЛ ЗАПЧАСТЕЙ И СЕРВИС РАБОТАТЬ НЕ БУДУТ
ПРОДАЖА ЛОДОЧНЫХ МОТОРОВ В ШТАТНОМ РЕЖИМЕ
ОБ ИЗМЕНЕНИЯХ В ГРАФИКЕ РАБОТЫ ЧИТАЙТЕ НА САЙТА



назад Раздел:   вперёд

Модификация Вашего двигателя:   Honda BF25D4 LHG
Модели с серийным номером двигателя от BEATJ-1000001 до BEATJ-9999999
Модели с серийным номером рамы от BATJ-1000001 до BATJ-1099999

Вернуться к выбору узлов мотора

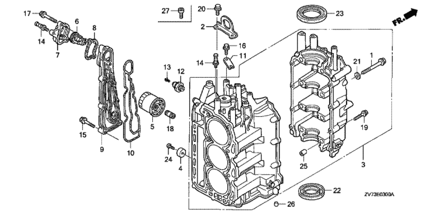
   Блок цилиндра
Cylinder Block      


ДЕТАЛИРОВКА ДЛЯ МОДЕЛИ: HONDA BF25D4

Подвесной лодочный fourstroke двигатель BF25D4 - Блок цилиндра - Cylinder Block
Номер на
рисунке
АртикулНаименованиеКол-во
на складе
Цена
111115-ZV7-010

Фланцевый болт, 8x85 (Bolt, flange, 8x85)

под заказ550 руб. 
211911-ZV7-010

Подвес двигателя (Hanger, engine)

под заказпо запросу 
312000-ZW2-405ZA

Блок цилиндров в сборе (частично) *nh8 * (Block assy., cylinder *nh8 *)

под заказ188230 руб. 
312000-ZW2-425ZA

(последний код) BLOCK ASSY,C*NH8*

под заказ239780 руб. 
412155-ZV5-000

Металлический анод (Metal, anode)

1 шт1370 руб. 
515400-PFB-007

Картридж масляного фильтра (denso) (Cartridge, oil filter (denso))

под заказ1450 руб. 
515400-ZZ3-003

(последний код) CARTRIDGE, OIL FILTER (TO

145 шт2530 руб. 
5T-10-82230

   (не оригинальный аналог) Фильтр масляный 10-82230 (EMGO)

под заказ620 руб.
5T-SC-OT227

   (не оригинальный аналог) Масляный фильтр Honda / Kawasaki / Polaris / Yamaha SC-OT227

под заказпо запросу
515400-PFB-004

Картридж масляного фильтра (toyo roki) (Cartridge, oil filter (toyo roki))

под заказ1450 руб. 
515400-PFB-014

Картридж масляного фильтра (toyo roki) (Cartridge, oil filter (toyo roki))

1 шт2530 руб. 
5W67/1

   (не оригинальный аналог) Масляный фильтр W67/1

21 шт500 руб.
5W67/1

   (не оригинальный аналог) Масляный фильтр W67/1

21 шт500 руб.
619300-ZW9-003

Термостат в сборе. (Thermostat assy.)

под заказ7770 руб. 
719315-ZV5-010ZA

Крышка термостата *nh8 * (Cover, thermostat *nh8 *)

под заказ6200 руб. 
819351-ZV5-000

Прокладка крышки термостата (Gasket, thermostat cover)

6 шт350 руб. 
919361-ZV7-000ZA

Крышка водяной рубашки *nh8 * (Cover, water jacket *nh8 *)

под заказ15220 руб. 
1019371-ZV7-000

Прокладка крышки водяной рубашки (Packing, water jacket cover)

4 шт2060 руб. 
1124626-ZV5-010

Пластина переключающего вала (Plate, shift shaft)

под заказ500 руб. 
1235490-ZW2-F01

Выключатель при низком давлении масла (Switch assy., oil pressure)

под заказ5820 руб. 
1390002-ZW2-F01

Винт с шайбой, 4x8 (Screw-washer, 4x8)

под заказ220 руб. 
1490012-ZV5-013

Болт регулировочной пружины ремня распредвала (Bolt, timing belt adjusting spring)

под заказ670 руб. 
1590012-ZW9-000

Фланцевый болт, 6x22 (ct200) (Bolt, flange, 6x22 (ct200))

под заказ420 руб. 
1590012-ZW9-020

(последний код) BOLT, FLANGE, 6X22 (CT200

под заказ520 руб. 
1690013-ZV0-010

Фланцевый болт, 6x12 (Bolt, flange, 6x12)

под заказ350 руб. 
1790014-ZV7-010

Фланцевый болт, 6x35 (Bolt, flange, 6x35)

под заказ420 руб. 
1790014-ZV7-020

(последний код) BOLT,FLANGE 6X35

под заказ420 руб. 
1890018-PN3-000

Крепление масляного фильтра (Holder, oil filter)

под заказ980 руб. 
1990145-ZW4-000

Фланцевый болт, 6x40 (Bolt, flange, 6x40)

под заказ290 руб. 
2090150-ZW4-000

Фланцевый болт, 8x18 (Bolt, flange, 8x18)

под заказ0 руб. 
2190405-ZV5-010

Плоская шайба, 8 мм (Washer, plain, 8mm)

5 шт420 руб. 
2291201-ZE3-004

Сальник, 35x52x8 (Oil seal, 35x52x8)

3 шт1360 руб. 
2391262-SL4-005

Сальник, 44.5x60.5x8 (nok) (Oil seal, 44.5x60.5x8 (nok))

2 шт2130 руб. 
2493500-060184J

Винт с чашечкой, 6x18 (Screw, pan, 6x18)

под заказ240 руб. 
2594301-10120

Шпонка (Dowel pin)

под заказ270 руб. 
2694303-06100

Шпонка (Dowel pin)

под заказ230 руб. 

Время выполнения запроса 9.6490528583527 сек.

 
 

данный сайт носит информационный характер и не является публичной офертой

склад запчастей для водомоторной техники