вконтакте

Контактный телефон: +7 (981) 121-46-93, +7 (800) 200-90-76 , Email: parts-katalog@yandex.ru, где купить

 
 

  Логин:

Пароль:

Регистрация

www.partskatalog.ru Все каталоги Запчасти Mercury Запчасти Suzuki Запчасти Tohatsu Запчасти Honda Контакты



УВАЖАЕМЫЕ КЛИЕНТЫ!
C 19 ДЕКАБРЯ 2025 ПО 02 МАРТА 2026 ГОДА ОТДЕЛ ЗАПЧАСТЕЙ И СЕРВИС РАБОТАТЬ НЕ БУДУТ
ПРОДАЖА ЛОДОЧНЫХ МОТОРОВ В ШТАТНОМ РЕЖИМЕ
ОБ ИЗМЕНЕНИЯХ В ГРАФИКЕ РАБОТЫ ЧИТАЙТЕ НА САЙТА



назад Раздел:   вперёд

Модификация Вашего двигателя:   Honda BF25D4 SBE
Модели с серийным номером двигателя от BEATJ-1000001 до BEATJ-9999999
Модели с серийным номером рамы от BATJ-1000001 до BATJ-1099999

Вернуться к выбору узлов мотора

   Комплект для установки зарядной розетки (6a)
Charge Receptacle Kit (6a)      


ДЕТАЛИРОВКА ДЛЯ МОДЕЛИ: HONDA BF25D4

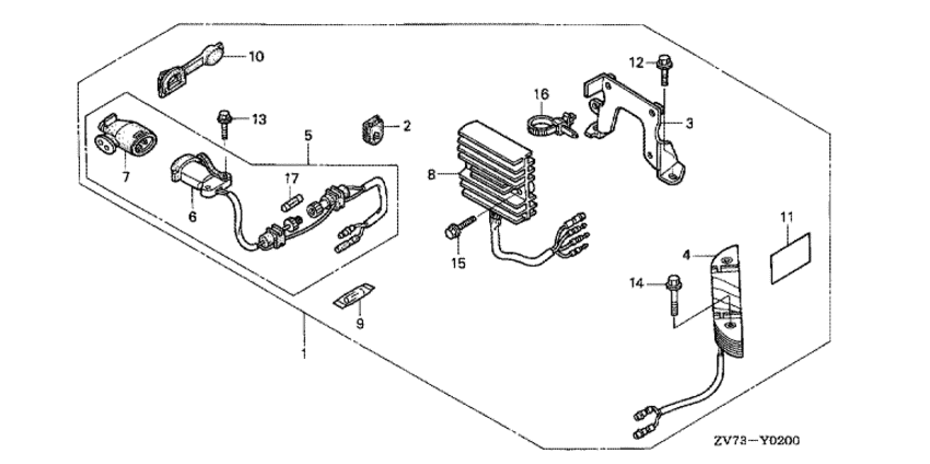
Подвесной четырёх тактный лодочный двигатель HONDA BF25D4 - Комплект для установки зарядной розетки (6a) / Charge Receptacle Kit (6a)
Номер на
рисунке
АртикулНаименованиеКол-во
на складе
Цена
106310-ZV7-020

Комплект для установки зарядной розетки (6a) (Receptacle kit, charge (6a))

под заказ47400 руб. 
230564-ZA5-000

Пыльник, cord (Grommet, cord)

под заказ610 руб. 
331604-ZV7-010

Кронштейн регулятора (Bracket, regulator)

под заказпо запросу 
431630-ZV7-003

Зарядная катушка (12v-6a) (Coil assy., charge (12v-6a))

под заказ11850 руб. 
531650-ZV7-013

Зарядная розетка, в сборе (Receptacle assy., charge)

под заказ9660 руб. 
631651-ZV7-003

Согласующее устройство (Consent)

под заказ5770 руб. 
731652-881-024

Заглушка согласующего устройства (Plug, consent)

3 шт3140 руб. 
831750-ZV7-003

Выпрямитель-регулятор, в сборе (Rectifier assy., regulator)

под заказ32760 руб. 
938207-ZV4-000

Запасной предохранитель (15a) (Fuse, spare (15a))

под заказ450 руб. 
1040107-ZV7-000

Пыльник под корпусом (c) (Grommet, under case (c))

под заказпо запросу 
1187512-ZV4-A21

Маркировка - резервуар (6a) (Mark, receptacle (6a))

2 шт670 руб. 
1290013-ZV0-010

Фланцевый болт, 6x12 (Bolt, flange, 6x12)

под заказ350 руб. 
1390014-ZV1-010

Фланцевый болт, 5x22 (Bolt, flange, 5x22)

под заказ230 руб. 
1490014-ZV7-010

Фланцевый болт, 6x35 (Bolt, flange, 6x35)

под заказ420 руб. 
1490014-ZV7-020

(последний код) BOLT,FLANGE 6X35

под заказ420 руб. 
1590018-ZW5-000

Фланцевый болт, 6x20 (Bolt, flange, 6x20)

под заказ290 руб. 
1690672-SA0-003

Хомут (Strap)

под заказ870 руб. 
1798200-11500

Предохранитель (15a) (Fuse (15a))

под заказ120 руб. 

Время выполнения запроса 0.91572380065918 сек.

 
 

данный сайт носит информационный характер и не является публичной офертой

склад запчастей для водомоторной техники