вконтакте

Контактный телефон: +7 (981) 121-46-93, +7 (800) 200-90-76 , Email: parts-katalog@yandex.ru, где купить

 
 

  Логин:

Пароль:

Регистрация

www.partskatalog.ru Все каталоги Запчасти Mercury Запчасти Suzuki Запчасти Tohatsu Запчасти Honda Контакты

назад Раздел:   вперёд

Модификация Вашего двигателя:   Honda BF25D4 SBE
Модели с серийным номером двигателя от BEATJ-1000001 до BEATJ-9999999
Модели с серийным номером рамы от BATJ-1000001 до BATJ-1099999

Вернуться к выбору узлов мотора

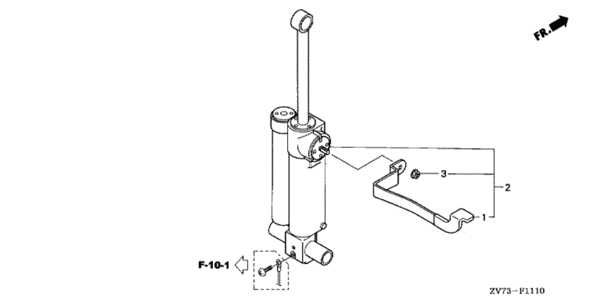
   Демпфер
Damper      


ДЕТАЛИРОВКА ДЛЯ МОДЕЛИ: HONDA BF25D4

Подвесной лодочный  двигатель Honda BF25D4 - Damper - Демпфер
Номер на
рисунке
АртикулНаименованиеКол-во
на складе
Цена
150517-ZW2-F00

Рычаг наклона (Lever, tilt)

под заказ5670 руб. 
251601-ZW2-F01

Демпфер в сборе., gas (Damper assy., gas)

под заказпо запросу 
390205-ZY1-000

Гайка с замком, 6 мм (Nut, self-lock, 6mm)

под заказ1020 руб. 

Время выполнения запроса 0.276526927948 сек.

 
 

данный сайт носит информационный характер и не является публичной офертой

склад запчастей для водомоторной техники