вконтакте

Контактный телефон: +7 (981) 121-46-93, +7 (800) 200-90-76 , Email: parts-katalog@yandex.ru, где купить

 
 

  Логин:

Пароль:

Регистрация

www.partskatalog.ru Все каталоги Запчасти Mercury Запчасти Suzuki Запчасти Tohatsu Запчасти Honda Контакты



УВАЖАЕМЫЕ КЛИЕНТЫ!
C 19 ДЕКАБРЯ 2025 ПО 02 МАРТА 2026 ГОДА ОТДЕЛ ЗАПЧАСТЕЙ И СЕРВИС РАБОТАТЬ НЕ БУДУТ
ПРОДАЖА ЛОДОЧНЫХ МОТОРОВ В ШТАТНОМ РЕЖИМЕ
ОБ ИЗМЕНЕНИЯХ В ГРАФИКЕ РАБОТЫ ЧИТАЙТЕ НА САЙТА



назад Раздел:   вперёд

Модификация Вашего двигателя:   Honda BF25D4 SBE
Модели с серийным номером двигателя от BEATJ-1000001 до BEATJ-9999999
Модели с серийным номером рамы от BATJ-1000001 до BATJ-1099999

Вернуться к выбору узлов мотора

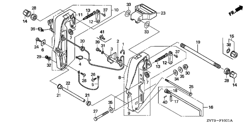
   Кронштейн транца (2)
Stern Bracket (2)      


ДЕТАЛИРОВКА ДЛЯ МОДЕЛИ: HONDA BF25D4

Лодочный  мотор Honda BF25D4 - Stern Bracket (2) / Кронштейн транца (2)
Номер на
рисунке
АртикулНаименованиеКол-во
на складе
Цена
540219-ZY1-003

Подводящий провод (1.5x170 мм) (Wire, lead (1.5x170mm))

под заказ2070 руб. 
540219-ZY1-013

Подводящий провод (1.5x170 мм) (Wire, lead (1.5x170mm))

под заказ2070 руб. 
641106-ZW9-000

Металлический анод (Metal, anode)

2 шт1790 руб. 
750122-935-010

Нажимная пластина (Plate, push)

1 шт840 руб. 
850300-ZY1-871ZA

Правый кормовой кронштейн *nh282mu * (Bracket comp., r. stern *nh282mu *)

под заказпо запросу 
850300-ZY1-872ZA

Правый кормовой кронштейн *nh282mu * (Bracket comp., r. stern *nh282mu *)

под заказ59890 руб. 
950301-ZY1-871ZA

Кормовой кронштейн, правый *nh282mu * (Bracket, r. stern *nh282mu *)

под заказпо запросу 
950301-ZY1-872ZA

Кормовой кронштейн, правый *nh282mu * (Bracket, r. stern *nh282mu *)

под заказпо запросу 
1050310-ZY1-871ZA

Левый кормовой кронштейн *nh282mu * (Bracket comp., l. stern *nh282mu *)

под заказпо запросу 
1050310-ZY1-872ZA

Левый кормовой кронштейн *nh282mu * (Bracket comp., l. stern *nh282mu *)

под заказпо запросу 
1150311-ZY1-871ZA

Кормовой кронштейн, левый *nh282mu * (Bracket, l. stern *nh282mu *)

под заказпо запросу 
1150311-ZY1-872ZA

Кормовой кронштейн, левый *nh282mu * (Bracket, l. stern *nh282mu *)

под заказпо запросу 
1250323-ZW9-300

Рукоятка зажима (Grip, clamp)

2 шт1820 руб. 
1350325-ZW9-830

Винт зажима (Screw, clamp)

под заказ3210 руб. 
1450331-ZV5-000

Колпачок болта опрокидывания (Cap, tilting bolt)

под заказ1010 руб. 
1650340-ZY1-871

Регулировочная штанга, комплект (Rod comp., adjusting)

4 шт5340 руб. 
1750342-ZV5-300

Стопор тяги (Stopper, rod)

под заказ1100 руб. 
1850343-921-300

Пружина регулировки тяги (Spring, adjusting rod)

под заказ420 руб. 
1950381-ZV5-010

Вал наклона (Shaft, tilting)

под заказ19840 руб. 
1950381-ZZ5-000

(последний код) SHAFT, TILTING

под заказ19840 руб. 
2156513-ZV5-000

Втулка нижнего цилиндра (Bush, lower cylinder)

2 шт610 руб. 
2256539-ZY1-870

Воротник нижнего цилиндра (Collar, lower cylinder)

под заказ11600 руб. 
2490102-ZW9-000

Фланцевый болт, 6x12 (Bolt, flange, 6x12)

5 шт460 руб. 
2590108-ZY1-870

Болт под шестигранник., 8x203 (Bolt, hex., 8x203)

под заказ2200 руб. 
2690119-ZV5-000

Винт с чашечкой, 6x8 (Screw, pan, 6x8)

под заказ200 руб. 
2890304-ZV5-013

Гайка с замком (7 / 8-14unf) (Nut, self-lock (7/8-14unf))

под заказ2950 руб. 
2990305-ZV4-000

Гайка с замком, 8 мм (Nut, self-lock, 8mm)

под заказ550 руб. 
3290507-ZV4-000

Плоская шайба, 8 мм (Washer, plain, 8mm)

под заказ360 руб. 
3390517-ZV5-000

Волнистая шайба, 22 мм (Washer, wave, 22mm)

под заказ1070 руб. 
3790855-ZW9-300

Заклёпка, 4x22.6 (Rivet, 4x22.6)

под заказ370 руб. 
4094305-25083

Стопор пружины, 2.5x8 (Pin, spring, 2.5x8)

под заказ70 руб. 

Время выполнения запроса 8.5509488582611 сек.

 
 

данный сайт носит информационный характер и не является публичной офертой

склад запчастей для водомоторной техники