вконтакте

Контактный телефон: +7 (981) 121-46-93, +7 (800) 200-90-76 , Email: parts-katalog@yandex.ru, где купить

 
 

  Логин:

Пароль:

Регистрация

www.partskatalog.ru Все каталоги Запчасти Mercury Запчасти Suzuki Запчасти Tohatsu Запчасти Honda Контакты



УВАЖАЕМЫЕ КЛИЕНТЫ!
C 19 ДЕКАБРЯ 2025 ПО 02 МАРТА 2026 ГОДА ОТДЕЛ ЗАПЧАСТЕЙ И СЕРВИС РАБОТАТЬ НЕ БУДУТ
ПРОДАЖА ЛОДОЧНЫХ МОТОРОВ В ШТАТНОМ РЕЖИМЕ
ОБ ИЗМЕНЕНИЯХ В ГРАФИКЕ РАБОТЫ ЧИТАЙТЕ НА САЙТА



назад Раздел:   вперёд

Модификация Вашего двигателя:   Honda BF25D4 LHD
Модели с серийным номером двигателя от BEATJ-1000001 до BEATJ-9999999
Модели с серийным номером рамы от BATJ-1000001 до BATJ-1099999

Вернуться к выбору узлов мотора

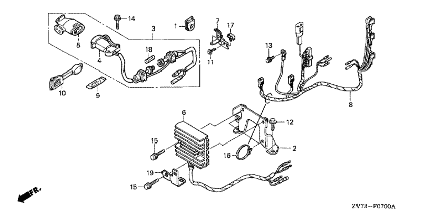
   Регулятор (1)
Regulator (1)      


ДЕТАЛИРОВКА ДЛЯ МОДЕЛИ: HONDA BF25D4

Подвесной лодочный  двигатель Honda BF25D4 - Regulator (1) - Регулятор (1)
Номер на
рисунке
АртикулНаименованиеКол-во
на складе
Цена
130564-ZA5-000

Пыльник, cord (Grommet, cord)

под заказ610 руб. 
231604-ZV7-010

Кронштейн регулятора (Bracket, regulator)

под заказпо запросу 
331650-ZV7-013

Зарядная розетка, в сборе (Receptacle assy., charge)

под заказ9660 руб. 
431651-ZV7-003

Согласующее устройство (Consent)

под заказ5770 руб. 
531652-881-024

Заглушка согласующего устройства (Plug, consent)

3 шт3140 руб. 
631750-ZW2-F31

Выпрямитель-регулятор, в сборе (12a) (Rectifier assy., regulator (12a))

под заказ27060 руб. 
631750-ZW2-F01

(последний код) RECTIFIER ASSY., REGULATO

под заказ31620 руб. 
732112-ZW2-F00

Кронштейн корпуса предохранителя (Bracket, fuse case)

под заказ6380 руб. 
732112-ZW2-F01

(последний код) Bracket, fuse case

под заказ0 руб. 
832150-ZW2-F30

Электропроводка модуля C.D.I. (1) (Cable assy., c.d.i. unit (1))

под заказпо запросу 
938207-ZV4-000

Запасной предохранитель (15a) (Fuse, spare (15a))

под заказ450 руб. 
1040107-ZV7-000

Пыльник под корпусом (c) (Grommet, under case (c))

под заказпо запросу 
1190011-ZW9-000

Фланцевый болт, 6x14 (ct200) (Bolt, flange, 6x14 (ct200))

под заказ370 руб. 
1290013-ZV0-010

Фланцевый болт, 6x12 (Bolt, flange, 6x12)

под заказ350 руб. 
1390013-ZW4-000

Фланцевый болт, 6x12 (ct200) (Bolt, flange, 6x12 (ct200))

под заказ490 руб. 
1490014-ZV1-010

Фланцевый болт, 5x22 (Bolt, flange, 5x22)

под заказ230 руб. 
1590018-ZW5-000

Фланцевый болт, 6x20 (Bolt, flange, 6x20)

под заказ290 руб. 
1690672-SA0-003

Хомут (Strap)

под заказ870 руб. 
1790688-ZV4-003

Зажим провода (Clip, cord)

под заказ300 руб. 
1898200-11500

Предохранитель (15a) (Fuse (15a))

под заказ120 руб. 
1932108-ZV7-010

Кронштейн коннектора (Bracket, connector)

под заказ1530 руб. 

Время выполнения запроса 7.6622738838196 сек.

 
 

данный сайт носит информационный характер и не является публичной офертой

склад запчастей для водомоторной техники