вконтакте

Контактный телефон: +7 (981) 121-46-93, +7 (800) 200-90-76 , Email: parts-katalog@yandex.ru, где купить

 
 

  Логин:

Пароль:

Регистрация

www.partskatalog.ru Все каталоги Запчасти Mercury Запчасти Suzuki Запчасти Tohatsu Запчасти Honda Контакты



УВАЖАЕМЫЕ КЛИЕНТЫ!
C 19 ДЕКАБРЯ 2025 ПО 02 МАРТА 2026 ГОДА ОТДЕЛ ЗАПЧАСТЕЙ И СЕРВИС РАБОТАТЬ НЕ БУДУТ
ПРОДАЖА ЛОДОЧНЫХ МОТОРОВ В ШТАТНОМ РЕЖИМЕ
ОБ ИЗМЕНЕНИЯХ В ГРАФИКЕ РАБОТЫ ЧИТАЙТЕ НА САЙТА



назад Раздел:   вперёд

Модификация Вашего двигателя:   Honda BF20D3 LRTK
Модели с серийным номером двигателя от BEAMJ-1000001 до BEAMJ-
Модели с серийным номером рамы от BAMJ-1000001 до BAMJ-

Вернуться к выбору узлов мотора

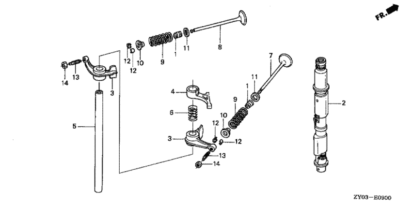
   Распределительный вал / Клапан
Camshaft / Valve      


ДЕТАЛИРОВКА ДЛЯ МОДЕЛИ: HONDA BF20D3

Подвесной 4-тактный лодочный двигатель HONDA BF20D3 - Распределительный вал / Клапан - Camshaft / Valve
Номер на
рисунке
АртикулНаименованиеКол-во
на складе
Цена
112209-GB4-682

Сальник штока клапана (arai) (Seal, valve stem (arai))

14 шт880 руб. 
214110-ZY1-000

Распределительный вал, комплект (Camshaft comp.)

2 шт41530 руб. 
314431-ZW9-000

Плечо коромысла клапана (Arm, valve rocker)

3 шт3870 руб. 
414436-ZW9-003

Рычаг коромысла топливного насоса (Arm, fuel pump rocker)

1 шт3450 руб. 
514461-ZW9-000

Вал коромысла (Shaft, rocker arm)

под заказ2720 руб. 
614481-ZW9-000

Пружина коромысла (Spring, rocker arm)

под заказ660 руб. 
714711-ZY1-000

Клапан, впускной (Valve, in)

8 шт3490 руб. 
814721-ZY1-000

Клапан, выпускной. (Valve, ex.)

6 шт4320 руб. 
914751-ZY1-000

Пружина клапана (Spring, valve)

2 шт1030 руб. 
1014765-P08-000

Фиксатор (Retainer)

под заказ790 руб. 
1114775-ZW9-000

Седло пружины клапана (Seat, valve spring)

под заказ370 руб. 
1214781-MA6-000

Шпонка клапана (Cotter, valve)

под заказ570 руб. 
1390012-333-000

Винт регулировки толкателя клапана (Screw, tappet adjusting)

1 шт360 руб. 
1490206-001-000

Гайка регулировки толкателя клапана (Nut, tappet adjusting)

1 шт110 руб. 

Время выполнения запроса 1.7483570575714 сек.

 
 

данный сайт носит информационный характер и не является публичной офертой

склад запчастей для водомоторной техники