вконтакте

Контактный телефон: +7 (981) 121-46-93, +7 (800) 200-90-76 , Email: parts-katalog@yandex.ru, где купить

 
 

  Логин:

Пароль:

Регистрация

www.partskatalog.ru Все каталоги Запчасти Mercury Запчасти Suzuki Запчасти Tohatsu Запчасти Honda Контакты

назад Раздел:   вперёд

Модификация Вашего двигателя:   Honda BF20D3 LRGC
Модели с серийным номером двигателя от BEAMJ-1000001 до BEAMJ-9999999
Модели с серийным номером рамы от BAMJ-1000001 до BAMJ-1099999

Вернуться к выбору узлов мотора

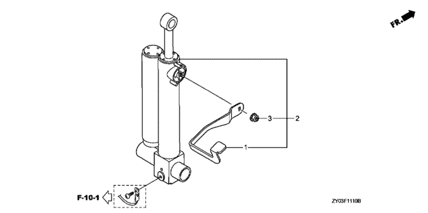
   Демпфер
Damper      


ДЕТАЛИРОВКА ДЛЯ МОДЕЛИ: HONDA BF20D3

Подвесной  лодочный двигатель HONDA BF20D3 - Демпфер / Damper
Номер на
рисунке
АртикулНаименованиеКол-во
на складе
Цена
150517-ZY1-640

Рычаг наклона (Lever, tilt)

под заказпо запросу 
251601-ZY1-641

Демпфер в сборе., gas (Damper assy., gas)

под заказ153380 руб. 
390205-PP9-020

Гайка с замком, 6 мм (Nut, self-lock, 6mm)

под заказ1360 руб. 
390205-ZY1-000

Гайка с замком, 6 мм (Nut, self-lock, 6mm)

под заказ1020 руб. 

Время выполнения запроса 0.35856699943542 сек.

 
 

данный сайт носит информационный характер и не является публичной офертой

склад запчастей для водомоторной техники