вконтакте

Контактный телефон: +7 (981) 121-46-93, +7 (800) 200-90-76 , Email: parts-katalog@yandex.ru, где купить

 
 

  Логин:

Пароль:

Регистрация

www.partskatalog.ru Все каталоги Запчасти Mercury Запчасти Suzuki Запчасти Tohatsu Запчасти Honda Контакты



УВАЖАЕМЫЕ КЛИЕНТЫ!
C 19 ДЕКАБРЯ 2025 ПО 02 МАРТА 2026 ГОДА ОТДЕЛ ЗАПЧАСТЕЙ И СЕРВИС РАБОТАТЬ НЕ БУДУТ
ПРОДАЖА ЛОДОЧНЫХ МОТОРОВ В ШТАТНОМ РЕЖИМЕ
ОБ ИЗМЕНЕНИЯХ В ГРАФИКЕ РАБОТЫ ЧИТАЙТЕ НА САЙТА



назад Раздел:   вперёд

Модификация Вашего двигателя:   Honda BF20D3 LHD
Модели с серийным номером двигателя от BEAMJ-1000001 до BEAMJ-
Модели с серийным номером рамы от BAMJ-1000001 до BAMJ-

Вернуться к выбору узлов мотора

   Картер коробки передач / Удлинение корпуса
Gear Case / Extension Case      


ДЕТАЛИРОВКА ДЛЯ МОДЕЛИ: HONDA BF20D3

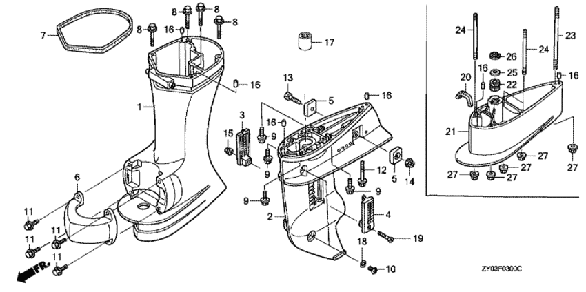
Подвесной 4x-тактный лодочный мотор BF20D3 - Gear Case / Extension Case - Картер коробки передач / Удлинение корпуса
Номер на
рисунке
АртикулНаименованиеКол-во
на складе
Цена
140201-ZW9-630ZA

Удлинитель копуса (l) *nh282mu * (Case, extension (l) *nh282mu *)

под заказ99490 руб. 
140201-ZW9-631ZA

Удлинитель копуса (l) *nh282mu * (Case, extension (l) *nh282mu *)

под заказ99490 руб. 
140201-ZW9-C10ZA

(последний код) CASE,EXT*NH282MU*

под заказ99490 руб. 
241101-ZY1-300ZA

Картер коробки передач *nh282mu * (Case, gear *nh282mu *)

под заказ79730 руб. 
241101-ZY1-310ZA

Картер коробки передач *nh282mu * (Case, gear *nh282mu *)

под заказ79730 руб. 
241101-ZY1-C00ZA

(последний код) CASE, GEAR *NH282MU*

под заказ79730 руб. 
341104-ZV5-000

Экран для воды, правый (Screen, r. water)

1 шт1520 руб. 
441105-ZV5-000

Экран для воды, левый (Screen, l. water)

1 шт1400 руб. 
541106-ZW9-000

Металлический анод (Metal, anode)

2 шт1790 руб. 
650111-ZW9-000ZA

Кожух, установленный снизу *nh282mu * (Housing, lower mounting *nh282mu *)

под заказ8760 руб. 
763702-ZW9-000

Резинка нижней части корпуса (Rubber, under cover)

под заказ1070 руб. 
890008-ZW9-000

Фланцевый болт, 8x35 (Bolt, flange, 8x35)

под заказ900 руб. 
990009-ZW9-000

Фланцевый болт, 6x23 (Bolt, flange, 6x23)

под заказ640 руб. 
1090101-ZW9-003

Болт контроля уровня масла (Bolt, oil check)

под заказ790 руб. 
1190105-ZW9-000

Фланцевый болт, 6x20 (Bolt, flange, 6x20)

2 шт640 руб. 
1290107-ZW9-000

Фланцевый болт, 6x75 (Bolt, flange, 6x75)

под заказ990 руб. 
1390113-ZV5-000

Болт под шестигранник., 6x25 (Bolt, hex., 6x25)

под заказ380 руб. 
1490205-PP9-020

Гайка с замком, 6 мм (Nut, self-lock, 6mm)

под заказ1360 руб. 
1490205-ZY1-000

Гайка с замком, 6 мм (Nut, self-lock, 6mm)

под заказ1020 руб. 
1590302-ZV4-000

Гайка с замком, 5 мм (Nut, self-lock, 5mm)

под заказ1270 руб. 
1690756-ZV5-000

Шпонка, 6x10 (Dowel pin, 6x10)

1 шт220 руб. 
1791052-ZY1-003

Подшипник, игольчатый, 15x22x20 (Bearing, needle, 15x22x20)

7 шт2170 руб. 
177EHMK1520NTN

   (подбор по маркировке) Подшипник NTN 7E-HMK 1520(15*22*20 мм)

под заказ0
1891301-216-000

Уплотнительное кольцо, 5.5x1.5 (O-ring, 5.5x1.5)

7 шт150 руб. 
1891301-ZW4-003

Уплотнительное кольцо, 6.9x1.45 (O-ring, 6.9x1.45)

32 шт270 руб. 
1993700-050-284-J

Овальный винт, 5x28 (Screw, oval, 5x28)

под заказ330 руб. 

Время выполнения запроса 0.91493511199951 сек.

 
 

данный сайт носит информационный характер и не является публичной офертой

склад запчастей для водомоторной техники