вконтакте

Контактный телефон: +7 (981) 121-46-93, +7 (800) 200-90-76 , Email: parts-katalog@yandex.ru, где купить

 
 

  Логин:

Пароль:

Регистрация

www.partskatalog.ru Все каталоги Запчасти Mercury Запчасти Suzuki Запчасти Tohatsu Запчасти Honda Контакты

назад Раздел:   вперёд

Модификация Вашего двигателя:   Honda BF15BX LGDS
Модели с серийным номером двигателя от BAAE-1200001 до BAAE-1299999
Модели с серийным номером рамы от BATL-1400001 до BATL-1499999

Вернуться к выбору узлов мотора

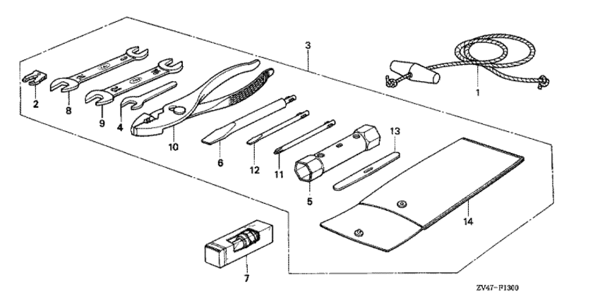
   Инструмент
Tool      


ДЕТАЛИРОВКА ДЛЯ МОДЕЛИ: HONDA BF15BX

Подвесной лодочный четырёхтактный двигатель Хонда BF15BX - Инструмент
Номер на
рисунке
АртикулНаименованиеКол-во
на складе
Цена
128470-816-000

Шнур стартера (Rope, starter)

под заказ1630 руб. 
236187-ZV4-651

Клипса аварийной блокировки (Clip, emergency lock)

под заказ1240 руб. 
236187-ZV4-652

(последний код) CLIP, EMERGENCY LOCK

5 шт1240 руб. 
389000-881-C00

Набор инструмента (Tool kit)

под заказпо запросу 
489203-836-000

Гаечный ключ, 8 мм (Spanner, 8mm)

под заказ1480 руб. 
589211-881-000

Трубчатый ключ (p18x19) (Wrench, box (p18x19))

под заказ1520 руб. 
689301-921-000

Отвёртка для контрольного болта (Driver, check bolt)

под заказпо запросу 
689301-921-010

Отвёртка для контрольного болта (Driver, check bolt)

под заказ810 руб. 
798066-56726

Свеча зажигания (x20fsr-u) (denso) (Plug, spark (x20fsr-u) (denso))

под заказ440 руб. 
899001-09120

Гаечный ключ, 9x12 (Spanner, 9x12)

под заказпо запросу 
999001-10120

Гаечный ключ (Spanner)

под заказ600 руб. 
1099002-13500

Плоскогубцы (Pliers)

под заказ1590 руб. 
1089210-GBJ-J10

Плоскогубцы, 135 (kowa) (Pliers, 135 (kowa))

под заказ1900 руб. 
1199003-10000

Отвёртка 1 (Driver 1)

под заказ250 руб. 
1299003-30000

Отвёртка 3 (Driver 3)

под заказ250 руб. 
13 9900340000

Рычаг (Lever)

под заказ240 руб. 
14 9900802000

Сумка для инструмента, 200 мм (Bag, tool, 200mm)

под заказ620 руб. 
1489101-ME5-670

Сумка для инструмента (Bag, tool)

под заказ710 руб. 

Время выполнения запроса 0.69619202613831 сек.

 
 

данный сайт носит информационный характер и не является публичной офертой

склад запчастей для водомоторной техники