вконтакте

Контактный телефон: +7 (981) 121-46-93, +7 (800) 200-90-76 , Email: parts-katalog@yandex.ru, где купить

 
 

  Логин:

Пароль:

Регистрация

www.partskatalog.ru Все каталоги Запчасти Mercury Запчасти Suzuki Запчасти Tohatsu Запчасти Honda Контакты

назад Раздел:   вперёд

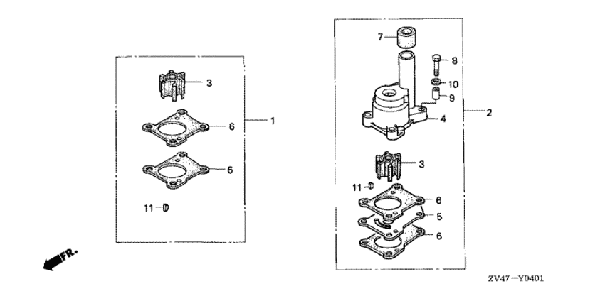
Модификация Вашего двигателя:   Honda BF15AX LD
Модели с серийным номером двигателя от BAAE-1200001 до BAAE-1299999
Модели с серийным номером рамы от BAAL-1400001 до BAAL-1499999

Вернуться к выбору узлов мотора

   Наборы для ремонта водяного насоса (2)
Water Pump Impeller Kit (2)      


ДЕТАЛИРОВКА ДЛЯ МОДЕЛИ: HONDA BF15AX

Двигатель Honda BF15AX - Наборы для ремонта водяного насоса (2) / Water Pump Impeller Kit (2)

Время выполнения запроса 0.18541097640991 сек.

 
 

данный сайт носит информационный характер и не является публичной офертой

склад запчастей для водомоторной техники