Контактный телефон: +7 (981) 121-46-93, +7 (800) 200-90-76 , Email: parts-katalog@yandex.ru, где купить |
Модификация Вашего двигателя: Honda BF15A2 SC Вернуться к выбору узлов мотора Водяной насос / Вертикальный вал |
||||||||||||||||||||||||||||||||||||||||||||||||||||||||||||||||||||||||||||||||||||||||||||||||||||||||||||||||||||||||||||||||||||||||||||||||||||||||||||||||||||||||||||||||||||||||||||||||||||||||||||||||||||||||||||||||||||||||||||||||||||||||||||||||||||||||
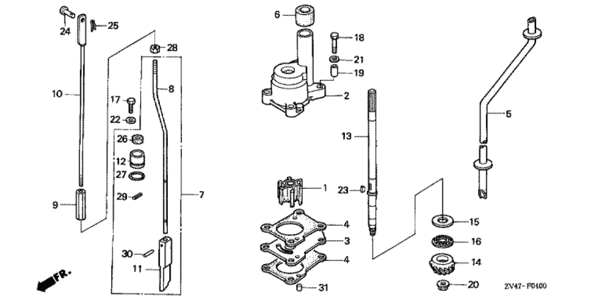
| Номер на рисунке | Артикул | Наименование | Кол-во на складе | Цена | |
| 1 | 19210-ZV4-651 | Крыльчатка водяной помпы (Impeller, pump) | 2 шт | 3040 руб. | |
| 1 | SK19210-ZV4-651 | (не оригинальный аналог) Крыльчатка Standard Skipper для Honda BF8C, BF9.9A-15A, BF9.9B-15B | 1 шт | 664 руб. | |
| 1 | T-500343 | (не оригинальный аналог) Крыльчатка помпы охлаждения двигателя Honda 500343 (CEF) | под заказ | 1720 руб. | |
| 1 | T-19210-ZV4-651 | (не оригинальный аналог) Крыльчатка помпы охлаждения двигателя Honda 19210-ZV4-651 (MIZASHI) | под заказ | по запросу | |
| 1 | T-06192-ZV4-000 | (не оригинальный аналог) Ремкомплект насоса охлаждения Honda 06192-ZV4-000 (MIZASHI) | под заказ | 2250 руб. | |
| 1 | T-SC-WT140 | (не оригинальный аналог) Крыльчатка помпы охлаждения двигателя Honda SC-WT140 | под заказ | по запросу | |
| 2 | 19220-ZV4-000 | Корпус крыльчатки (Housing comp., impeller) | 1 шт | 12220 руб. | |
| 3 | 19231-ZV4-020 | Колпак крыльчатки (Cover, impeller) | под заказ | 1870 руб. | |
| 4 | 19232-ZV4-610 | Прокладка крыльчатки (Gasket, impeller) | 5 шт | 410 руб. | |
| 5 | 19251-ZV4-000 | Водяная трубка (Tube comp., water) | под заказ | 5410 руб. | |
| 6 | 19253-ZV1-000 | Кольцо сальника водяной трубки (Ring, water tube seal) | под заказ | 740 руб. | |
| 6 | 19253-ZVD-000 | (последний код) RING, WATER TUBE SEAL | 3 шт | 940 руб. | |
| 7 | 24310-ZV4-010 | Переключающая тяга (s) (Rod comp., shift (s)) | под заказ | 7300 руб. | |
| 8 | 24311-ZV4-300 | Переключающая тяга B (s) (Rod b, shift (s)) | под заказ | 4660 руб. | |
| 9 | 24312-ZV4-000 | Соеденитель переключающей тяги (Joint, shift rod) | под заказ | 1900 руб. | |
| 10 | 24320-ZV4-000 | Переключающая тяга A (Rod a, shift) | под заказ | по запросу | |
| 11 | 24341-ZV4-300 | Тяга толкателя (Rod, push) | под заказ | по запросу | |
| 12 | 24343-ZV4-300 | Держатель сальника (Holder, seal) | под заказ | 1780 руб. | |
| 13 | 41112-ZV4-650 | Вертикальный вал (s) (Shaft, vertical (s)) | 1 шт | 35920 руб. | |
| 14 | 41131-ZV4-010 | Шестерня (13t) (Pinion (13t)) | под заказ | 12180 руб. | |
| 15 | 41135-ZV4-000 | Шайба упорного подшипника (a) (3.00 мм) (Washer, thrust bearing (a) (3.00mm)) | под заказ | 570 руб. | |
| 15 | 41136-ZV4-000 | Шайба упорного подшипника (b) (3.03 мм) (Washer, thrust bearing (b) (3.03mm)) | под заказ | 600 руб. | |
| 15 | 41137-ZV4-000 | Шайба упорного подшипника (c) (3.06 мм) (Washer, thrust bearing (c) (3.06mm)) | 2 шт | 600 руб. | |
| 15 | 41138-ZV4-000 | Шайба упорного подшипника (d) (3.09 мм) (Washer, thrust bearing (d) (3.09mm)) | под заказ | 840 руб. | |
| 16 | 41135-935-003 | Шайба A упорного подшипника (2.00 мм) (Washer a, thrust bearing (2.00mm)) | под заказ | 870 руб. | |
| 17 | 90105-881-000 | Болт под шестигранник., 6x12 (Bolt, hex., 6x12) | под заказ | 350 руб. | |
| 18 | 90108-881-000 | Болт под шестигранник., 6x28 (Bolt, hex., 6x28) | под заказ | 460 руб. | |
| 19 | 90112-881-000 | Соеденительный воротник B (Collar b, distance) | под заказ | 890 руб. | |
| 20 | 90303-ZV4-010 | Специальная гайка (8 мм) (Nut, special (8mm)) | под заказ | 710 руб. | |
| 21 | 90504-921-010 | Плоская шайба, 6 мм (Washer, plain, 6mm) | 6 шт | 330 руб. | |
| 22 | 90512-ZV4-000 | Плоская шайба, 6 мм (Washer, plain, 6mm) | под заказ | 650 руб. | |
| 23 | 90752-ZV4-650 | Ключ, woodruff, 16x12 (Key, woodruff, 16x12) | под заказ | 280 руб. | |
| 24 | 90754-ZV4-000 | Штифт, 5x28 (Pin, 5x28) | под заказ | по запросу | |
| 25 | 90759-ZV1-000 | Стопорный шплинт, 2.0 (Pin, split, 2.0) | 2 шт | 230 руб. | |
| 26 | 91253-921-003 | Гидрозатвор, 6 мм (Water seal, 6mm) | под заказ | 1050 руб. | |
| 27 | 91302-028-000 | Уплотнительное кольцо, 15x2.5 (O-ring, 15x2.5) | под заказ | 370 руб. | |
| 27 | 91301-MY9-003 | (последний код) O-RING, 15X2.5 | 3 шт | 370 руб. | |
| 28 | 94001-064-900-S | Гайка (Nut) | под заказ | 200 руб. | |
| 29 | 94305-25122 | Штифт (Pin) | под заказ | 150 руб. | |
| 30 | 96220-25118 | Ролик, 2.5x11.8 (Roller, 2.5x11.8) | под заказ | 50 руб. | |
| 31 | 9622040100 | Ролик, 4x10 (Roller, 4x10) | под заказ | 60 руб. | |
Время выполнения запроса 0.57803893089294 сек.
склад запчастей для водомоторной техники