вконтакте

Контактный телефон: +7 (981) 121-46-93, +7 (800) 200-90-76 , Email: parts-katalog@yandex.ru, где купить

 
 

  Логин:

Пароль:

Регистрация

www.partskatalog.ru Все каталоги Запчасти Mercury Запчасти Suzuki Запчасти Tohatsu Запчасти Honda Контакты

назад Раздел:   вперёд

Модификация Вашего двигателя:   Honda BF15A2 LES
Модели с серийным номером двигателя от BAAE-1200001 до BAAE-1299999
Модели с серийным номером рамы от BAAL-1500001 до BAAL-1599999

Вернуться к выбору узлов мотора

   Наборы для ремонта водяного насоса (2)
Water Pump Impeller Kit (2)      


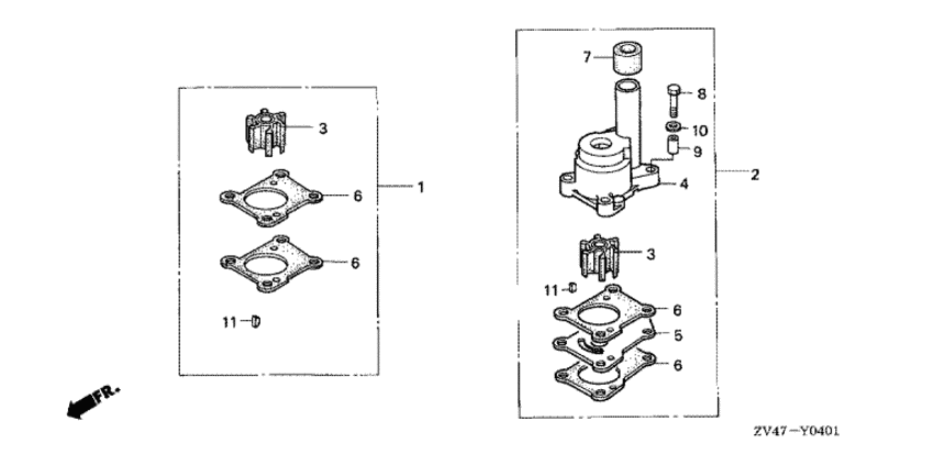
ДЕТАЛИРОВКА ДЛЯ МОДЕЛИ: HONDA BF15A2

Подвесной четырёхтактный двигатель Хонда BF15A2 - Water Pump Impeller Kit (2) / Наборы для ремонта водяного насоса (2)
Номер на
рисунке
АртикулНаименованиеКол-во
на складе
Цена
106192-ZV4-000

Ремкомплект водяной помпы (Pump kit, impeller)

2 шт3960 руб. 
1SK06192-ZV4-000

   (не оригинальный аналог) Ремкомплект помпы Standard Skipper для Honda 8, 15

0 шт1362 руб.
1T-06192-ZV4-000

   (не оригинальный аналог) Ремкомплект насоса охлаждения Honda 06192-ZV4-000 (MIZASHI)

под заказ2250 руб.
206193-ZV4-000

Ремкомплект водяной помпы (Pump kit, impeller)

под заказ18610 руб. 
319210-ZV4-651

Крыльчатка водяной помпы (Impeller, pump)

2 шт3040 руб. 
3SK19210-ZV4-651

   (не оригинальный аналог) Крыльчатка Standard Skipper для Honda BF8C, BF9.9A-15A, BF9.9B-15B

1 шт664 руб.
3T-500343

   (не оригинальный аналог) Крыльчатка помпы охлаждения двигателя Honda 500343 (CEF)

под заказ1720 руб.
3T-19210-ZV4-651

   (не оригинальный аналог) Крыльчатка помпы охлаждения двигателя Honda 19210-ZV4-651 (MIZASHI)

под заказпо запросу
3T-06192-ZV4-000

   (не оригинальный аналог) Ремкомплект насоса охлаждения Honda 06192-ZV4-000 (MIZASHI)

под заказ2250 руб.
3T-SC-WT140

   (не оригинальный аналог) Крыльчатка помпы охлаждения двигателя Honda SC-WT140

под заказпо запросу
419220-ZV4-000

Корпус крыльчатки (Housing comp., impeller)

1 шт12220 руб. 
519231-ZV4-020

Колпак крыльчатки (Cover, impeller)

под заказ1870 руб. 
619232-ZV4-610

Прокладка крыльчатки (Gasket, impeller)

5 шт410 руб. 
719253-ZV1-000

Кольцо сальника водяной трубки (Ring, water tube seal)

под заказ740 руб. 
719253-ZVD-000

(последний код) RING, WATER TUBE SEAL

3 шт940 руб. 
890108-881-000

Болт под шестигранник., 6x28 (Bolt, hex., 6x28)

под заказ460 руб. 
990112-881-000

Соеденительный воротник B (Collar b, distance)

под заказ890 руб. 
1090504-921-010

Плоская шайба, 6 мм (Washer, plain, 6mm)

6 шт330 руб. 
1190752-ZV4-650

Ключ, woodruff, 16x12 (Key, woodruff, 16x12)

под заказ280 руб. 

Время выполнения запроса 0.32272386550903 сек.

 
 

данный сайт носит информационный характер и не является публичной офертой

склад запчастей для водомоторной техники