вконтакте

Контактный телефон: +7 (981) 121-46-93, +7 (800) 200-90-76 , Email: parts-katalog@yandex.ru, где купить

 
 

  Логин:

Пароль:

Регистрация

www.partskatalog.ru Все каталоги Запчасти Mercury Запчасти Suzuki Запчасти Tohatsu Запчасти Honda Контакты

назад Раздел:   вперёд

Модификация Вашего двигателя:   Honda BF15D3 LHGU
Модели с серийным номером двигателя от BEALJ-1000001 до BEALJ-
Модели с серийным номером рамы от BALJ-1000001 до BALJ-

Вернуться к выбору узлов мотора

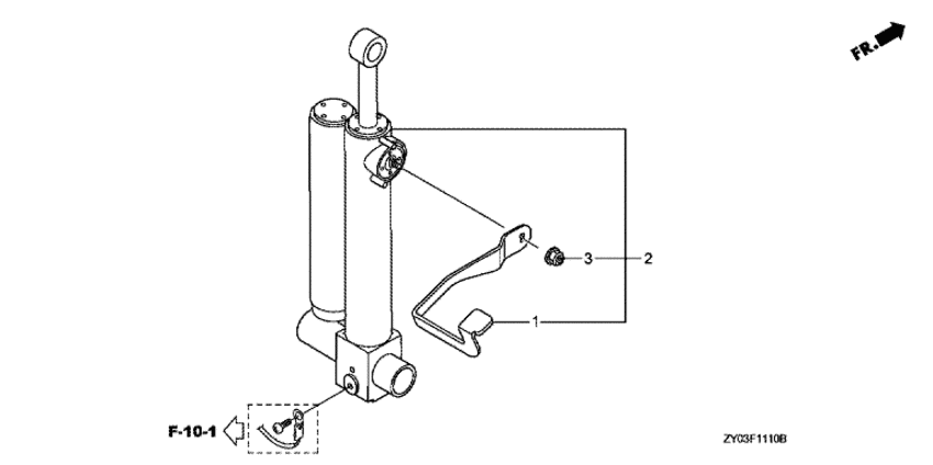
   Демпфер
Damper      


ДЕТАЛИРОВКА ДЛЯ МОДЕЛИ: HONDA BF15D3

Подвесной  лодочный двигатель Хонда BF15D3 - Damper
Номер на
рисунке
АртикулНаименованиеКол-во
на складе
Цена
150517-ZY1-640

Рычаг наклона (Lever, tilt)

под заказпо запросу 
251601-ZY1-641

Демпфер в сборе., gas (Damper assy., gas)

под заказ153380 руб. 
251601-ZY1-642

Демпфер в сборе., gas (Damper assy., gas)

под заказпо запросу 
251601-ZY1-643

Демпфер в сборе., gas (Damper assy., gas)

под заказ153380 руб. 
390205-ZY1-000

Гайка с замком, 6 мм (Nut, self-lock, 6mm)

под заказ1020 руб. 

Время выполнения запроса 2.0994379520416 сек.

 
 

данный сайт носит информационный характер и не является публичной офертой

склад запчастей для водомоторной техники