Контактный телефон: +7 (981) 121-46-93, +7 (800) 200-90-76 , Email: parts-katalog@yandex.ru, где купить |
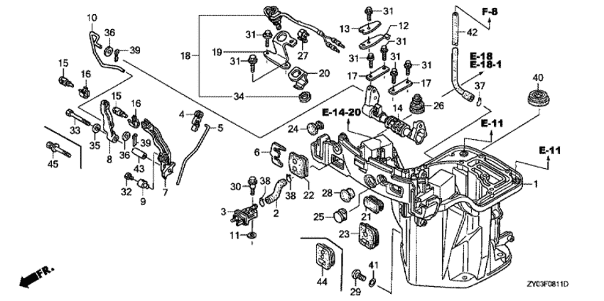
Модификация Вашего двигателя: Honda BF15D3 SRG Вернуться к выбору узлов мотора Масляный картер / Переключающий вал (для моделей с дистанционным управлением) |
|||||||||||||||||||||||||||||||||||||||||||||||||||||||||||||||||||||||||||||||||||||||||||||||||||||||||||||||||||||||||||||||||||||||||||||||||||||||||||||||||||||||||||||||||||||||||||||||||||||||||||||||||||||||||||||||||||||||||||||||||||||||||||||||||||||||||||||||||||||||||||||||||||||||||||||||||||||||||||||||
| Номер на рисунке | Артикул | Наименование | Кол-во на складе | Цена | |
| 1 | 11321-ZY1-415ZA | Масляный кожух *nh282mu * (Case, oil *nh282mu *) | под заказ | 73390 руб. | |
| 1 | 11321-ZY1-425ZA | (последний код) CASE, OIL *NH282MU * | под заказ | 73360 руб. | |
| 2 | 16851-ZW9-000 | Топливная трубка А (Tube a, fuel) | под заказ | 1180 руб. | |
| 3 | 17710-ZW9-033 | Топливный коннектор, в сборе (b) (Connector assy., fuel (b)) | под заказ | 6760 руб. | |
| 4 | 17838-ZW9-000 | Стержень подъёмного механизма (Linkage, pivot) | 1 шт | 1410 руб. | |
| 5 | 17841-ZY1-810 | Тяга дросселя (Rod, throttle) | 3 шт | 790 руб. | |
| 6 | 17877-ZW9-831 | Пластина кабеля дистанционного управления (Plate, remote control cable) | под заказ | 1280 руб. | |
| 7 | 17931-ZW9-830 | Рукоятка дистанционного управления дроссельной заслонкой (Arm, throttle remote) | 2 шт | 2510 руб. | |
| 8 | 17932-ZW9-830 | Рычаг переключающей тяги (Arm, shift link) | 1 шт | 2390 руб. | |
| 9 | 17933-ZV4-000 | Держатель тяги дросселя (Holder, throttle rod) | 6 шт | 1190 руб. | |
| 10 | 17933-ZW9-830 | Стержень переключающей тяги (Rod, shift link) | под заказ | 3250 руб. | |
| 10 | 17933-ZW9-831 | (последний код) ROD, SHIFT LINK | под заказ | 4090 руб. | |
| 11 | 17936-921-000 | Опорная шайба (Washer, pivot) | 3 шт | 260 руб. | |
| 12 | 24218-ZW9-000 | Нажимная пружина (Spring, click) | 2 шт | 1500 руб. | |
| 13 | 24221-ZW9-010 | Пружина с помощью при нажатии (Spring, click assist) | 5 шт | 1740 руб. | |
| 14 | 24611-ZW9-010 | Переключающий вал (Shaft, shift) | 1 шт | 2390 руб. | |
| 15 | 24618-ZW9-830 | Переключающий стержень (Pivot, shift) | 4 шт | 1330 руб. | |
| 16 | 24619-ZW9-830 | Плата блокировки (Plate, lock) | 4 шт | 1560 руб. | |
| 17 | 24626-ZW9-000 | Пластина переключающего вала (Plate, shift shaft) | под заказ | по запросу | |
| 18 | 35470-ZY1-731 | Переключатель нейтрали, в сборе (Switch assy., neutral) | под заказ | 11220 руб. | |
| 18 | 04302-ZY1-010 | (последний код) SET,NEUT SW | под заказ | 11220 руб. | |
| 19 | 35476-ZW9-730 | Кронштейн переключателя нейтрали (Bracket, neutral switch) | под заказ | 1290 руб. | |
| 20 | 35618-ZV5-000 | Пластина переключателя нейтрали (Plate, neutral switch) | под заказ | 1200 руб. | |
| 21 | 40104-ZW9-830 | Пыльник G масляного картера (Grommet g, oil case) | 1 шт | 1060 руб. | |
| 22 | 40105-ZW9-832 | Пыльник A масляного картера (Grommet a, oil case) | 1 шт | 1440 руб. | |
| 23 | 40106-ZW9-830 | Пыльник B масляного картера (Grommet b, oil case) | под заказ | 1270 руб. | |
| 24 | 40107-ZW9-720 | Пыльник F масляного картера (Grommet f, oil case) | под заказ | 680 руб. | |
| 25 | 40108-ZW9-830 | Пыльник D масляного картера (Grommet d, oil case) | 1 шт | 710 руб. | |
| 26 | 40109-ZW9-000 | Пыльник E масляного картера (Grommet e, oil case) | 1 шт | 990 руб. | |
| 27 | 46391-VM0-003 | Зажим тормозной трубки (a) (Clip, brake pipe (a)) | под заказ | 330 руб. | |
| 28 | 53115-732-000 | Колпачок нижней рукоятки (Cap, lower handle) | под заказ | 350 руб. | |
| 29 | 90101-ZW9-003 | Болт контроля уровня масла (Bolt, oil check) | 2 шт | 850 руб. | |
| 30 | 90112-ZY1-000 | Специальный болт, 6x22 (ct200) (Bolt, special, 6x22 (ct200)) | под заказ | 330 руб. | |
| 31 | 90113-ZW9-000 | Фланцевый болт, 5x12 (ct200) (Bolt, flange, 5x12 (ct200)) | под заказ | 270 руб. | |
| 31 | 90113-ZW9-020 | (последний код) BOLT, FLANGE, 5X12 (CT200 | под заказ | 270 руб. | |
| 32 | 90116-ZV1-000 | Болт (Bolt) | 6 шт | 230 руб. | |
| 33 | 90120-ZV4-000 | Болт под шестигранник., 6x40 (Bolt, hex., 6x40) | под заказ | 500 руб. | |
| 33 | 90120-ZV4-010 | (последний код) BOLT,HEX.,6X40 | 3 шт | 500 руб. | |
| 34 | 90302-ZV5-003 | Шестигранная гайка, 20 мм (Nut, hex., 20mm) | под заказ | 750 руб. | |
| 35 | 90512-921-010 | Шайба, 6 мм (Washer, 6mm) | 6 шт | 380 руб. | |
| 36 | 90518-ZW9-830 | Плоская шайба, 7 мм (Washer, plain, 7mm) | 2 шт | 650 руб. | |
| 37 | 90603-ZV4-000 | Зажим трубки (b10) (Clip, tube (b10)) | под заказ | 270 руб. | |
| 38 | 90604-ZV0-000 | Зажим трубки (b12) (Clip, tube (b12)) | под заказ | 150 руб. | |
| 39 | 90759-ZV1-000 | Стопорный шплинт, 2.0 (Pin, split, 2.0) | 2 шт | 230 руб. | |
| 40 | 91202-ZY1-003 | Сальник, 15x28x6 (Seal, water, 15x28x6) | под заказ | 2170 руб. | |
| 40 | 91202-ZY1-013 | (последний код) SEAL, WATER, 15X28X6 | 1 шт | 2170 руб. | |
| 41 | 91301-216-000 | Уплотнительное кольцо, 5.5x1.5 (O-ring, 5.5x1.5) | 7 шт | 150 руб. | |
| 42 | 91402-ZW9-000 | Трубка контроля воды (Tube, water check) | под заказ | 870 руб. | |
| 43 | 91552-ZW9-830 | Промежуточный воротник, 6x11x27 (Collar, distance, 6x11x27) | под заказ | 1390 руб. | |
| 45 | 90103-ZY1-000 | Болт с шайбой, 6x40 (Bolt-washer, 6x40) | 20 шт | 1180 руб. | |
Время выполнения запроса 1.5802500247955 сек.
склад запчастей для водомоторной техники