вконтакте

Контактный телефон: +7 (981) 121-46-93, +7 (800) 200-90-76 , Email: parts-katalog@yandex.ru, где купить

 
 

  Логин:

Пароль:

Регистрация

www.partskatalog.ru Все каталоги Запчасти Mercury Запчасти Suzuki Запчасти Tohatsu Запчасти Honda Контакты



УВАЖАЕМЫЕ КЛИЕНТЫ!
C 19 ДЕКАБРЯ 2025 ПО 02 МАРТА 2026 ГОДА ОТДЕЛ ЗАПЧАСТЕЙ И СЕРВИС РАБОТАТЬ НЕ БУДУТ
ПРОДАЖА ЛОДОЧНЫХ МОТОРОВ В ШТАТНОМ РЕЖИМЕ
ОБ ИЗМЕНЕНИЯХ В ГРАФИКЕ РАБОТЫ ЧИТАЙТЕ НА САЙТА



назад Раздел:   вперёд

Модификация Вашего двигателя:   Honda BF15D3 XHTC
Модели с серийным номером двигателя от BEALJ-1000001 до BEALJ-9999999
Модели с серийным номером рамы от BALJ-1000001 до BALJ-1099999

Вернуться к выбору узлов мотора

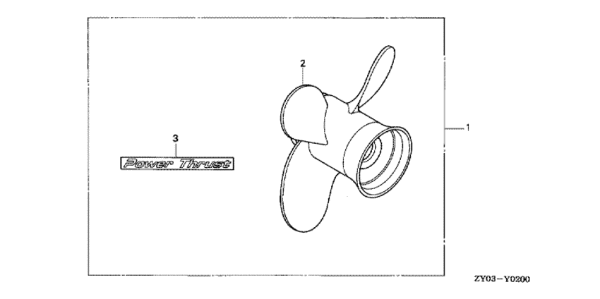
   Гребной винт
Propeller Kit      


ДЕТАЛИРОВКА ДЛЯ МОДЕЛИ: HONDA BF15D3

Подвесной лодочный четырёхтактный двигатель HONDA BF15D3 - Гребной винт - Propeller Kit
Номер на
рисунке
АртикулНаименованиеКол-во
на складе
Цена
106581-ZY0-S10ZB

Гребной винт, большое тяговое усилие *nh283 * (Propeller kit, power thrust *nh283 *)

под заказ17510 руб. 
258130-ZY0-B91ZA

Гребной винт, четырёхлопастной (10x7-5 / 8) *nh283 * (Propeller comp., four blades (10x7-5/8) *nh283 *)

под заказ28460 руб. 
258130-ZY0-B92ZA

(последний код) PROPELLER COMP., FOUR BLA

2 шт35470 руб. 
387133-ZW9-S10

Маркировка, большое тяговое усилие (Mark, power thrust)

под заказпо запросу 

Время выполнения запроса 9.1897349357605 сек.

 
 

данный сайт носит информационный характер и не является публичной офертой

склад запчастей для водомоторной техники