вконтакте

Контактный телефон: +7 (981) 121-46-93, +7 (800) 200-90-76 , Email: parts-katalog@yandex.ru, где купить

 
 

  Логин:

Пароль:

Регистрация

www.partskatalog.ru Все каталоги Запчасти Mercury Запчасти Suzuki Запчасти Tohatsu Запчасти Honda Контакты

назад Раздел:   вперёд

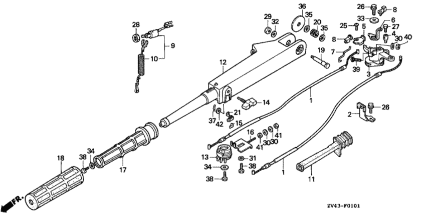
Модификация Вашего двигателя:   Honda BF15AK LCS
Модели с серийным номером двигателя от BAAE-1100001 до BAAE-1199999
Модели с серийным номером рамы от BAAL-1100001 до BAAL-1199999

Вернуться к выбору узлов мотора

   Румпель (bf9.9am / b / bf15am / b)
Steering Handle (bf9.9am / B / Bf15am / B)      


ДЕТАЛИРОВКА ДЛЯ МОДЕЛИ: HONDA BF15AK

Двигатель Хонда BF15AK - Румпель (bf9.9am / b / bf15am / b) - Steering Handle (bf9.9am / B / Bf15am / B)

Время выполнения запроса 0.15193200111389 сек.

 
 

данный сайт носит информационный характер и не является публичной офертой

склад запчастей для водомоторной техники