вконтакте

Контактный телефон: +7 (981) 121-46-93, +7 (800) 200-90-76 , Email: parts-katalog@yandex.ru, где купить

 
 

  Логин:

Пароль:

Регистрация

www.partskatalog.ru Все каталоги Запчасти Mercury Запчасти Suzuki Запчасти Tohatsu Запчасти Honda Контакты

назад Раздел:   вперёд

Модификация Вашего двигателя:   Honda BFP10B2 LHSG; Power Thrust
Модели с серийным номером двигателя от BEABJ-1000001 до BEABJ-1999999
Модели с серийным номером рамы от BADJ-1100001 до BADJ-9999999

Вернуться к выбору узлов мотора

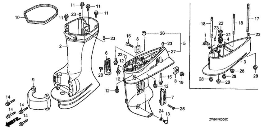
   Картер коробки передач / Удлинение корпуса
Gear Case / Extension Case      


ДЕТАЛИРОВКА ДЛЯ МОДЕЛИ: HONDA BFP10B2

Двигатель BFP10B2 - Gear Case / Extension Case / Картер коробки передач / Удлинение корпуса
Номер на
рисунке
АртикулНаименованиеКол-во
на складе
Цена
240201-ZW9-630ZA

Удлинитель копуса (l) *nh282mu * (Case, extension (l) *nh282mu *)

под заказ99490 руб. 
541100-ZW9-000ZA

Корпус "ноги" (s, l) *nh282mu * (Case comp., gear (s,l) *nh282mu *)

под заказ81550 руб. 
641104-ZV5-000

Экран для воды, правый (Screen, r. water)

под заказ1520 руб. 
741105-ZV5-000

Экран для воды, левый (Screen, l. water)

под заказ1400 руб. 
841106-ZW9-000

Металлический анод (Metal, anode)

2 шт1790 руб. 
950111-ZW9-000ZA

Кожух, установленный снизу *nh282mu * (Housing, lower mounting *nh282mu *)

под заказ8760 руб. 
1063702-ZW9-000

Резинка нижней части корпуса (Rubber, under cover)

под заказ1070 руб. 
1190008-ZW9-000

Фланцевый болт, 8x35 (Bolt, flange, 8x35)

под заказ900 руб. 
1290009-ZW9-000

Фланцевый болт, 6x23 (Bolt, flange, 6x23)

под заказ640 руб. 
1390101-ZW9-000

Болт контроля уровня масла (Bolt, oil check)

под заказ680 руб. 
1390101-ZW9-003

(последний код) BOLT, OIL CHECK

2 шт850 руб. 
1490105-ZW9-000

Фланцевый болт, 6x20 (Bolt, flange, 6x20)

2 шт640 руб. 
1590107-ZW9-000

Фланцевый болт, 6x75 (Bolt, flange, 6x75)

под заказ990 руб. 
1690113-ZV5-000

Болт под шестигранник., 6x25 (Bolt, hex., 6x25)

под заказ380 руб. 
1990205-PP9-020

Гайка с замком, 6 мм (Nut, self-lock, 6mm)

под заказ1360 руб. 
2090302-ZV4-000

Гайка с замком, 5 мм (Nut, self-lock, 5mm)

под заказ1270 руб. 
2390756-ZV5-000

Шпонка, 6x10 (Dowel pin, 6x10)

1 шт220 руб. 
2491301-216-000

Уплотнительное кольцо, 5.5x1.5 (O-ring, 5.5x1.5)

7 шт150 руб. 
2593700-050-284-J

Овальный винт, 5x28 (Screw, oval, 5x28)

под заказ330 руб. 
2691554-ZW9-003

Втулка ведущей шестерни (13x18x20) (Bush, pinion gear (13x18x20))

под заказ2630 руб. 

Время выполнения запроса 0.43091702461243 сек.

 
 

данный сайт носит информационный характер и не является публичной офертой

склад запчастей для водомоторной техники