вконтакте

Контактный телефон: +7 (981) 121-46-93, +7 (800) 200-90-76 , Email: parts-katalog@yandex.ru, где купить

 
 

  Логин:

Пароль:

Регистрация

www.partskatalog.ru Все каталоги Запчасти Mercury Запчасти Suzuki Запчасти Tohatsu Запчасти Honda Контакты



УВАЖАЕМЫЕ КЛИЕНТЫ!
C 19 ДЕКАБРЯ 2025 ПО 02 МАРТА 2026 ГОДА ОТДЕЛ ЗАПЧАСТЕЙ И СЕРВИС РАБОТАТЬ НЕ БУДУТ
ПРОДАЖА ЛОДОЧНЫХ МОТОРОВ В ШТАТНОМ РЕЖИМЕ
ОБ ИЗМЕНЕНИЯХ В ГРАФИКЕ РАБОТЫ ЧИТАЙТЕ НА САЙТА



назад Раздел:   вперёд

Модификация Вашего двигателя:   Honda BFP10D2 XHSE; Power Thrust
Модели с серийным номером двигателя от BEABJ-1000001 до BEABJ-1999999
Модели с серийным номером рамы от BABJ-1100001 до BABJ-1199999

Вернуться к выбору узлов мотора

   Наборы для ремонта водяного насоса
Pump Impeller Kit      


ДЕТАЛИРОВКА ДЛЯ МОДЕЛИ: HONDA BFP10D2

Подвесной fourstroke мотор HONDA BFP10D2 - Наборы для ремонта водяного насоса
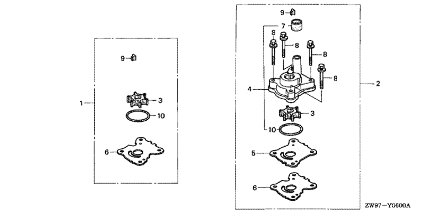
Номер на
рисунке
АртикулНаименованиеКол-во
на складе
Цена
106192-ZW9-A30

Ремкомплект водяной помпы (Pump kit, impeller)

под заказ3960 руб. 
206193-ZW9-A30

Ремкомплект водяной помпы (Pump kit, impeller)

под заказпо запросу 
319210-ZW9-A32

Крыльчатка водяной помпы (ul) (Impeller, pump (ul))

11 шт2940 руб. 
3RTT-19210-ZW9-A32

   (не оригинальный аналог) Крыльчатка RTT-19210-ZW9-A32

1 шт540 руб.
3SK19210-ZW9-A32

   (не оригинальный аналог) Крыльчатка Skipper для Honda BF15D-20D Standard

1 шт605 руб.
3T-500348

   (не оригинальный аналог) Крыльчатка помпы охлаждения двигателя Honda 500348 (CEF)

под заказ2290 руб.
3T-19210-ZW9-A32

   (не оригинальный аналог) Крыльчатка помпы охлаждения двигателя Honda 19210-ZW9-A32 (MIZASHI)

под заказ1000 руб.
3T-SC-WT148

   (не оригинальный аналог) Крыльчатка помпы охлаждения двигателя Honda SC-WT148 (MIZASHI)

под заказ1020 руб.
419215-ZW9-000

Корпус крыльчатки, в сборе (Housing assy., impeller)

под заказ9370 руб. 
419215-ZW9-020

(последний код) HOUSING ASSY., IMPELLER

под заказ9370 руб. 
519231-ZW9-000

Колпак крыльчатки (Cover, impeller)

3 шт1530 руб. 
619232-ZW9-000

Прокладка крыльчатки (Gasket, impeller)

4 шт350 руб. 
719253-ZW9-000

Кольцо сальника водяной трубки (Ring, water tube seal)

3 шт690 руб. 
890122-ZW9-000

Болт с шайбой, 6x90 (Bolt-washer, 6x90)

под заказ790 руб. 
990752-ZW9-A30

Ключ, woodruff (Key, woodruff)

8 шт500 руб. 
1091301-ZG3-000

Уплотнительное кольцо, 42.2x2.4 (O-ring, 42.2x2.4)

18 шт320 руб. 

Время выполнения запроса 0.45706701278687 сек.

 
 

данный сайт носит информационный характер и не является публичной офертой

склад запчастей для водомоторной техники