вконтакте

Контактный телефон: +7 (981) 121-46-93, +7 (800) 200-90-76 , Email: parts-katalog@yandex.ru, где купить

 
 

  Логин:

Пароль:

Регистрация

www.partskatalog.ru Все каталоги Запчасти Mercury Запчасти Suzuki Запчасти Tohatsu Запчасти Honda Контакты



УВАЖАЕМЫЕ КЛИЕНТЫ!
C 19 ДЕКАБРЯ 2025 ПО 02 МАРТА 2026 ГОДА ОТДЕЛ ЗАПЧАСТЕЙ И СЕРВИС РАБОТАТЬ НЕ БУДУТ
ПРОДАЖА ЛОДОЧНЫХ МОТОРОВ В ШТАТНОМ РЕЖИМЕ
ОБ ИЗМЕНЕНИЯХ В ГРАФИКЕ РАБОТЫ ЧИТАЙТЕ НА САЙТА



назад Раздел:   вперёд

Модификация Вашего двигателя:   Honda BF10B2 SG
Модели с серийным номером двигателя от BEABJ-1000001 до BEABJ-1999999
Модели с серийным номером рамы от BADJ-1100001 до BADJ-9999999

Вернуться к выбору узлов мотора

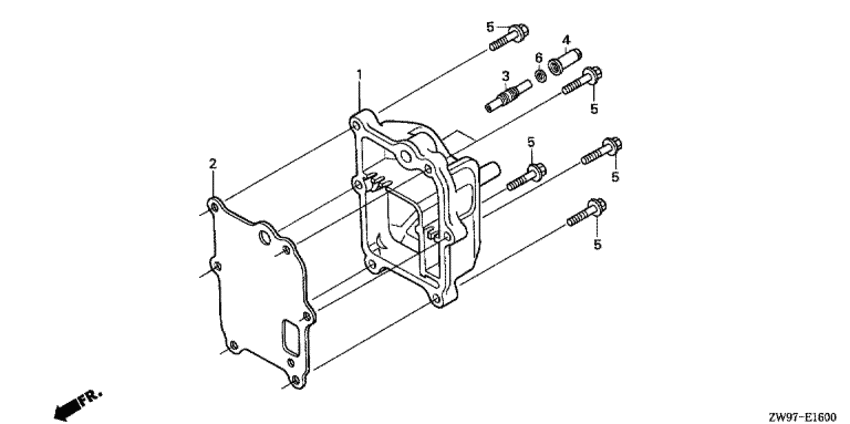
   Крышка выхлопной камеры
Exhaust Chamber Cover      


ДЕТАЛИРОВКА ДЛЯ МОДЕЛИ: HONDA BF10B2

Подвесной четырёх тактный лодочный мотор Honda BF10B2 - Крышка выхлопной камеры / Exhaust Chamber Cover
Номер на
рисунке
АртикулНаименованиеКол-во
на складе
Цена
118231-ZW9-620

Крышка выхлопной камеры (Cover, ex. chamber)

под заказпо запросу 
218233-ZW9-003

Прокладка выхлопной камеры (Gasket, ex. chamber)

4 шт1830 руб. 
318455-ZV5-680

Pipe, sampling probe (Pipe, sampling probe)

под заказпо запросу 
418458-881-C40

Колпачок контрольного датчика (Cap, sampling probe)

под заказ4500 руб. 
590009-ZW9-000

Фланцевый болт, 6x23 (Bolt, flange, 6x23)

под заказ640 руб. 
690441-035-000

Шайба уплотнения, 14 мм (Washer, sealing, 14mm)

под заказ190 руб. 

Время выполнения запроса 6.0005929470062 сек.

 
 

данный сайт носит информационный характер и не является публичной офертой

склад запчастей для водомоторной техники