вконтакте

Контактный телефон: +7 (981) 121-46-93, +7 (800) 200-90-76 , Email: parts-katalog@yandex.ru, где купить

 
 

  Логин:

Пароль:

Регистрация

www.partskatalog.ru Все каталоги Запчасти Mercury Запчасти Suzuki Запчасти Tohatsu Запчасти Honda Контакты

назад Раздел:   вперёд

Модификация Вашего двигателя:   Honda BF10B2 SHG
Модели с серийным номером двигателя от BEABJ-1000001 до BEABJ-1999999
Модели с серийным номером рамы от BADJ-1100001 до BADJ-9999999

Вернуться к выбору узлов мотора

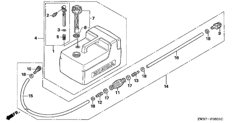
   Топливный бак (пластиковый)
Fuel Tank (plastics)      


ДЕТАЛИРОВКА ДЛЯ МОДЕЛИ: HONDA BF10B2

Подвесной  лодочный двигатель BF10B2 - Fuel Tank (plastics) - Топливный бак (пластиковый)
Номер на
рисунке
АртикулНаименованиеКол-во
на складе
Цена
116900-ZV4-A22

Соеденитель топливного бака, в сборе (Joint assy., fuel)

под заказ8700 руб. 
216977-ZV5-A00

Фитинг для быстрого отключения (Fitting, quick disconnect)

2 шт5520 руб. 
316979-ZV5-901

Уплотнительное кольцо (O-ring)

под заказ380 руб. 
417500-ZV4-A23

Топливный бак, в сборе (Tank assy., fuel)

под заказ17160 руб. 
417500-ZZ5-013

(последний код) TANK ASSY,FUEL 12

под заказ25890 руб. 
517583-ZV5-901

Топливный фильтр (Filter, fuel)

1 шт1570 руб. 
717620-ZV4-A22

Крышка топливного фильтра (Cap comp., fuel filler)

под заказ8280 руб. 
717620-ZV4-A23

(последний код) CAP COMP., FUEL FILLER

под заказ8280 руб. 
817624-ZV5-902

Прокладка крышки бака (Packing, fuel cap)

под заказ1520 руб. 
917650-ZW9-013

Топливный коннектор, в сборе (a) (Connector assy., fuel (a))

под заказ5330 руб. 
917650-ZW9-023

(последний код) CONNECTOR ASSY., FUEL (A)

4 шт5330 руб. 
9RTT-17650-ZW9-013

   (не оригинальный аналог) Топливный коннектор RTT-17650-ZW9-013

1 шт950 руб.
1017660-ZW9-003

Коннектор топливного бака (Connector comp., fuel)

под заказ6730 руб. 
1117661-921-010

Груша для подкачки топлива (Bulb, primer)

под заказ2990 руб. 
1217665-ZV5-000

Внутренний клапан (Valve comp., in.)

под заказ3190 руб. 
1317680-ZV4-000

Наружный клапан (Valve comp., outlet)

под заказ2800 руб. 
1417700-ZW9-020

Трубка для подключения топливного бака, в сборе (Tube assy., fuel)

под заказ14840 руб. 
1417700-ZW9-030

(последний код) TUBE ASSY., FUEL

под заказ14840 руб. 
1517701-ZV5-000

Длинная топливная трубка (7.3x2000) (Tube, fuel long (7.3x2000))

под заказ4740 руб. 
1617702-ZV4-000

Короткая топливная трубка (6.3x500) (Tube, fuel short (6.3x500))

под заказ870 руб. 
1717703-921-010

Зажимной ремешек трубки, 20 мм (Band, tube clip, 20mm)

под заказ580 руб. 
1817704-ZV4-010

Зажимной ремешек трубки, 12.5 мм (Band, tube clip, 12.5mm)

под заказ320 руб. 

Время выполнения запроса 0.51438403129578 сек.

 
 

данный сайт носит информационный характер и не является публичной офертой

склад запчастей для водомоторной техники