вконтакте

Контактный телефон: +7 (981) 121-46-93, +7 (800) 200-90-76 , Email: parts-katalog@yandex.ru, где купить

 
 

  Логин:

Пароль:

Регистрация

www.partskatalog.ru Все каталоги Запчасти Mercury Запчасти Suzuki Запчасти Tohatsu Запчасти Honda Контакты



УВАЖАЕМЫЕ КЛИЕНТЫ!
C 19 ДЕКАБРЯ 2025 ПО 02 МАРТА 2026 ГОДА ОТДЕЛ ЗАПЧАСТЕЙ И СЕРВИС РАБОТАТЬ НЕ БУДУТ
ПРОДАЖА ЛОДОЧНЫХ МОТОРОВ В ШТАТНОМ РЕЖИМЕ
ОБ ИЗМЕНЕНИЯХ В ГРАФИКЕ РАБОТЫ ЧИТАЙТЕ НА САЙТА



назад Раздел:   вперёд

Модификация Вашего двигателя:   Honda BF10D2 LHSD
Модели с серийным номером двигателя от BEABJ-1000001 до BEABJ-
Модели с серийным номером рамы от BABJ-1100001 до BABJ-

Вернуться к выбору узлов мотора

   Наклейки
Label      


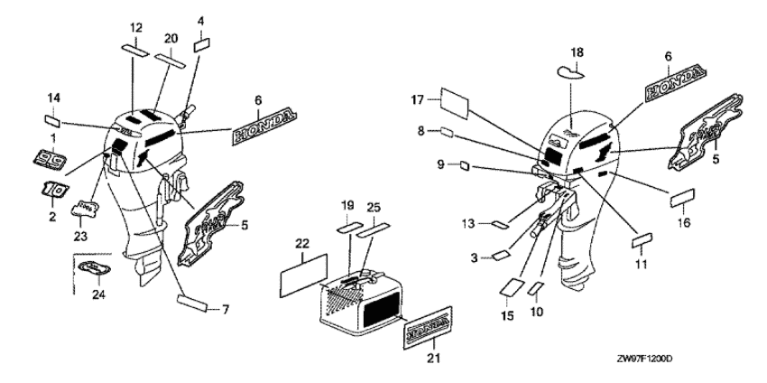
ДЕТАЛИРОВКА ДЛЯ МОДЕЛИ: HONDA BF10D2

Подвесной  мотор BF10D2 - Наклейки / Label
Номер на
рисунке
АртикулНаименованиеКол-во
на складе
Цена
287121-ZW9-S10

Маркировка - мощность двигателя. (10) (Mark, rr. (10))

под заказ1760 руб. 
387124-ZW6-000

Маркировка - индикация аварийного останова (Mark, emergency switch indication)

под заказпо запросу 
487125-ZW9-000

Маркировка - стартер (Mark, starter)

под заказ670 руб. 
587131-ZW9-S00

Маркировка сбоку (Mark, side)

2 шт1760 руб. 
687132-ZW9-S00

Маркировка - полоса сбоку (honda) (Mark, side stripe (honda))

2 шт1330 руб. 
887135-ZW5-000

Маркировка (e-spec) (Mark (e-spec))

2 шт400 руб. 
987227-ZV7-000

Маркировка - давление масла (Mark, oil pressure)

под заказ740 руб. 
1087511-ZW9-620

Маркировка - замена (english / french) (Mark, change (english/french))

под заказ610 руб. 
1287516-VA9-B50

Маркировка - пользоваться осторожно (Mark, operator caution)

под заказ840 руб. 
1387516-ZV4-A10

Маркировка - пользоваться осторожно (Mark, operator caution)

под заказ580 руб. 
1487531-ZW9-620

Наклейка, осторожно масло (Label, oil caution)

под заказ680 руб. 
1587532-ZW9-620

Маркировка - управление дросселем (english / french) (Mark, throttle (english/french))

под заказ610 руб. 
1787538-ZW1-720

Этикетка - предупреждение пользователя (ec) (Label, warning operator (ec))

под заказ1980 руб. 
1787538-ZW1-721

(последний код) LABEL, WARNING OPERATOR (

под заказ1980 руб. 
1887546-ZW9-620

Маркировка - аварийный запуск (french) (Mark, emergency starter (french))

под заказ1110 руб. 
1987571-881-671

Маркировка: осторожно, топливный бак (english / french) (Mark, tank caution (english/french))

под заказпо запросу 
2187573-881-670

Маркировка - бак (english) (Mark, tank (english))

под заказпо запросу 
2187573-881-671

Маркировка - бак (english) (Mark, tank (english))

под заказпо запросу 
2287574-881-670

Маркировка - бак (french) (Mark, tank (french))

под заказпо запросу 
2287574-881-671

Маркировка - бак (french) (Mark, tank (french))

под заказпо запросу 
2387634-ZW4-D20

Маркировка - окружающая среда (epa 2006) (Mark, environment (epa 2006))

под заказ1870 руб. 
2387634-ZW4-H10

Маркировка - окружающая среда (2006 epa стандарт) (Mark, environment (2006 epa standard))

под заказ1870 руб. 
2487634-ZW4-H11

Маркировка - окружающая среда (ультра низкая эмиссия) (3-star) (Mark, environment (ultra low emission) (3-star))

под заказ1980 руб. 
387124-ZW6-U80

Маркировка - индикация аварийного останова (eu) (Mark, emergency switch indication (eu))

под заказ280 руб. 

Время выполнения запроса 0.7155590057373 сек.

 
 

данный сайт носит информационный характер и не является публичной офертой

склад запчастей для водомоторной техники