вконтакте

Контактный телефон: +7 (981) 121-46-93, +7 (800) 200-90-76 , Email: parts-katalog@yandex.ru, где купить

 
 

  Логин:

Пароль:

Регистрация

www.partskatalog.ru Все каталоги Запчасти Mercury Запчасти Suzuki Запчасти Tohatsu Запчасти Honda Контакты

назад Раздел:   вперёд

Модификация Вашего двигателя:   Honda BF100F SC
Модели с серийным номером двигателя от B100S-1700001 до B100S-1799999
Модели с серийным номером рамы от B100S-1700001 до B100S-1799999

Вернуться к выбору узлов мотора

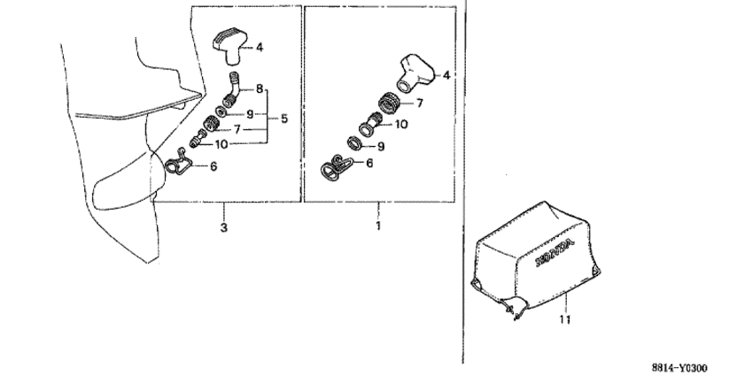
   Монтажный комплект, водяной / Чехол двигателя
Water Mouth / Body Cover      


ДЕТАЛИРОВКА ДЛЯ МОДЕЛИ: HONDA BF100F

Подвесной четырёх-тактный лодочный двигатель BF100F - Water Mouth / Body Cover - Монтажный комплект, водяной / Чехол двигателя
Номер на
рисунке
АртикулНаименованиеКол-во
на складе
Цена
319010-935-810

Монтажный комплект, водяной (Mouth set, water)

под заказ3940 руб. 
419262-921-810

Mouth, water (Mouth, water)

под заказпо запросу 
519263-881-811

Joint в сборе., Шланг (Joint assy., hose)

под заказпо запросу 
619265-921-810

Зажим, Монтажный комплект, водяной (Clip, water mouth)

под заказпо запросу 
719270-881-812

Гайка, ввод воды (Nut, water mouth)

под заказ2440 руб. 
819271-881-811

Joint, Монтажный комплект, водяной (Joint, water mouth)

под заказ1490 руб. 
919272-881-810

Гнездо, ввод воды (Seat, water mouth)

под заказ440 руб. 
1019273-881-810

Joint, Шланг (Joint, hose)

под заказпо запросу 
1163311-881-000

Чехол двигателя (Cover, body)

под заказпо запросу 

Время выполнения запроса 0.26877689361572 сек.

 
 

данный сайт носит информационный характер и не является публичной офертой

склад запчастей для водомоторной техники